夹紧力作用点的确定(图文教程)

夹紧力作用点的确定选择作用点的问题是指在夹紧方向已定的情况下,确定夹紧力作用点的位置和数目。应依据以下原则:

(1)  夹紧力作用点应落在支承元件上或几个支承元件所形成的支承面内。

如图1(a),夹紧力作用在支承面范围之外,会使工件倾斜或移动,而图(b)则是合理的。

(2)  夹紧力作用点应落在工件刚性好的部位上。

如图3-31所示,将作用在壳体中部的单点改成在工件外缘处的两点夹紧,工件的变形大

夹紧力作用点的确定(图文教程),夹紧力作用点的确定,确定,教程,第1张夹紧力作用点的确定(图文教程),夹紧力作用点的确定,确定,教程,第2张

图1

为改善,且夹紧也更可靠。该原则对刚度差的工件尤其重要。

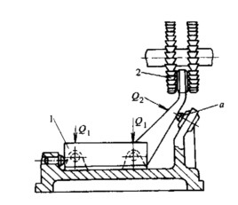
(3) 夹紧力作用点应尽可能靠近被加工表面,以减小切削力对工件造成的翻转力矩。

必要时应在工件刚性差的部位增加辅助支承并施加夹紧力,以免振动和变形。如图3-32所示,支承a尽量靠近被加工表面,同时给予夹紧力Q2。这样翻转力矩小又增加了工件的刚性,既保证了定位夹紧的可靠性,又减小了振动和变形。  

夹紧力作用点的确定(图文教程),夹紧力作用点的确定,确定,教程,第3张 

图2  夹紧力作用点应靠近加工表面

免责声明:
1;所有标注为智造资料网zl.fbzzw.cn的内容均为本站所有,版权均属本站所有,若您需要引用、转载,必须注明来源及原文链接即可,如涉及大面积转载,请来信告知,获取《授权协议》。
2;本网站图片,文字之类版权申明,因为网站可以由注册用户自行上传图片或文字,本网站无法鉴别所上传图片或文字的知识版权,如果侵犯,请及时通知我们,本网站将在第一时间及时删除,相关侵权责任均由相应上传用户自行承担。
[complaint:内容投诉]
智造资料网打造智能制造3D图纸下载,在线视频,软件下载,在线问答综合平台 » 夹紧力作用点的确定(图文教程)