一、机头结构形式
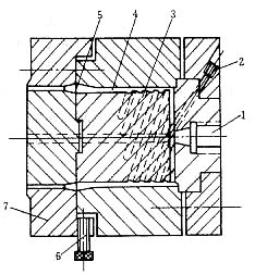
芯棒式机头

图8-26 芯棒式机头
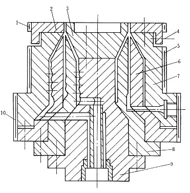
中心进料的十字机头
图8-27 中心进料的十字机头
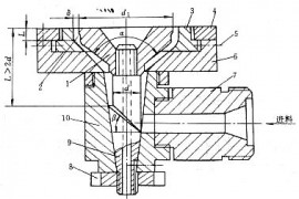
螺旋式机头
图8-28螺旋式机头
共挤出机头
图8-29 共挤出机头
二、机头零件工艺参数设计1、口模与芯棒的单边间隙;
2、口模定型段长度;
3、吹胀比、牵引比和压缩比;
4、缓冲槽尺寸;
5、芯棒扩张角与分流线斜角。
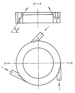
三、吹塑薄膜的冷却定型吹塑薄膜的冷却定型的风环

图8-30 吹塑薄膜的冷却定型的风环
该文章所属专题:塑料模具设计教程
免责声明:
1;所有标注为智造资料网zl.fbzzw.cn的内容均为本站所有,版权均属本站所有,若您需要引用、转载,必须注明来源及原文链接即可,如涉及大面积转载,请来信告知,获取《授权协议》。
2;本网站图片,文字之类版权申明,因为网站可以由注册用户自行上传图片或文字,本网站无法鉴别所上传图片或文字的知识版权,如果侵犯,请及时通知我们,本网站将在第一时间及时删除,相关侵权责任均由相应上传用户自行承担。
[complaint:内容投诉]
智造资料网打造智能制造3D图纸下载,在线视频,软件下载,在线问答综合平台 » 塑料模具设计教程_8-7薄膜挤出吹塑成型机头(图文教程)
1;所有标注为智造资料网zl.fbzzw.cn的内容均为本站所有,版权均属本站所有,若您需要引用、转载,必须注明来源及原文链接即可,如涉及大面积转载,请来信告知,获取《授权协议》。
2;本网站图片,文字之类版权申明,因为网站可以由注册用户自行上传图片或文字,本网站无法鉴别所上传图片或文字的知识版权,如果侵犯,请及时通知我们,本网站将在第一时间及时删除,相关侵权责任均由相应上传用户自行承担。
[complaint:内容投诉]
智造资料网打造智能制造3D图纸下载,在线视频,软件下载,在线问答综合平台 » 塑料模具设计教程_8-7薄膜挤出吹塑成型机头(图文教程)

