7-4-1 压注模浇注系统设计
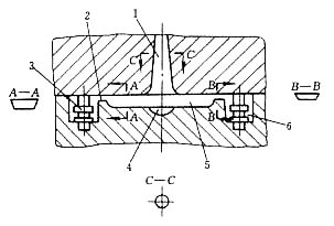
压注模浇注系统与注射模浇注系统是相似的,也是由主流道、分流道及浇口等几部分组成,它的作用与设计与注射模浇注系统基本相同,但二者也有不同之处。在注射模成型过程中,我们希望熔体与流道的热交换越少越好,压力损失要少;但在压注模成型过程中,为了使塑料在型腔中的硬化速度加快,反而希望塑料与流道有一定的热交换,使塑料熔体的温度升高,进一步塑化,以理想的状态进入型腔。图7-11所示为压注模的典型浇注系统。

图7-11 压注模浇注系统
l-主流道;2-浇口;3-嵌件;4-冷料井;5-分流道;6-型腔
在设计浇注系统时应注意以下几点:
(1)浇注系统的流道应光滑、平直,减少弯折,流道总长度要满足塑料流动性的要求。
(2)主流道应位于模具的压力中心,保证型腔受力均匀,多型腔的模具要对称布置。
(3)在设计分流道时,要有利于塑料的加热,增大摩擦热,使塑料升温。
(4)浇口的设计应使塑件美观,余料清除方便。
1. 主流道的设计
主流道的截面形状一般为圆形,有正圆锥形主流道、倒圆锥形主流道及带分流锥的主流道等三种形式,如图7-12所示。

图7-12 压注模主流道的结构形式
图7-12a所示为正圆锥形主流道,其对面可设置拉料钩,将主流道凝料拉出。由于热固性塑料塑性差,截面尺寸不宜太小,否则会使料流的阻力增大,不易充满型腔,造成欠压。正圆锥形主流道有6o~10o的锥度,与分流道的连接处应有半径为3mm以上的过渡圆弧,常用于多型腔模具,有时也设计成直接浇口的形式,用于流动性较差的塑料。图7-12b所示为倒锥形主流道,常与端面带楔形槽的压柱配合使用。开模时,主流道与加料室中的残余废料可由压柱带出,对主流道的清理很方便。这种结构一般用于固定式罐式压注模,既可用于一模多腔,又可用于单型腔模具或同一塑件有几个浇口的模具,当主流道穿过两块以上的模板时,应设置浇口套,以避免发生溢料现象,如图7-1中的4所示。图7-12c所示为带有分流锥的主流道。当塑件较大或型腔距模具中心较远时,为了缩短流道的长度、减小塑料层的厚度及节约原料,常在主流道内设置分流锥,分流锥的形状及尺寸根据塑件尺寸及型腔分布而定。型腔沿圆周分布时,分流锥可用圆锥体;当型腔按两排或矩形分布时,分流锥可做成矩形截锥形。分流锥与流道的间隙一般为1~1.5mm。流道可以分布在分流锥表面,也可以在分流锥上开槽形成流道。
2. 分流道的设计
压注模分流道的结构如图7-13所示,比注射模的分流道浅而宽,一般小型塑件分流道深度取2~4mm,大型塑件分流道深度取4~6mm,最浅应不小于2mm,如果分流道过浅会使塑料提前硬化,流动性降低,所以分流道的宽度应取其深度的1.5~2倍。常用的分流道截面为梯形或半圆形。其中压注模梯形截面分流道截面积应取浇口截面积的5~10倍。分流道多采用平衡式布置,流道应光滑、平直,尽量避免弯折。

图7-13 压注模梯形分流道结构形式
3. 浇口的设计
浇口是浇注系统中的重要组成部分,它与型腔直接接触,对塑料能否顺利地充满型腔、塑件质量以及熔料的流动状态有很重要的影响,因此,浇口设计应根据塑料的特性、塑件质量要求及模具结构等多方面的因素来考虑。
(1)浇口的形式
压注模的浇口与注射模基本相同,可以参照注射模的浇口进行设计。但热固性塑料的流动性较差,所以设汁压注模浇口时应取较大的截面尺寸。压注模浇口有圆形点浇口、侧浇口、扇形浇口、环形浇口以及轮辐式浇口等几种形式,如图7-14所示。图7-14a、b、c、d为侧浇口;图7-14e为扇形浇口,图7-14f、g为环形浇口。图7-14a所示为外侧进料的侧浇口,是侧浇口中最常用的形式;图7-14b所示的塑件外表面不允许有浇口痕迹,所以采用端面进料的方式;图7-14c所示的结构可保证浇口折断后,断痕不会伸出表面,不影响装配,可降低修浇口的费用;如果塑件用碎布或长纤维做填料,侧浇口则应开设在附加于侧壁的凸台上,这样在去除浇口时就不会损坏塑件表面,如图7-14d所示;对于宽度较大的塑件可采用扇形浇口,如图7-14e所示。

图7-14 压注模浇口形式
(2)浇口的尺寸
浇口截面形状有圆形、半圆形及梯形等三种形式。圆形浇口加工比较困难,导热性不好,去除时不方便,因此圆形浇口只适用于流动性较差的塑料,浇口直径一般大于3mm;半圆形浇口的导热性比圆形好,机械加工方便,但流动阻力较大,浇口较厚;梯形浇口的导热性好,机械加工方便,是最常用的浇口形式。
一般梯形浇口的深度取0.5~0.7mm,宽度不大于8mm。如果浇口过薄、太小,压力损失就会较大,使硬化提前,造成填充成型性不好;如果浇口过厚、过大则会使流速降低,易产生熔接不良、表面质量不佳等缺陷并使去除浇道困难。适当增厚浇口则有利于保压补料,排除气体,降低塑件表面粗糙度及熔接质量,所以,浇口尺寸应按塑料性能、塑件形状、尺寸、壁厚和浇口形式以及流程等因素,根据经验来确定。实际设计时一般应取较小值,经试模后再修正到适当尺寸。
梯形截面浇口的常用宽、厚比例尺寸参见表7-3。
表7-3 梯形截面浇口的宽、厚比例尺寸
浇口截面积/mm2 | 2.5 | 2.5~3.5 | 3.5~5.0 | 5.0~6.0 | 6.0~8.0 | 8.0~10 | 10~15 | 15~20 |
宽×厚/mm | 5×0.5 | 5×0.7 | 7×0.7 | 6×1 | 8×1 | 10×1 | 10×1.5 | 10×2 |
(3)浇口位置的选择
浇口位置的选择是由塑件的形状来决定的,选择浇口位置时应遵循下面的几项原则:
1)由于热固性塑料流动性较差,为了减小流动阻力,有助于补缩,浇口应开设在塑件壁厚最大处。
2)塑料在型腔内的最大流动距离不宜过长,对大型塑件应多开设几个浇口以减小流动距离,浇口间距一般不大于120~140mm。
3)热固性塑料在流动中会产生填料定向作用,造成塑件变形、翘曲甚至开裂,特别是长纤维填充的塑件,定向作用更为严重,应特别注意浇口位置的选择。
4)浇口应开设在塑件的非重要表面,不影响塑件的使用及美观。
该文章所属专题:塑料模具设计教程
7-4-2 排气槽和溢料槽的设计
1. 排气槽设计
在压注成型时,由于热固性塑料发生化学交联反应会产生一定数量的气体和挥发性物质,这些气体和挥发性物质与型腔内原有的气体都需要排除。通常是利用模具零件间的配合间隙及分型面之间的间隙进行排气,当不能满足要求时,必须开设排气槽。
排气槽应尽量设置在分型面上或型腔的最后填充处,也可设在料流汇合处或有利于清理飞边及有利于排出气体的地方。
排气槽的截面形状一般为矩形或梯形。对于中小型塑件,分型面上的排气槽尺寸深度取0.04~0.13mm,宽度取3~5mm,具体的位置及深度尺寸一般须经试模后才能确定。
排气槽的截面积也可按以下经验公式计算:
A =
(7-9)
式中 A——排气槽截面积,mm2;
VS——塑件体积,mm3;
n——排气槽数量。
2. 溢料槽设计
成型时,为了避免嵌件或配合孔中渗入更多的塑料,防止塑件产生熔接痕迹,或者为了防止多余塑料的溢出,都需要在产生接缝处或适当的位置开设溢料槽。
溢料槽的截面尺寸,一般宽度取3~4mm,深度取0.1~0.2mm。加工时,深度先取小一些,经试模后再修正。溢料槽尺寸过大,会使溢料量过多、塑件组织疏松或缺料;而溢流槽尺寸过小,则会产生溢料不足。
该文章所属专题:塑料模具设计教程
1;所有标注为智造资料网zl.fbzzw.cn的内容均为本站所有,版权均属本站所有,若您需要引用、转载,必须注明来源及原文链接即可,如涉及大面积转载,请来信告知,获取《授权协议》。
2;本网站图片,文字之类版权申明,因为网站可以由注册用户自行上传图片或文字,本网站无法鉴别所上传图片或文字的知识版权,如果侵犯,请及时通知我们,本网站将在第一时间及时删除,相关侵权责任均由相应上传用户自行承担。
[complaint:内容投诉]
智造资料网打造智能制造3D图纸下载,在线视频,软件下载,在线问答综合平台 » 塑料模具设计教程_7-4压注模浇注系统与排气槽的设计(图文教程) ...

