把注射成型后的塑件及浇注系统凝料从模具中脱出的机构称为推出机构,推出机构的动作通常是由安装在注射机上的顶杆或液压缸来完成的。推出机构的设计是注射模设计的一个十分重要的环节,直接影响到成型塑件的质量。在学习中应注意分析各种典型推出机构的结构组成形式以及在开合模过程中推出机构各零部件的作用。
5-6-1 推出机构组成及分类
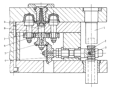
一 推出机构的组成
推出机构一般由推出元件、复位元件和导向元件三大部件组成。
下面以图5-6-1所示的模具来说明推出机构的结构组成。

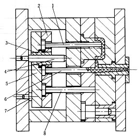
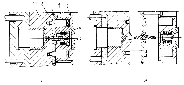
图5-6-1 推出机构
1—推件杆;2—推件杆固定板;3—推板导套;4—推板导柱;5—推板;6—拉料杆;7—支承钉;
8—复位杆;
与塑料直接接触并能将塑件从模具型腔中或型芯上脱出的元件,称为推出元件。推出元件由推件杆1、拉料杆6等组成,它们固定在推件杆固定板2上。为了推出时推件杆有效地工作,在推件杆固定板后需设置推板5,两者之间用螺钉联接。
使推出机构在下一次注射前能够复位的零件,称为复位元件,主要零件是复位杆。复位杆8固定在推杆固定板2上,推出机构工作时复位杆8也跟随推出,合模时,动模部分向前移动,当复位杆8伸出的端部与定模板接触时,带动推出机构运动并完成复位,准备下一次注射。
为保证推出机构的推出和复位动作能灵活、顺畅地进行,中、大型模具或推杆很多的模具,通常要设置推出机构的导向装置,即图5-6-1中的推板导柱4和推板导套3。有的模具还设有支承钉,即图中支承钉7。支承钉可使推板与动模座板间形成间隙,有利于废料、杂物的去除,另外还可以通过支承钉厚度尺寸来调整推杆工作端的装配位置,以减小动模座板厚度的机加工精度。
二 推出机构的分类
1. 按推出的动力来源分类
推出机构按推出的动力来源可分为手动推出、机动推出和液压推出等三类。
(1)手动推出
手动推出是指模具开模后,由人工操作的推出机构推出塑件,它可分为模内手工推出和模外手工推出两种。其中模内手工推出机构常用于塑件滞留在定模一侧的情况。
(2)机动推出
机动推出是利用开模动作,依靠注射机上的顶杆推动推出机构,实现塑件自动脱模。
(3)液压推出
液压推出是利用注射机上设置的专用液压缸,在开模时由液压缸的活塞杆推动推出机构,将塑件从动模上自动推出。
2. 按推出元件的类别分类
按推出元件的类别可分为推杆推出、推件板推出、推管推出等。
3. 按模具的结构特征分类
按模具的结构特征可分为简单推出机构和复杂推出机构。推杆、推管、推件板推出机构均属于简单推出机构;定模推出机构、二次推出机构、浇注系统推出机构、带螺纹的推出机构、多次分型推出机构等属于复杂推出机构。
三 推出机构的设计要求
1. 推出机构应尽量设计在动模一侧
由于推出机构的动作是通过注射机的动模一侧的顶杆或液压缸来驱动的,所以,在一般情况下,模具的推出机构应尽量设计在动模一侧。因此,在考虑塑件在模具中的位置和分型面的选择时,应尽量能使模具分型后塑件留在动模一侧,方便推出机构的设计。
2. 塑件在推出过程中不发生变形和损坏
为了使塑件在推出过程中不发生变形和损坏,设计模具时应仔细进行塑件对模具包紧力和粘附力的分析计算,合理地选择推出方式、推出位置和推出元件的数量等。
3. 不损坏塑件的外观
对于外观质量要求较高的塑件,尽量不选择塑件表面作为推出位置,推出塑件的位置尽量设在塑件内部。对于塑件内外表面均不允许存在推出痕迹时,应改变推出机构的形式或设置专为推出使用的工艺塑料块,在推出后再与塑件分离。
4. 合模时应使推出机构正确复位
设计推出机构时,应考虑合模时推出机构的复位,在斜销等侧向抽芯及其它特殊的情况下,还应考虑推出机构的先复位问题。
5. 推出机构应动作可靠
推出机构在推出与复位的过程中,动作应可靠、灵活,结构应尽量简单,容易制造。
该文章所属专题:塑料模具设计教程
5-6-2 推出力的计算
塑件注射成型后,在模内冷却定形,由于体积收缩,对型芯产生包紧力,当其从模具中推出时,就必须先克服因包紧力而产生的磨擦力。对于底部无孔的筒、壳类塑件,脱模推出时还要克服大气压力。型芯的成型端部,一般均要设计脱模斜度。塑件在刚开始脱模时,所需的脱模力最大,其后推出力的作用仅仅是为了克服推出机构移动的磨擦力。

图5-6-2 型芯受力分析
图5-6-2所示为塑件在脱模时型芯的受力分析图。由于推出力Ft的作用,使塑件对型芯的总压力(塑件收缩引起)降低了Ftsinα,因此,推出时的磨擦力Fm为:
(5-6-1)
式中 Fm——脱模时型芯受到的磨擦阻力;
Fb——塑件对型芯的包紧力;
F——脱模力(推出力);
α——脱模斜度;
μ——塑件对钢的磨擦系数,一般为0.1~0.3。
根据力平衡的原理,列出平衡方程:
![]()
故:
(5-6-2)
由式(5-6-1)和式(5-6-2)经整理后,得:
(5-6-3)
因磨擦系数μ相对较小,sinα更小,cosα也小于1,故可忽略μcosαsinα,式(5-6-3)可简化为:
![]()
(5-6-4)
式中 A——塑件包络型芯的面积;
P——塑件对型芯单位面积上的包紧力,一般情况下,模外冷却的塑件,p取(2.4~3.9)×107Pa;模内冷却的塑件,p取(2.4~3.9)×107Pa。
由于图5-6-2所示为底部无孔的塑件,脱模时还需考虑克服大气压力,即:
(5-6-5)
式中 F0——底部无孔的塑件脱模推出时需克服的大气压力,其大小为大气压力与被包络塑件端部面积的乘积。
从式(5-6-4)可以看出,脱模力的大小随着塑件包紧型芯的面积增加而增大,随着脱模斜度增大而减小,同时也和塑料与钢之间的磨擦系数有关。实际上,影响脱模力因素很多,塑件所用的塑料品种、塑件结构、型芯的表面粗糙度、成型的工艺条件、大气压力及推出机构本身在推出运动时的磨擦阻力等都会影响脱模力的大小。另外,同一模腔中在几个凸起或几个凹下之间由于冷却时塑料收缩而造成的脱模力,以及塑件与模具型腔之间的粘附力在脱模力计算过程中有时也不能忽略。
该文章所属专题:塑料模具设计教程
5-6-3 推出机构的导向与复位
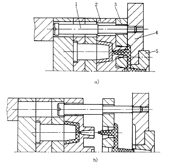
一 推出机构的导向通常有导柱和推板导套组成。起导向和支承作用。
结构形式有:导柱固定在单端和导柱在双端固定。

图5-6-3 推出机构的导向装置
二 推出机构的复位推出机构在开模推出塑件后,还要为下一次的注射成型做好准备,因此必须考虑推出机构的复位。
使推出机构复位最简单常用的方法是在推杆固定板上安装复位杆,如图5-6-1中的复位杆8。复位杆的截面为圆形,每副模具一般设置4根,应对称设在推杆固定板的四周,以便推出机构在合模时受力均衡而复位平稳。复位杆在装配后其端面应与动模分型面齐,推出机构推出后,复位杆便高出分型面一定距离。合模时,复位杆先于推杆与定模分型面接触,使推出机构回复到原来的位置,这种结构中的合模和复位是同时完成的。
在推件板推出的机构中,推杆端面与推件板接触,可起到复位作用,故在推件板推出机构中,推杆既可用来推出塑件,又可兼作复位杆。兼作复位杆的推杆,也应尽量分布在推杆固定板的四周,以便复位能平稳地进行。
另一种常用的推出机构复位装置为弹簧复位,是利用压缩弹簧的弹力使推出机构复位,其复位动作先于合模动作完成。如图5-6-12a中,在活动镶件后端设置推杆时,为了在合模前安放活动镶件,采用了弹簧使推出机构先复位。弹簧设置在推杆固定板与支承板之间,设计时要防止推出后推杆固定板把弹簧压死,或者弹簧已被压死而推出还未到位,同时还要注意,弹簧应对称安装在推杆固定板的四周,一般为4个,常常安装在复位杆上,也可将簧柱对称地设置在推杆固定板或推板导柱上。
另外,在斜销侧向分型与抽芯机构中,当斜销固定在定模、侧滑块安装在动模时,如果存在侧型芯投影响下设置推杆而发生“干涉”的现象,则需要设计推出机构的先复位。
通过复位零件,使推出杆合模后能回到原来的位置。
该文章所属专题:塑料模具设计教程
5-6-4 一次推出机构设计
一次推出机构——又称简单推出机构,它是指开模后在动模一侧用一次推出动作完成塑件的推出。包括:推杆推出机构、推管推出机构、推板推出机构、活动镶块或凹模推出机构和多元推出机构等。
一、推杆推出机构
由于设置推杆的自由度较大、制造修配方便、推杆推出时运动阻力小、推出动作灵活可靠、推杆损坏后便于更换等原因,所以推杆推出机构是推出机构中最常用的形式。
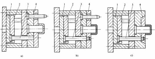
1.推杆的形状及固定形式
常用推杆的形状如图5-6-3所示。图5-6-3a为直通式推杆,尾部采用台肩固定,是最常用的形式,图5-6-33b所示为阶梯式推杆,由于工作部分比较细,故在其后部加粗以提高刚性,一般直径≤2.5mm时采用,图5-6-3c所示为顶盘式推杆亦称锥面推杆,它的加工比较困难,装配时与其它推杆不同,需从型腔前端插入,端部用螺钉固定在推杆固定板上,适合于深筒形且顶部无孔塑件的推出。

图5-6-3 推杆的基本形式
推杆工作端面的形状如图5-6-4所示。最常用的是圆形,其次是矩形。推杆工作端面形状的选择是根据塑件推出部位的形状而确定的。但是,不管何种形状,在设计时都应考虑到要有足够的刚性,以承受推出力,否则就可能在推出时变形。
推杆在模具中的固定形式如图5-6-5所示。图5-6-5a为最常用的形式,直径为d的推杆,在推杆固定板上的孔应为d+1mm,推杆台肩部分的直径常为d+5mm,推杆固定板上的台阶孔为d+6mm;图5-6-5b为采用垫块或垫圈来代替图5-6-5a中固定板上沉孔的形式,这样可使加工方便;图5-6-5c是推杆底部采用螺塞拧紧的形式,它适合于推杆固定板较厚的场合;图5-6-5d为较粗推杆镶入固定板采用螺钉固定的形式。
推杆工作部分与模板或型芯上推杆孔的配合,视推杆直径的大小与不同的塑料品种而定,一般选用H8/f7~H8/f8的间隙配合。

图5-6-4 推杆工作端部的形状

图5-6-5 推杆的固定形式
推杆的材料常用T8A等碳素工具钢或65弹簧钢等,前者的热处理要求硬度为50~54HRC,后者的热处理要求硬度为46~50HRC,推杆工作端配合部分的粗糙度Ra值一般取0.8μm。
2.推杆位置的选择原则
(1)应选择在脱模阻力最大的地方。如图5-6-6a所示,因塑件对型芯的包紧力在四周最大,可在塑件内侧附近设置推杆,如果塑件深度较大,还应在塑件的端部设置推杆。有些塑件在型芯或型腔内有较深且脱模斜度较小的凸起,因收缩应力的原因会产生较大的脱模阻力,在该处就必须设置推杆,如图5-6-6b所示。

图5-6-6 推杆位置的选择
(2)应保证塑件在推出时受力均匀、平稳且不变形。
(3)应注意塑件本身的强度和刚度,尤其是薄壁塑件,应尽可能地选择在厚壁和凸缘等处,否则很容易使塑件变形甚至损坏,如图5-6-6c所示。
(4)应考虑推杆本身的刚性。当细长的推杆受到较大脱模力时,推杆就会失稳变形,如图5-6-6d所示,这时须增大推杆直径或增加推杆的数量。
(5)推杆的工作端面在合模注射时是型腔底面的一部分,推杆的端面如果低于或高于该处型腔底面,在塑件上就会产生凸台或凹痕,影响塑件的使用或美观。通常情况下,推杆装入模具后其端面应与型腔底面平齐或高出型腔0.05mm。
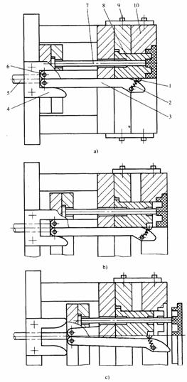
二 推管推出机构
推管是一种空心的推杆,它适用于环形、筒形塑件或塑件上带有孔的凸台部分的推出。由于推管整个周边接触塑件,故推出塑件的力量均匀,塑件不易变形,也不会留下明显的推出痕迹。
推管推出机构有三种主要的结构形式。图5-6-7a所示是最简单最常用的结构形式。型芯固定在动模座板上,这种结构形式的特点是型芯较长,但结构可靠适用于推出距离不大的场合;图5-6-7b所示是用键将型芯固定在动模板上的形式,由于推管推出时要让开键,所以在推管上开有槽,从而影响了推管的强度,不适于推出力大的场合。图5-6-7c所示是型芯固定在动模支承板上、推管在动模板内滑动的形式,型芯和推管都较短、刚性好、制造与装配方便,适用于动模板厚度较大的场合。不管采用哪一种形式的推出机构,都必须设置复位杆,否则合模时将无法使推出机构复位。

图5-6-7 推管推出机构
推管固定部分的配合如图5-6-8所示,推管外径与推管固定板之间采用单边0.5mm的大间隙配合;推管外径与模板上孔的配合,当直径较小时选用H8/f8,当直径较大时选用H8/f7,配合长度一般取推管外径D的1.5~2倍;推管内径与型芯之间的配合,当直径较小时选用H8/f7,当直径较大时选用H7/f7,配合长度应比推出行程L大3~5mm;为了保证推管在推出时不擦伤型芯及塑件的成型表面,推管的外径一般比塑件外径尺寸双边小0.5mm左右,推管的内径一般比塑件的内径单边大0.2~0.5mm。

图5-6-8 推管的尺寸要求
三 推件板推出机构
推件板推出机构是由一块与凸模按一定配合精度相配合的模板和推杆(亦可起复位作用)所组成。推出机构开始工作时,推杆推动推件板,推件板推动塑件,将其从型芯上推出,因此,推出力的作用面积大而均匀,推出平稳,塑件上没有推出痕迹,图5-6-9所示为推件板推出机构的几种结构形式。图5-6-9a为整块模板作为推件板的形式,推杆与推件板无固定连接,为了防止推件板从导柱上脱落下来,固定在动模部分的导柱要足够长;图5-6-9b所示为推杆与推件板用螺纹相连的形式,在推出过程中,可以防止推件板从导柱上脱落下来;图5-6-9c所示为推件板镶入动模板内的形式,推杆端部用螺纹与推件板相连接,并且与动模板导向配合,推出机构工作时,推件板除了与型芯配合外,还通过推杆进行支承与导向,这种推出机构结构紧紧凑,推件板在推出过程中也不会掉下,适合于动模板较厚的场合。推件板和型芯的配合精度与推管和型芯的配合精度相同。
在推件板推出机构中,为了减少推件板与型芯间的磨擦,可采用图5-6-10所示的结构,推件板与型芯间留出0.2~0.5mm的间隙,并用锥面配合。
对于大中型底部无孔的塑件,推件板推出时内部很容易形成真空,造成脱模困难或塑件撕裂,为此,应增设进气装置。图5-6-11所示的结构,在推出时进气阀随塑件向前运动,实现进气,使塑件内外大气压力相等,塑件就能顺利从凸模上推出。
推件板常用的材料为45钢,热处理硬度要求为28~32HRC。

图5-6-9 推件板推出机构
1—推板;2—推杆固定板;3—推杆;4—推件板

图5-6-10 推件板推出机构的改进 图5-6-11 推件板推出机构的进气装置
四 活动镶件推出机构
活动镶件就是活动的成型零件,某些塑件因结构原因不宜采用上述推出机构,则可利用活动镶件或凹模将塑件推出。
图5-6-12a所示是利用螺纹型环做推出零件,工作时,推杆将螺纹型环连同塑件一起推出模外,然后用手工或专用工具把塑件取出,因活动镶件后端设置推杆,故采用了弹簧先复位;图5-6-12b所示是活动镶件与推杆用螺纹连接的形式,推出一定距离后,镶件和塑件不会自动掉下,需要用手工将塑件从活动镶块上取下;图5-6-12c所示是用凹模板将塑件从型芯上推出的形式,又称凹模推出机构,推出后要用手工或其它专用工具将塑件从凹模板内将塑件取出。活动镶件与其安装定位孔的配合一般选用H8/f8,配合长度为5~10mm,其后加工出3°~5°的斜度。

图5-6-12 活动镶件推出机构
五 多元推出机构
有些塑件在模具设计时,往往不能采用单一的简单推出机构,否则塑件就会变形或损坏,因此,要采用两种或两种以上的推出形式,这种推出机构称为多元推出机构。图5-6-13a所示为推杆与推管联合推出机构,图5-6-13b所示为推板与推管联合推出机构。

图5-6-13 多元推出机构
该文章所属专题:塑料模具设计教程
5-6-5 二次推出机构设计
有时因塑件形状特殊或生产自动化的需要,在一次脱模推出动作后,塑件仍然难于从型腔中取出或不能自动脱落,必须再增加一次脱模推出动作,才能使塑件脱模;有时为了避免一次脱模推出时塑件受力过大,也采用二次脱模推出,以保证塑件的质量,这类脱模机构称为二次推出机构。
一 单推板二次推出机构
单推板二次推出机构指在推出机构中只设置了一组推板和推杆固定板,而另一次推出则是靠一些特殊机构的运动来实现。
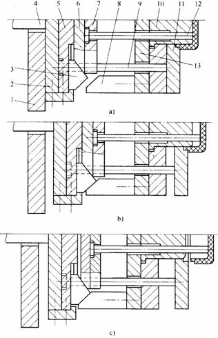
1. 斜楔滑块式二次推出机构
图5-6-14所示是斜楔滑块式二次推出机构,这种机构是利用斜楔6驱动滑块4来完成第二次推出的,图5-6-14a是开模后推出机构未工作的状态;当动模左移一定距离后,注射机顶杆开始工作,推杆8和中心推杆10同时推出,塑件从型芯9上脱下,但仍留在凹模型腔7内,与此同时,斜楔6与滑块4接触,使滑块向模具中心滑动,如图5-6-14b所示,第一次推出结束;滑块4继续向下滑动,推杆8的后端滑入滑块4的孔中,在接着的分模过程中,推杆8不再具有推出作用,而中心推杆10仍然推着塑件,从而使塑件从凹模型腔7内脱出,完成第二次推出,如图5-6-14c所示。

图5-6-14 斜楔滑块式二次推出机构
1—动模座板;2—推板;3—弹簧;4—滑块;5—销钉;6—斜楔;7—凹模型腔;8—推杆;9—型芯;10—中心推杆;11—复位杆
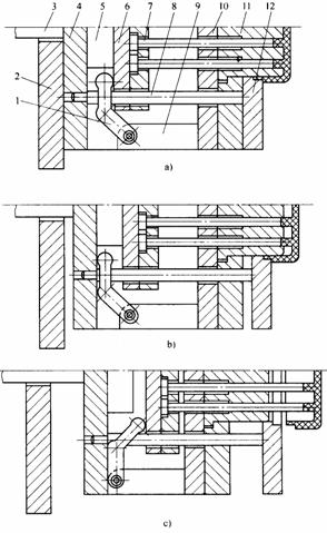
2. 摆块拉板式二次推出机构
摆块拉板式二次推出机构是由固定在动模的摆块7和固定在定模的拉板10来实现的,如图5-6-15所示。图5-6-15a所示为注射结束的合模状态;开模后,固定在定模一侧的拉板10拉动安装在动模一侧的摆块7,使摆块7推起动模型腔板9使塑件从型芯3上脱出,完成第一次推出,如图5-6-15b所示;动模继续左移,推杆6将塑件从动模型腔板9中推出,完成第二次推出,如图5-6-15c所示。图中弹簧8的设置是使摆块7与动模型腔板9始终接触。

图5-6-15 摆块拉杆式二次推出机构
1—支承板;2—定距螺钉;3—型芯;4—推杆固定板;5—推板;6—推杆;7—摆块;8—弹簧;
9—动模型腔板;10—拉板
3. U形限制架式二次推出机构
图5-6-16所示是U形限制架式二次推出机构,其U形限制架4固定在动模座板的两侧,摆杆3(左右摆杆)一端通过转动销6固定在推板上,圆柱销1固定在动模型腔板10上。图5-6-16a为合模状态,摆杆3夹在U形限制架4内,其上端顶在圆柱销1上;在模具开模时,注射机顶杆推动推板,推出开始时由于限制架4的限制,摆杆3只能向前运动,推动圆柱销1使动模型腔板10和推杆7同时推出,塑件脱离型芯8,完成第一次推出,如图5-6-16b所示;当摆杆3脱离限制架4,限位螺钉9阻止动模型腔板10继续向前移动,同时圆柱销1将两个摆杆3分开,弹簧2拉住摆杆3靠在圆柱销1上,注射机顶杆继续推出,推杆7将塑件从型腔内脱出,完成第二次推出,如图5-6-16c所示。

图5-6-16 U形限制架式二次推出机构
1—圆柱销;2—弹簧;3—摆杆;4—U形限制架;5—注射机顶杆;6—转动销; 7—推杆;8—型芯;9—限位螺钉;10—动模型腔板
4.弹簧式二次推出机构

弹簧式二次推出机构
5. 滑块式二次推出机构

滑块式二次推出机构
二 双推板二次推出机构
双推板二次推出机构是在模具中设置两组推板,它们分别带动一组推出零件实现塑件二次脱模的推出动作。
1. 三角滑块式二次推出机构
图5-6-17所示为三角滑块式二次推出机构,该机构中三角滑块3安装在一次推出推杆固定板5的导滑槽内,斜楔块8固定在动模支承板13上。图5-6-17a所示是刚开模的状态;注射机顶杆开始工作后,推杆9、12及动模型腔板11一起向前移动,使塑件从型芯10上脱下,完成第一次推出,此时斜楔块8与三角滑块3开始接触,如图5-6-17b所示;推出动作继续进行,由于三角滑块3在斜楔块8的斜面作用下向上移动,使其另一侧斜面推动二次推板6,使推杆9的推出距离超前于动模型腔板11,从而使塑件从型腔板11中推出,完成第二次推出,如图5-6-17c所示。

图5-6-17 三角滑块式二次推出机构
1—动模座板;2—一次推板;3—三角滑块;4—注射机顶杆;5—一次推出推杆固定板;
6—二次推板;7—二次推出固定板;8—斜楔块;9、12—推杆;10—型芯;11—动模型腔板;
13—支承板
2. 摆钩式二次推出机构
图5-6-18所示是摆钩式二次推出机构。其摆钩7通过转轴6固定在一次推板2上,如图5-6-18a所示;由于摆钩7钩着圆柱销5,刚开始推出时一次推板2也同时被带动,从而使推杆9、14推动动模板13与推杆同时向前移动,使塑件从型芯12上脱出,完成第一次推出,如图5-6-18b所示;此时,摆钩7与支承板接触产生摆动,与圆柱销5脱钩,一次推板2停止移动,推杆14将塑件推出动模镶块12,完成第二次推出,如图5-6-18c所示。

图5-6-18 摆钩式二次推出机构
1—注射机顶杆;2—一次推板;3—一次推杆固定板;4—二次推板;5—圆柱销; 6—转轴;
7—摆钩;8—复位杆;9、14—推杆;10-支承板;11—动模镶块;12—型芯;13—动模板
3. 八字摆杆式二次推出机构
图5-6-19所示是八摆杆式二次推出机构,八字摆杆1用转轴固定在和支承板10连接在一起的支块9上。图5-6-19a为刚开模状态;推出时,注射机顶杆推动一次推板4,由于定距块5的作用,使推杆7和推杆8一起动作将塑件从型芯11上推出,直到八字摆杆1与一次推板4相碰为止,完成第一次推出,如图5-6-19b所示;继续推出,推杆8继续推动动模型腔板12,而八字摆杆1在一次推板4的作用下绕支点转动,使二次推板6推出的距离大于一次推板4推出的距离,塑件便在推杆7的作用下从动模型腔板12上脱出,完成第二次推出,如图5-6-19c所示。

图5-6-19 八字摆杆式二次推出机构
1—八字摆杆;2—动模座板;3—注射机顶杆;4—一次推板;5—定距块;
6—二次推板;7、8—推杆;9—支块;10—支承板;11—型芯;12—动模型腔板
该文章所属专题:塑料模具设计教程
5-6-6 动定模双向推出机构
这种机构应用于:开模时定模的抱紧力大于动模的抱紧力时,塑件会留在定模。如:定模上有型芯的情况。
在实际生产中,有些塑件因形状所决定,开模后既有可能留在动模一侧,也有可能留在定模一侧。为了让塑件顺利脱模,除了可以采用在定模部分设置推出机构外,还可以采用定、动模双向顺序推出机构,即在定模部分增加一个分型面,在开模时确保该分型面首先打开,让塑件先从定模型芯上脱模,从而保证主分型面分型时,塑件能可靠的留在动模部分,最后由动模推出机构将塑件推出脱模。
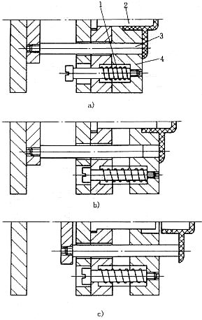
1. 弹簧式双向顺序推出机构
图5-6-20所示为弹簧式双向顺序推出机构。开模时,在弹簧5的作用下,推动定模推件板3,使定模分型面A首先分型,从而使塑件从型芯4上脱出而留在动模型腔板2内,直到限位螺钉7端部与定模板8接触,第一次分型结束;动模继续后退,主分型面B分型,推出机构工作时,推管1将塑件从动模型腔板2内推出。

图5-6-20 弹簧式双向顺序推出机构
1—推管;2—动模型腔板;3—定模推件板;4—型芯;5—弹簧;6—定模导柱;7—限位螺钉;
8—定模板;9—定模座板
2. 摆钩式双向顺序推出机构
图5-6-21所示为摆钩式双向顺序推出机构。开模时,由于摆钩8的作用使分型面A分型,从而使塑件从定模型芯4上脱出,由于压板6的作用,使摆钩8脱钩,然后限位螺钉7限位,定模部分分型结束;继续开模,动模在分型面B分型,最后动模部分的推出机构工作,推管2将塑件从动模型芯1上推出。

图5-6-21 摆钩式双向顺序推出机构
1—动模型芯;2—推管;3—动模板;4—定模型芯;5—弹簧;6—压板;7—限位螺钉;8—摆钩
摆钩式双向顺序推出机构还有其它的形式,在图5-6-22a所示的形式中,滚轮代替了图5-6-21中的压板。在图5-6-22b所示的形式中,压板上的孔与模板上的圆柱销进行定距限位。

图5-6-22 摆钩式双向顺序推出机构的其它形式
3. 滑块式双向顺序推出机构
图5-6-23所示为滑块式双向顺序推出机构。开模时,由于拉钩2钩住滑块3,因此,定模板5与定模座板7在分型面A处分型,塑件从定模型芯上脱出,随后压块1压住滑块3,使之下移而脱开拉钩2,由于限位拉板6的定距作用,分型面A分型结束;继续开模时,主分型面B分型,塑件包在动模型芯上而留在动模里,最后推出机构工作,推杆将塑件从动模型芯推出。

图5-6-23 滑块式双向顺序推出机构
1—压块;2—拉钩;3—滑块;4—限位销;5—定模板;6—限位拉板;7—定模座板;
8—动模板
该文章所属专题:塑料模具设计教程
5-6-7 浇注系统凝料自动脱模机构
点浇口和潜伏式浇口的浇注系统凝料,在脱模时能与塑件自动分离,可从模具中自动脱出。除此之外,其它形式的浇口在脱模时,其浇注系统凝料和塑件是连成一体被推出机构推出模外后,用手工将它与塑件分离。这一节主要介绍点浇口和潜伏式浇口浇注系统凝料的自动推出机构。
一 点浇口浇注系统凝料的推出
点浇口进料的浇注系统可分为单型腔和多型腔两大类。
1. 单型腔点浇口浇注系统凝料的自动推出
(1)带有活动浇口套的挡板推出
在图5-6-24所示的单型腔点浇口浇注系统凝料的自动推出机构中,浇口套7以H8/f8的间隙配合安装在定模座板5中,内侧有压缩弹簧6,如图5-6-24a所示。当注射机喷嘴注射完毕离开浇口套后,压缩弹簧6的作用是使浇口套7与主流道凝料松动分离。开模后,挡板3先与定模座板5分型,主流道凝料从浇口套7中脱出,当限位螺钉4起限位作用时,此分型过程结束,挡板3与定模板1开始分型,直至限位螺钉2限位,如图5-6-24b所示。接着动定模的主分型面分型,挡板3将浇口凝料从定模板1中拉出,在自重作用下自动脱落。

图5-6-24 单型腔点浇口带有活动浇口套的挡板推出
1—定模板;2、4—限位螺钉;3—挡板;5—定模座板;6—弹簧;7—浇口套
(2)带有凹槽浇口套的挡板推出
在图5-6-25所示的点浇口凝料自动推出机构中,带有凹槽的浇口套7以H8/m6的过渡配合固定于定模板2上,浇口套7与挡板4以锥面定位,如图5-6-25a所示。开模时,在弹簧3的作用下,定模板2与定模座板5之间首先分型,在此过程中,由于浇口套7上开有凹槽,可将主流道凝料先从定模座板5中带出来,当限位螺钉6起作用时,挡板4与定模板2及浇口套7脱离,同时浇口凝料从浇口套中拉出,靠自重自动落下,如图5-6-25b所示。定距拉杆1用来控制定模板与定模座板的分型距离。

图5-6-25 单型腔点浇口带有凹槽浇口套的挡板推出
1—定距拉杆;2—定模板;3—弹簧;4—挡板;5—定模座板;6—限位螺钉;7—浇口套
2. 多型腔点浇口浇注系统凝料的自动推出
一模多腔点浇口进料的注射模,其点浇口并不在主流道的对面,而是在各自的型腔端部,这种形式的点浇口浇注系统凝料的自动推出与单型腔点浇口有所不同。
(1)利用挡板拉断点浇口凝料
图5-6-26所示为利用挡板自动推出点浇口浇注系统凝料的结构。图5-6-26a所示是合模状态,开模时,挡板3与定模座板4首先分开,主流道凝料在定模板2上的反锥度穴的作用下被拉出浇口套5,浇口凝料连在塑件上留在定模板2内。当定距拉杆1的中间台阶面接触挡板3以后,定模板2与挡板3分型,挡板3将点浇口凝料从定模板中带出,如图5-6-26b所示,随后点浇口凝料靠自重自动落下。

图5-6-26 多型腔点浇口凝料挡板自动拉断推出
1—定距拉杆;2—定模板;3—挡板;4—定模座板;5—浇口套
(2)利用拉料杆拉断点浇口凝料
图5-6-27所示是利用设置在点浇口处的拉料杆5拉断点浇口凝料的结构。开模时,首先在分流道推板7和定模板3之间分型,浇口被拉料杆5拉断,浇注系统凝料脱离定模板3。继续开模时,由于拉杆2和限位螺钉4的作用,使分流道推板7与定模座板5分型,浇注系统凝料分别从浇口套及拉料杆5上脱出。

图5-6-27 多型腔点浇口凝料拉料杆自动拉断推出
1—拉板;2—拉杆;3—定模板;4—限位螺钉;5—拉料杆;6—定模座板;7—分流道推板
(3)利用分流道侧凹拉断点浇口凝料
图5-6-28所示是利用分流道未端的侧凹将点浇口浇注系统推出的结构。图5-6-28a是合模状态,开模时,定模板3与定模座板4之间首先分型,与此同时,主流道凝料被拉料杆1从浇口套5内拉出,而分流道端部的小斜柱卡住分流道凝料而迫使点浇口拉断并带出定模板3,当定距拉杆2起限位作用时,主分型面分型,塑件被带往动模,浇注系统凝料脱离拉料杆1而自动落下,如图5-6-28b所示。

图5-6-28 多型腔点浇口凝料分流道侧凹自动拉断推出
1—拉料杆;2—定距拉杆;3—定模板;4—定模座板;5—浇口套
二 潜伏浇口浇注系统凝料的推出
根据进料口位置的不同,潜伏浇口可以开设在定模,也可以开设在动模。开在定模的潜伏浇口,一般只能开设在塑件外侧。开设在动模的潜伏浇口,既可以开设在塑件的外侧,也可以开设在塑件内部的型芯或推杆上。
1. 开设在定模部分的潜伏浇口
图5-6-29所示为潜伏浇口开设在定模的结构形式。开模时,塑件包在动模型芯5上从定模板6中脱出,同时潜伏浇口被切断,分流道、浇口和主流道凝料在动模板4上倒锥穴的作用下被拉出定模型腔而随动模移动,推出机构工作时,推杆2将塑件从动模型芯5上推出,而分流道推杆1和主流道推杆7将浇注系统凝料推出动模板4,浇注系统凝料最后由于自重而落下。在模具设计时,分流道推杆应尽量接近潜伏浇口,以便在分模时容易将潜伏浇口拉出定模板。
2. 开设在动模部分的潜伏浇口
图5-6-30所示为潜伏浇口开设在动模的结构形式。开模时,塑件包在动模型芯3上随动模一起后移,分流道及主流道凝料在动模板4上倒锥穴的作用下被拉出定模型腔而随动模移动,推出机构工作时,在推杆的作用下将分流道、浇口从动模板上推出,最后浇注系统凝料由于自重而自动脱落。这种结构中,潜伏浇口的切断、推出与塑件的脱模是同时进行的。在设计模具时,流道推杆及倒锥穴也应尽量接近潜伏浇口。

图5-6-29 潜伏浇口在定模的结构 图5-6-30 潜伏浇口在动模的结构
1—分流道推杆;2—推杆;3—支承板;4—动模板; 1—流道推杆;2—推杆;3—动模型芯;
5—型芯;6—定模板;7—主流道推杆 4—动模板;5—定模板;6—定模型芯

图5-6-31 潜伏浇口在推杆上的结构
1—定模板;2—浇口推杆;3—动模型芯;4—定模座板;5—流道推杆;6—动模板;7—主流道推杆
3. 开设在推杆上的潜伏浇口
图5-6-31所示为潜伏浇口开设在推杆上的结构形式。图5-6-31a是潜伏浇口开在圆形推杆上的形式,开模时,包在动模板6上的塑件和被倒锥穴拉出的主流道及分流道凝料一起随动模移动,当推出机构工作时,塑件被推杆从动模板6上推出,同时潜伏浇口被切断,流口推杆2和主流道推杆7将浇注系统凝料推出模外而自动落下。这种浇口与上述浇口的不同之外在于塑件内部增加了一段二次浇口余料,需人工将余料剪掉。图5-6-31b所示是潜伏浇口开设在矩形推杆上的形式,在模具设计时,二次浇口必须开设在矩形推杆的侧面,以便推出后能将矩形推杆上的二次浇口余料脱出。
该文章所属专题:塑料模具设计教程
5-6-8 带螺纹塑件脱模机构
一 带螺纹塑件的止转结构
在使用模内旋转脱螺纹机构时,塑件与螺纹型芯或型环之间除了要有相对转动以外,还必须有轴向的移动。如果螺纹型芯或型环在转动时,塑件也随着一起转动,则塑件就无法从螺纹型芯或型环上脱出。为此,在塑件设计时应特别注意塑件必须带有止转的结构。图5-6-35所示是塑件上带有止转达结构的各种形式。图5-6-35a、b所示为内螺纹塑件上外形设止转结构的形式;图5-6-35c所示为外螺纹塑件端面设止转的形式;图5-6-35d所示为内螺纹塑件端面设止转的形式。带有螺纹的塑件,其脱模方式可分为手动脱模和机动脱模两大类。

图5-6-35 带螺纹塑件的止转形式
二 手动脱模
这类脱模方式操作不方便,劳动强度大,生产效率低,但模具结构简单,成本低,常用于产品的试制、小批量生产等场合。主要包括以下两种形式:
1. 活动型芯或型环脱模方式 在这种方式中,螺纹型芯或螺纹型环被设计成活动镶件的形式。每次开模,先将螺纹型芯或螺纹型环按一定配合和定位放入模具型腔内,分模后,将螺纹型芯或型环随塑件推出模外,然后再由人工或用专用工具将螺纹型芯或型环旋下,如图5-6-12a所示。
2. 模内旋转手动脱模方式 图5-6-32所示为最简单的手动模内脱螺纹形式,塑件成型后,在开模前先用专用工具将螺纹旋出,然后再分模和推出塑件。设计时应注意侧向螺纹型芯两端部螺纹的螺距与旋向应相同。

图5-6-32 模内手动脱螺纹
三 机动脱模
开模时,利用注射机的开模力或推出力作为动力,通过机械传动零件(如齿条、齿轮等)将力作用于螺纹成型零件使其向侧向分型或旋转,从而实现螺纹的自动脱模。合模时,又通过传动零件使螺纹成型零件复位。这类机构结构比较复杂,能实现自动化生产,生产效率高。常用的有以下几种形式:
1. 拼合型芯或型环脱模方式
这种脱螺纹方式,实际上是采用斜滑块或斜导杆的侧向分型或轴芯的方式,如图6.45所示。
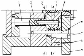
2. 齿条齿轮脱螺纹机构
如图5-6-33所示,开模时,安装于定模板上的传动齿条1带动齿轮2,通过轴3及齿轮4、5、6、7的传动,使螺纹型芯8按旋出方向旋转,拉料杆9也随之转动,从而使塑件与浇注系统凝料同时脱出,塑件依靠浇口止转。设计该机构时,应注意螺纹型芯8及拉料杆9上螺纹的旋向应相反而螺距应相同。

图5-6-33 齿条齿轮脱螺纹机构
1—传动齿条;2—齿轮;3—轴;4、5、6、7—齿轮;8—螺纹型芯;9—拉料杆
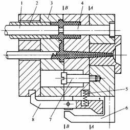
3. 角式注射机用模具的脱螺纹机构
图5-6-34所示为角式注射机用模具的脱螺纹机构。开模时,丝杠1带动主动齿轮轴2旋转(轴前端为方轴,插入丝杠的方孔内),通过与之啮合的从动齿轮3脱卸螺纹型芯,而定模型腔部分在弹簧作用下随塑件移动一段距离l后再停止移动(由限位螺钉7定距),此时,螺纹型芯4一面旋转,一面将塑件从定模型腔中拉出。

图5-6-34 角式注射机多型腔脱螺纹机构
1—开合模丝杠;2—主动齿轮轴;3—从动齿轮;4—螺纹型芯;5—凹模;6—弹簧;7—限位螺钉
该文章所属专题:塑料模具设计教程
1;所有标注为智造资料网zl.fbzzw.cn的内容均为本站所有,版权均属本站所有,若您需要引用、转载,必须注明来源及原文链接即可,如涉及大面积转载,请来信告知,获取《授权协议》。
2;本网站图片,文字之类版权申明,因为网站可以由注册用户自行上传图片或文字,本网站无法鉴别所上传图片或文字的知识版权,如果侵犯,请及时通知我们,本网站将在第一时间及时删除,相关侵权责任均由相应上传用户自行承担。
[complaint:内容投诉]
智造资料网打造智能制造3D图纸下载,在线视频,软件下载,在线问答综合平台 » 塑料模具设计教程_5-6模具推出机构设计(图文教程)

