构成塑料模具模腔的零件统称成型零件。成型零 件是模具的主要部分,决定了塑件的几何形状和尺寸,主要包括凹模、凸模、镶块、小型芯和成型环等。成型零件工作时,直接与塑料熔体接触,承受熔体料流的高压冲刷、脱模磨擦等。因此,成型零件不仅要求有正确的几何形状,较高的尺寸精度和较低的表面粗糙度,而且还要求有合理的结构,较高强度、刚度及较好的耐磨性。
设计塑模的成型零件时,应根据塑件的塑料性能、使用要求、几何结构,并结合分型面和浇口位置的选择、脱模方式和排气位置的考虑来确定型腔的总体结构,根据塑件的尺寸、计算成型零件型腔的尺寸;确定型腔的组合方式;确定成型零件的机加工、热处理、装配等要求。对关键的部位进行强度和刚度校核。
5-3-1 成型零件的结构设计
5-3-1-1 凹模的结构设计
凹模亦称型腔,是成型塑件外表面的主要零件,按结构不同可分为整体式和组合式两种结构形式。
一 整体式凹模结构
整体式凹模结构是在整体金属模板上加工而成的,如图5-3-1所示,其特点是牢固、不易变形,不会使塑件产生拼接线痕迹。但是加工困难,热处理不方便,常用于形状简单的中、小型模具上。

图5-3-1 整体式凹模结构
二 组合式凹模结构
组合式凹模结构的型腔是由两个或两个以上的零部件组合而成的。按组合方式不同,可为整体嵌入式、局部镶嵌式和四壁拼合式等形式。
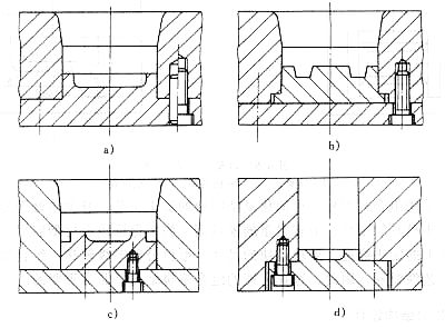
(1)整体嵌入式凹模
如图5-3-2所示,小型塑件采用多型腔模具成型时,各单个型腔采用机械加工、冷挤压、电加工等到方法加工制成,然后压入模板中。这种结构加工效率高,装拆方便,可以保证各个型腔的形状尺寸一致。图5-3-2a~c称为通孔台肩式,凹模带有台肩,从下面嵌入模板,再用垫板螺钉紧固。如果凹模镶件是回转体,而型腔是非回转体,则需要用销钉或键止转定位。图5-3-2b采用销钉定位,结构简单,装拆方便;图5-3-2c是键定位,接触面积大,止转可靠;图5-3-2d是通孔无台肩式,凹模嵌入模板内用螺钉与垫板固定;图5-3-2e是盲孔式,凹模嵌入固定板后直接用螺钉固定在固定板下部设计有装拆凹模用的工艺通孔,这种结构可省去垫板。

图5-3-2 整体嵌人式凹模结构形式
(2)局部镶嵌式凹模
如图5-3-3所示,为了加工方便或由于型腔的某一部分容易损坏,需要经常更换,应采用局部镶嵌的办法。图5-3-3a所示的异形凹模,先钻周围的小孔,再在小孔内镶入芯棒并加工大孔,加工完毕后把这些芯棒取出,调换芯棒镶入小孔与大孔组成型腔;图5-3-3b凹模内有局部凸起,可将此凸起部分单独加工,再把加工好的镶块利用圆形槽(也可用T形槽,燕尾槽等)镶在圆形凹模内;图5-3-3c是利用局部镶嵌的办法加工圆环形凹模;图5-3-3d是在凹模底部局部镶嵌;图5-3-3e是利用局部镶嵌的办法加工长条形凹模。

图5-3-3 局部镶嵌式凹模结构形式
(3)底部镶拼式凹模
为了机械加工、研磨、抛光、热处理方便,形状复杂的型腔底部可以设计成镶拼式,如图所示,图5-3-4a的形式镶嵌比较简单,但结合面磨平、抛光时应仔细,保证接合处的锐棱(不能带圆角)以免影响脱模。底板还应有足够的厚度以免变形而楔入塑料;图5-3-4b、c的结构制造稍麻烦,但圆柱形配合面不易楔入塑料;图5-3-4d的结构与图5-3-4a的结构相似,只是 底部为台阶镶嵌。

图5-3-4 整体嵌人式凹模结构形式
(4)侧壁镶拼式凹模
侧壁镶拼如图5-3-5所示,这种结构便于加工和抛光,但是一般很少采用,这是因为在成型时,溶熔融的塑料成型压力使螺钉和销钉产生变形,从而达不到产品的要求。图5-3-5a中螺钉在成型时将受到拉伸力;图5-3-5b中螺钉和销钉在成型时将受到剪切力。

图5-3-5 整体嵌人式凹模结构形式
(5)四壁拼合式凹模
四壁拼合如图5-3-6所示。大型和形状复杂的凹模,可以把它的四壁和底板分别加工经研磨后压入模套中。在图b中,为了保证装配的准确性,侧壁之间采用锁扣连接,连接处外壁应留有0.3~0.4mm的间隙,以使内侧接缝紧密,减少塑料的挤入。

图5-3-6 四壁拼合式凹模结构形式
1-模套;2、3-侧向镶拼块;4-底部镶拼块
综上所述,采用组合式凹模,简化了复杂凹模的加工工艺,减少了热处理变形,拼合处有间隙利于排气,便于模具的维修,节省了贵重的模具钢。为了保证组合工型腔尺寸的精度和装配的牢固,减少塑件上的镶拼痕迹,对于镶块的尺寸、形位公差要求较高,组合结构必须牢固,镶块的机械加工工艺性要好。因此 ,选择合理的组合镶拼结构是非常重要的。
该文章所属专题:塑料模具设计教程
5-3-1-2 型芯的结构设计
成型塑件内表面的零件称凸模或型芯。主要有:主型芯、小型芯、螺纹型芯和螺纹型环等。对于结构简单的容器、壳、罩、盖、帽之类的塑件,成型其主体部分内表面的零件称主型芯或凸模,而将成型其它小孔的型芯称为小型芯或成型杆。
按结构特点可分为:整体式、组合式、活动镶件式和浮动式四种。
一 整体式和组合式型芯
1、整体式结构
图5-3-7a所示为整体式结构,结构牢固,但不便加工,消耗模具钢多,主要用于手工试验或小型模具上的形状简单的型芯。
2、组合式结构
也称为镶拼组合式型芯,为了便于加工,形状复杂型芯往往彩采用镶拼组合式结构,图5-3-7中b~d所示的结构为组合式结构。这种结构是将型芯单独加工后,再镶入模板中,图5-3-7b为通孔台肩式,凸模用台肩和模板连接,再用垫板、螺钉紧固,连接牢固,是最常用的方法。对于固定部分是圆柱面而型芯有方向性的场合,可采用销钉或键定位;图5-3-7c为通孔无台肩式结构;图d为盲孔式的结构。

图5-3-7 整体式和组合式型芯
组合式型芯的优缺点和组合式凹模的基本相同。设计和制造这类型芯时,必须注意结构合理,应保证型芯和镶块的强度,防止热处理时变形,应避免尖角与薄壁。图5-3-8a中的小型芯靠得太近,热处理时薄壁部位易开裂,应采用图b的结构,将大的型芯制成整体式再镶入小的型芯。

图5-3-8 组合式小芯型
在设计组合式型芯结构时,应注意塑料的溢料飞边不应该影响脱模取件。下图5-3-9a的结构的溢料飞边的方向与塑件脱模方向相垂直,影响塑件的取出;而采用图5-3-9b结构溢料飞边的方向与脱模方向一致,便于脱模。
图5-3-9 便于脱模
小芯型
小型芯是用来成型塑件上的小孔或槽。小型芯单独制造后再镶入模板中。下图5-3-10为小型芯常用的几种固定方法,图5-3-10a是用台肩固定的形式,下面用垫板压紧;图5-3-10b中固定板太厚,可在固定板上减少配合长度,同时细小型芯制成台阶的形式;图5-3-10c是型芯细小而固定板太厚的形式,型芯镶入后,在下端用圆柱垫垫平;图5-3-10d是用于固定板厚而无垫板的场合,在型芯的下端用螺塞紧固;图5-3-10e是型芯镶入后在另一端采用铆接固定的形式。

图5-3-10 小芯型固定方法
对于异形型芯,为了制造方便,常将型芯设计成两段,型芯的连接固定段制成圆形,并用台肩和模板连接,如下图5-3-11a所示;也可以用螺母紧固,如图5-3-11b所示。

图5-3-11 异形型芯
多个互相靠近的小型芯,用台肩固定时,如果台肩发生重迭干涉,可将台肩相碰的一面磨去,将型芯固定板的台阶孔加工成大圆台阶孔或长腰圆形台阶孔,然后再将型芯镶入,如图5-3-12a、b所示。

图5-3-12 多个小型芯
二 活动镶件式型芯
带螺纹型芯常用活动镶件式结构,由于带螺纹型腔(又称螺纹型环)的结构设计也常用活动镶件式结构。故在此同时介绍。螺纹型芯和螺纹型环是分别用来成型塑件上内螺纹和外螺纹的活动镶件。另外,螺纹型芯和螺纹型环还可以用来固定带螺纹的孔和螺杆的嵌件。成型后,螺纹型芯和螺纹型环的脱卸方法有两种。一种是模内自动脱卸,另一种是模外手动脱卸。这里仅介绍模外手动脱卸的螺纹型芯和螺纹型环的结构及固定方法。
1、螺纹型芯的结构
螺纹型芯按用途分为直接成型塑件上螺纹孔和固定螺母嵌件两种。两种螺纹型芯在结构上没有原则上的区别。用来成型塑件上螺孔的螺纹型芯在设计时必须考虑塑料收缩率,表面粗糙度要小(Ra<0.4um),一般应有0.50的脱模斜度,螺纹始端和末端按塑料螺纹结构要求设计,以防止从塑件上拧下时拉毛塑料螺纹。固定螺母的螺纹型芯不必放收缩率,按普通螺纹制造即可。螺纹型芯安装在模具上,成型时要可靠定位,不能因合模振动或料流冲击而移动;且开模时能与塑件一道取出,便于装卸;螺纹型芯与模板内安装孔的配合用H8/f8。
螺纹型芯在模具上安装的形式如下图5-3-13。图5-3-13a~c是成型内螺纹的螺纹型芯。图5-3-13d~f是安装螺纹嵌件的螺纹型芯。图5-3-13a是利用锥面定位和支承的形式;图5-3-13b是利用大圆柱面定位和台阶支承的形式;图5-3-13c是用圆柱面定位和垫板支承的形式;图5-3-13d是利用嵌件与模具的接触面起支承作用,与防止型芯受压下沉 ;图5-3-13e是将嵌件下端以锥面镶入模板中,以增加嵌件的稳定性,并防止塑料挤入嵌件的螺孔中;图5-3-13f是将小直径螺纹嵌件直接插入固定在模具上的光杆型芯上,因螺纹牙沟槽很细小,塑料仅能挤入一小段,并不防碍使用,这样可省去模外脱卸螺纹的操作。螺纹型芯的非成型端应制成方形或将相对两边磨成两个平面,以便在模外用工具将其旋下。

图5-3-13 螺纹型芯在模具上的安装形式
下图5-3-14是固定在立式注射机上模或卧式注射机动模部分的螺纹型芯结构固定方法。由于合模时冲击振动较大,螺纹型芯插入时应有弹性连接装置,以免造成型芯脱落或移动,导致塑件报废或模具损伤。图5-3-14a是带豁口柄的结构,豁口柄的弹力将型芯支撑在模具内,适用于直径小于8mm的型芯;图5-3-14b是台阶起定位作用,并能防止成型螺纹时挤入塑料;图5-3-14c、d是用弹簧钢丝定位,常用于直径为5~10mm的型芯上;图5-3-14e是当螺纹型芯直径大于10mm时,可采用图5-3-14e的结构。用钢球弹簧固定,当螺纹型芯直径大于15mm时,则可反过来将钢球和弹簧装置在型芯杆内;图5-3-14f是利用弹簧卡圈固定型芯;图5-3-14g是用弹簧夹头固定型芯的结构。

图5-3-14 有弹性连接装置的螺纹型芯
2、螺纹型环常见的结构如图5-3-15所示,图5-3-15a是整体式的螺纹型环,型环与模板的配合用H8/f8,配合段长3~5mm,为了安装方便,配合段以外制出30~50的斜度,型环下端可铣削成方形,以便用板手从塑件上拧下;图5-3-15b是组合式型环,型环由两半瓣拼合而成,两半瓣中间用导向销定位。成型后用尖劈状卸模器楔入型环两边的楔形槽撬口内,使螺纹型环分开。组合式型环卸螺纹快而省力。但是在成型的塑料外螺纹上留下难以修整的拼合痕迹,因此这种结构只适用于精度要求不高的粗牙螺纹的成型。

图5-3-15 螺纹型环的结构
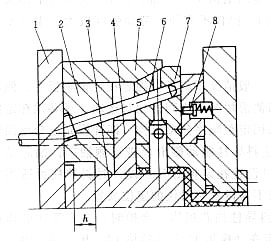
三 浮动式型芯
图5-3-16为凸模浮动式斜导柱定模侧抽芯。凸模3以H8/f8的配合安装在动模板内,并且其底端面与动模支承板2的距离为h。开模时,由于塑件对凸模具有足够的包紧力,致使凸模在开模距离h内与塑件一起相对保持静止不动,即凸模3浮动了距离h,使侧滑块7在斜导柱6作用下完成侧向抽芯。继续开模,塑件和凸模3一起随动模后退,推出机构工作时,推件板4将塑件从凸模3推出。设计凸模浮动式斜导柱侧抽芯机构时,应考虑合模时凸模3的复位问题。

图5-3-16 浮动式型芯
1—支承板;2—动模板;3—凸模;4—推件板;5—楔紧块;6—斜导柱;7—侧型芯滑块;
8—限位销
该文章所属专题:塑料模具设计教程
5-3-2 成型零件工作尺寸的计算
5-3-2-1 成型零部件工作尺寸的计算考虑的要素
成型零件工作尺寸是指直接用来构成塑件型面的尺寸,例如:型腔和型芯的径向尺寸、深度和高度尺寸、孔间距离尺寸、孔或凸台至某成型表面的距离尺寸、螺纹成型零件的径向尺寸和螺距尺寸等。
影响塑件尺寸精度的因素很多,概括地说,有塑料材料、塑件结构和成型工艺过程、模具结构、模具制造和装配、模具使用中的磨损等因素。塑料材料方面的因素主要是指收缩率的影响。在模具设计中应根据塑件的材料、几何形状、尺寸精度等级及影响因素等进行设计计算。
一 塑件的收缩率及收缩率波动
塑件成型后的收缩变化与塑料的品种、塑件的形状、尺寸、壁厚、成型工艺条件、模具的结构等因素有关,所以确定准确的收缩率是很困难的。为了使得注塑成型制品符合塑料制品图纸所规定的尺寸,在设计注塑模具时,需要根据注塑成型制品各尺寸的收缩率在模具成型尺寸中给以补偿。注塑成型制品某尺寸的收缩率用下式来表示:
![]()
式中 S—注塑成型制品尺寸的收缩率;
LM—常温下与LS相对应的模具型腔尺寸;
LS—常温下注塑成型制品的某尺寸。
注塑成型制品的收缩率受到多方面因素的影响,所以在有关注塑成型的参考书籍上所提供的通常是用注塑材料收缩率可能的波动范围而非某一固定数值。在工艺条件、塑料批号发生的变化等会造成塑件收缩率的波动,其塑料收缩率的波动误差为:
δs =(Smax-Smin)Ls (5-3-1)
式中 δs——塑料收缩率的波动误差;
Smax——塑料的最大收缩率;
Smin——塑料的最小收缩率;
Ls——塑件的基本尺寸。
实际收缩率与计算收缩率会有差异,按照一般的要求,塑料收缩率所引起的误差应小于塑件公差的1/3。
二 模具成型零件的制造误差
模具成型零件的制造精度是影响塑件尺寸精度的重要因素之一。模具成型零件的制造精度愈低,塑件尺寸精度也愈低。一般成型零件工作尺寸公差值取塑件公差值的1/3~1/4或取IT7~8级作为制造公差。组合式型腔或型芯的制造公差应根据尺寸链来确定。
三 模具成型零件的磨损
模具在使用过程中,由于塑料熔体流动的冲刷、成型过程中可能产生的腐蚀性气体的锈蚀、脱模时塑件与模具的摩擦、以及由于上述原因造成的成型零件表面粗糙度提高而重新打磨抛光等原因,均造成成型零件尺寸的变化。这种变化称为成型零件的磨损。其中脱模摩擦磨损是主要的因素。磨损的结果使型腔尺寸变大,型芯尺寸变小。磨损大小与塑料的品种和模具材料及热处理有关。为简化计算,凡与脱模方向垂直的表面不考虑磨损;与脱模方向平行的表面应考虑磨损。
磨损量应根据塑件的产量、塑料的品种、模具的材料等到因素来确定。对生产批量小的,磨损量取小值,甚至可以不考虑磨损量;热塑性塑料磨擦系数小,可取小值;模具材料耐磨性好,如:表面进行了镀铬、氮化处理的可取小值;但是增强塑料,如:玻璃纤维等磨损量取大值。对于中小型塑件,最大磨损量可取塑件公差的1/6;对于大型塑件应取1/6以上。
四 模具安装配合误差
模具成型零件装配误差以及在成型过程中成型零件配合间隙的变化,都会引起塑件尺寸的变化。如:成型压力使模具分型面有胀开的趋势、动定模分型面间隙、分型面上的残渣或模板平面度,对塑件高度方向尺寸有影响;活动型芯与模板配合间隙过大,对孔的位置精度有影响。
综上所述,塑件在成型过程中产生的尺寸误差应该是上述各种误差的总和。即:
δ=δz+δc+δs+δj+δa (5-3-2)
式中 δ——塑件的成型误差
δz——模具成型零件制造误差
δc——模具成型零件的磨损量
δs——塑料收缩率波动误差
δj——模具成型零件配合间隙变化误差
δa——模具装配误差
由此可见,塑件尺寸误差为累积误差,由于影响因素多,因此塑件的尺寸精度往往较低。设计塑件时,其尺寸精度的选择不仅要考虑塑件的使用和装配要求,而且考虑塑件在成型过程中可能产生的误差,使塑件规定的公差值Δ大于或等于以上各项因素引起的累积误差δ,即:Δ≥δ。
一般情况下,收缩率的波动、模具制造公差和成型零件的磨损是影响塑件尺寸精度的主要原因。而且并不是塑件的任何尺寸都与以上几个因素有关,例如用整体式凹模成型塑件时,其径向尺寸(或长与宽)只受δs、δz、δc的影响,而高度尺寸则受δs、δz、和δj的影响。另外所有的误差同时偏向最大值或同时偏向最小值的可能性是非常小的。
从式(5-3-1)可以看出,因收缩率的波动引起的塑件尺寸误差随塑件尺寸的增大而增大。因此,生产大型塑件时,因收缩率波动对塑件尺寸公差影响较大,若单靠提高模具制造精度等级来提高塑件精度是困难和不经济的,应稳定成型工艺条件和选择收缩率波动较小的塑料;生产小型塑件时,模具制造公差和成型零件的磨损是影响塑件尺寸精度的主要因素,因此,应提高模具精度等级和减少磨损。
计算模具成型零件最基本的公式为:
L m=L s(1+S) (5-3-3)
式中 L m——模具成型零件在常温下的实际尺寸;
L s——塑件在常温下的实际尺寸;
S ——塑料的计算收缩率。
以上是仅考虑塑料收缩率时计算模具成型零件工作尺寸的公式。若考虑其它因素时,则模具成型工作尺寸的计算公式就有不同形式。现介绍一种常用的按平均收缩率、平均磨损量和平均制造公差为基准的计算方法。从附表B中可查到常用塑料的最大收缩率S max和最小收缩率S min,该塑料的平均收缩率为:
(5-3-4)
在以后的计算中,塑料的收缩率均为平均收缩率。
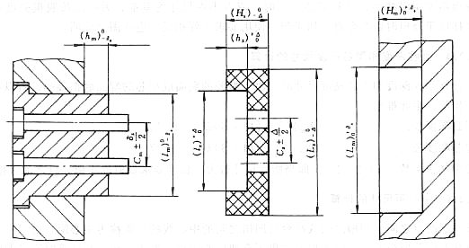
在型腔、型芯径向尺寸以及其它各类工作尺寸计算公式导出过程中,所涉及到的无论是塑件尺寸和成型模具尺寸的标注都是按规定的标注方法。凡孔都是按基孔制,公差下限为零,公差等于上偏差;凡轴都是按基轴制,公差上限为零,公差等于下偏差。如图5-3-17所示:

图5-3-17 塑件尺寸和成型模具尺寸的标注
该文章所属专题:塑料模具设计教程
5-3-2-2 型腔和型芯径向尺寸的计算
一 型腔径向尺寸的计算
如前所述,塑件的基本尺寸Ls是最大尺寸,其公差Δ为负偏差,如果塑件上原有的公差的标注与此不符,应按此规定转换为单向负偏差,因此,塑件的平均径向尺寸为Ls-Δ∕2。模具型腔的基本尺寸Lm是最小尺寸,公差为正偏差,型腔的平均尺寸则为Lm+δz/2。型腔的平均磨损量为δc/2,考虑到期平均收缩率后,则可列出如下等式:
Lm+δz/2+δc/2=(Ls-Δ/2)+(Ls-Δ/2)
(5-3-5)
略去比其他各项小得多的Δ/2
,则得到模具型腔的径向尺寸为:
Lm=(1+
)Ls-(Δ+δz+δc)/2 (5-3-6)
δz和δc是与Δ有关的量,因此,公式后半部分可用xΔ表示,标注制造公差后得:
(Lm)
=[(1+
)Ls-xΔ]
(5-3-7)
由于δz、δc与Δ的关系随塑件的精度等级和尺寸大小的不同而变化,因此式中Δ前的系数x在塑料件尺寸较大、精度级别较低时,δz和δc可忽略不计,则x=0.5;当塑件制件尺寸较小,精度级别较高时,δc可取Δ/6、δz可取Δ/3,此时,x=0.75。则式(5-3-7)为:
(Lm)
=[(1+
)Ls-(0.5~0.75)Δ]
(5-3-8)
二 型芯径向尺寸的计算
塑件孔的径向基本尺寸ls是最小尺寸,其公差Δ为正偏差,型芯的基本尺寸lm是最大尺寸,制造公差为负偏差,经过与上面型腔径向尺寸相类推导,可得:
(lm)
=[(1+
)Ls-(0.5~0.75)Δ]
(5-3-9)
带有嵌件的塑件,在计算收缩率时,Ls值应为塑件外形尺寸减去嵌件外形尺寸。为了脱模方便,型腔或型芯都设计有脱模斜度。这时,计算型腔尺寸以大端尺寸为基准,另一端按脱模斜度相应减小;计算型芯尺寸以小端尺寸为基准,另一端按脱模斜度相应增大。这样便于修模时有余量。如果塑件使用要求正好向反,应在图上注明
该文章所属专题:塑料模具设计教程
5-3-2-3 型腔深度和型芯高度尺寸的计算
型腔深度和型芯高度尺寸的计算时,由于型腔的底面或型芯的端面磨损很小,所以可以不考虑磨损量,由此推出:
型腔深度公式:(H m)
=[(1+
)H s+xΔ]
(5-3-10)
型芯高度公式:(h m)
=[(1+
)h s+xΔ]
(5-3-11)
上两式中修正系数x=1/2~1/3,当塑件尺寸较大、精度要求低时取小值;反之取大值。
5-3-2-4 中心距尺寸的计算
塑件上凸台之间、凹槽之间或凸台与凹槽之间的中心线的距离称为中心距。由于中心距的公差都有是双向等值公差,同时磨损的结果不会使中心距尺寸发生变化,在计算时不必考虑磨损量。因此塑件上的中心距基本尺寸Cs和模具上的中心距的基本尺寸C m均为平均尺寸。于是:
C m=(1+
)C s (5-3-12)
标注制造公差后得:
(C m)±δz/2=(1+
)C s±δz/2 (5-3-13)
模具中心距是由成型孔或安装型芯的孔的中心距所决定。例如:用坐标镗床加工孔时,孔轴线位置尺寸取决于机床精度,一般不会超过±0.015~0.02mm;用普通方法加工孔时,孔间距大,则加工误差值也大。另外,活动型芯与模板为间隙配合,配合间隙会产生波动而影响塑件中心距,这时应使间隙误差和制造误差的积累值小于塑件中心距所要求的公差±δz/2范围内。
该文章所属专题:塑料模具设计教程
5-3-2-5 螺纹型环和螺纹型芯的工作尺寸的计算
螺纹塑件从模具中成型出来后,径向和螺距尺寸都要收缩变小,为了使螺纹塑件与标准金属螺纹较好的配合, 提高成型后塑件螺纹的旋入性能,成型塑件的螺纹型芯或型环的径向尺寸都应考虑收缩率的影响,即:适当缩小了螺纹型环的径向尺寸和增大了螺纹型芯的径向尺寸。
螺纹型环的工作尺寸属于型腔类尺寸,而螺纹型芯的工作尺寸属于型芯类尺寸。螺纹连接的种类很多,配合性质也各不相同,影响塑件螺纹连接的因素比较复杂,因此要满足塑料螺纹配合的准确要求是比较难的。目前尚无塑料螺纹的统一标准,也没有成熟的计算方法。
由于螺纹中径是决定螺纹配合性质的最重要参数,它决定着螺纹的可旋入性和连接的可靠性,所以计算中的模具螺纹大、中、小径的尺寸,均以塑件螺纹中径公差Δ中为依据。因为螺纹中径的公差值总是小于大径和小径的公差值,在螺纹大径和小径计算中,螺纹型环或螺纹型芯都采用了塑件中径的公差值Δ中,制造公差都采用了中径制造公差δZ,其目的是提高模具制造精度。下面介绍普通螺纹型环和型芯工作尺寸的计算公式。
一 螺纹型环的工作尺寸
(1)螺纹型环大径
(5-3-14)
(2)螺纹型环中径
(5-3-15)
(3)螺纹型环小径
(5-3-16)
上面各式中 D M大——螺纹型环大径;
D M中——螺纹型环中径;
D M小——螺纹型环小径;
D S大——塑件外螺纹大径基本尺寸;
D S中——塑件外螺纹中径基本尺寸;
D S小——塑件外螺纹小径基本尺寸;
——塑料平均收缩率;
Δ中——塑件螺纹中径公差,目前我国尚无专门的塑件螺纹公差标准,可参照金属螺纹公差标准中精度最低者选用,其值可查表GB197--81;
δz——螺纹型环中制造公差,其值可取Δ中/5或查表5-3-1。
表5-3-1 螺纹型环和螺纹型芯的直径制造公差 (mm)
粗牙螺纹 | 螺纹直径 | M 3~12 | M 14~33 | M 36~45 | M46~68 |
中径制造公差 | 0.02 | 0.03 | 0.04 | 0.05 | |
大、小径制造公差 | 0.03 | 0.04 | 0.05 | 0.06 | |
细牙螺纹 | 螺纹直径 | M 4~22 | M 24~52 | M 56~68 |
|
中径制造公差 | 0.02 | 0.03 | 0.04 |
| |
大、小径制造公差 | 0.03 | 0.04 | 0.05 |
|
二 螺纹型芯的工作尺寸
(1)螺纹型环大径
(5-3-17)
(2)螺纹型环中径
(5-3-18)
(3)螺纹型环小径
(5-3-19)
上面各式中 d M大——螺纹型芯大径;
d M中——螺纹型芯中径;
d M小——螺纹型芯小径;
d S大——塑件内螺纹大径基本尺寸;
d S中——塑件内螺纹中径基本尺寸;
d S小——塑件内螺纹小径基本尺寸;
Δ中——塑件螺纹内径公差;
δZ ——螺纹型芯的中径制造公差,其值取Δ中/5或查表5-3-1。
三 纹型环和螺纹型芯的螺距工作尺寸
无论螺纹型环和螺纹型芯,其螺距尺寸都采用如下公式计算:
(P M)±δZ/2=(P S+P S
)±δZ/2 (5-3-20)
式中 P M——螺纹型环或螺纹型芯螺距;
P S——塑件外螺纹或内螺纹螺距的基本尺寸;
δZ——螺纹型环或螺纹型芯螺距制造公差,查表5-3-2。
表5-3-2 螺纹型环和螺纹型芯螺距的制造公差 (mm)
螺纹直径 | 配合长度L | 制造公差δZ |
3~10 | ~12 | 0.01~0.03 |
12~22 | 12~20 | 0.02~0.04 |
24~68 | >20 | 0.03~0.05 |
在螺纹型环或螺纹型芯螺距计算中,由于考虑到塑件的收缩,计算所得到的螺距带有不规则的小数,加工这种特殊的螺距很困难,可采用如下办法解决这一问题。
用收缩率相同或相近的塑件外螺纹与塑件内螺纹相配合时,计算螺距尺寸可以不考虑收缩率;当塑料螺纹与金属螺纹配合时,如果螺纹配合长度
(式中Δ中为塑件螺纹的中径公差;
为塑料的平均收缩率)不考虑收缩率;一般在小于7~8牙的情况下,也可以不计算螺距的收缩率,因为在螺纹型芯中径尺寸中已考虑到了增加中径间隙来补偿塑件螺距的累积误差。
当螺纹配合牙数较多,螺纹螺距收缩累计误差很大,必须计算螺距的收缩率。加工带有不规则小数的特殊螺距的螺纹型环或型芯,可以采用在车床上配置特殊齿数的变速挂轮等方法来进行。
该文章所属专题:塑料模具设计教程
5-3-3 成型零部件的强度与刚度计算
5-3-3-1 成型零部件强度、刚度计算考虑的要素
塑料模具型腔在成型过程中受到熔体的高压作用,应具有足够的强度和刚度。如果型腔侧壁和底板厚度过小,可能因强度不够而产生塑性变形甚至破坏;也可能因刚度不足而产生挠曲变形,导致溢料和出现飞边,降低塑料件尺寸精度并影响顺利脱模。因此,应通过强度和刚度计算来确定型腔壁厚,尤其是对于精度要求高的或大型的模具型腔,更不能单纯的凭经验来确定型腔的侧壁和底板的厚度。
模具型腔壁厚的计算,应以最大压力为准。而最大压力是在注射时,熔体充满型腔的瞬间产生,随着塑料的冷却和浇口的冻结,型腔内压力逐渐降低,在开模时接近常压。理论分析和生产实践表明,大尺寸模具型腔刚度不足是主要矛盾,型腔壁厚应以满足刚度条件为准;而对于小尺寸的模具型腔,在发生大的弹性变形前,其内应力往往超过了模具材料的许用应力,因此强度不够是主要矛盾,因此,设计型腔壁厚应以满足强度条件为准。如:组合式圆形型腔,当型腔压力P=49MPa,型腔允许变形量[δ]=0.05mm。型腔材料许用拉应力[σ]=157MPa时,随型腔基本尺寸增大,分别按强度条件和刚度条件计算,则壁厚与半径的关系见表5-3-3,图5-3-18。
表5-3-3 组合圆形型腔壁厚与半径的关系 (mm)
型腔半径 | 20 | 50 | 86 | 100 | 130 | 140 |
按强度算的壁厚 | 13 | 31.5 | 54 | 63 | 76 | 88 |
按刚度算的壁厚 | 2.1 | 15 | 54 | 85 | 149 | 280 |

图5-3-18 组合圆形型腔壁厚与半径的关系图
型腔壁厚的强度计算条件是型腔在各种受力形式下的应力值不得超过模具材料的许用应力,即:σmax≤[σ];型腔壁厚的刚度计算条件应使型腔弹性变形不超过允许变形量,即:δmax ≤[δ]。
一 塑件成型过程中不产生溢料
当高压熔体注入型腔时,模具型腔的某些配合面产生间隙,间隙过大则出现溢料,如图5-3-19所示。这时应根据塑料的粘度特性,在不产生溢料的前提下,将允许的最大间隙值〔δ〕作为型腔的刚度条件。各种塑料的最大不溢料间隙值表5-3-4。

图5-3-19
表5-3-4 不发生溢料的间隙值 (mm)
粘度特性 | 塑料品种举例 | 允许变形值[δ] |
低粘度塑料 | 尼龙(PA)、聚乙烯(PE)、聚丙烯(PP)、聚甲醛(POM) | ≤0.025~0.04 |
中粘度塑料 | 聚苯乙烯(PS)、ABS、聚甲基丙烯酸甲酯(PMMA) | ≤0.05 |
高粘度塑料 | 聚碳酸酯(PC)、聚砜(PSF)、聚苯醛(PPO) | ≤0.06~0.08 |
二 保证塑件的尺寸精度
某些塑件个别部位的尺寸常要求比较高的精度,这就要求模具型腔应具有很好的刚性,以保证塑料熔体注入型腔时不产生过大的弹性变形。此时,型腔的允许变形量〔δ〕由塑件尺寸和公差值来确定。由塑件尺寸精度确定的刚度条件可用表6.5所列的经验公式计算出来。例如:塑件尺寸在200~500mm范围内,其三级和五级精度的公差分别为0.50~1.10mm和1.00~2.20mm,因此,其刚度条件分别为〔δ〕=0.050~0.069mm。
表5-3-55 保证塑件尺寸精度的〔δ〕值 (mm)
塑件尺寸 | 经验公式〔δ〕 |
<10 | Δi/3 |
>10~50 | Δi/[3(1+Δi)] |
>50~200 | Δi/[5(1+Δi)] |
>200~500 | Δi/[10(1+Δi)] |
>500~1000 | Δi/[15(1+Δi)] |
>1000~2000 | Δi/[20(1+Δi)] |
注:i 为塑件精度等级;Δi 为塑件尺寸公差值。
三 保证塑件顺利脱模
如果型腔刚度不足,在熔体高压作用下会产生过大的弹性变形,当变形量超过塑件的收缩率时,塑件周边将被型腔紧紧包住而难以脱模,强制顶出易使塑件划伤或破裂,因此,型腔的允许弹性变形量应小于塑件壁厚的收缩值,即:
〔δ〕< δS (5-3-21)
式中:〔δ〕——保证塑件顺利脱模的型腔允许弹性变形量;
δ——塑件壁厚(mm);
S——塑件的收缩率。
在一般情况下,因塑料的收缩率较大,型腔的弹性变形量不会超过塑料冷却时的收缩值。因此,型腔的刚度要求主要由不溢料和塑件精度来决定的。当塑件某一尺寸同时有几项要求时,应以其中最苛刻的条件作为刚度设计的依据。
型腔尺寸以强度和刚度计算的分界值取决于型腔的形状、结构、模具材料的许用应力、型腔允许的弹性变形量以及型腔内熔体的最大压力。在以上诸因素一定的条件下,以强度计算所需要的壁厚和以刚度计算所需要的壁厚相等时的型腔内尺寸即为强度计算和刚度计算的分界值。在分界值不知道的情况下,应分别按强度条件和刚度条件算出壁厚,取其中较大值作为模具型腔的壁厚。
该文章所属专题:塑料模具设计教程
5-3-3-2 矩形型腔的侧壁和底板厚度的计算
由于型腔的形状、结构形式是多种多样的,同时在成型过程中模具受力状况也很复杂,一些参数难以确定,因此对型腔壁厚作精确的力学计算几乎是不可能的。只能从实用观点出发,对具体的情况作具体的分析,建立接近实际的力学模型,确定较为接近实际的计算参数,采用工程上常用的近似计算法,以满足设计上的需要。对于不规则的型腔,可简化为下面的规则型腔进行近似计算。矩形型腔是指模具型腔横截面呈矩形的结构。按型腔结构可分为组合式和整体式两类。
一 组合式矩形型腔侧壁厚度的计算
组合式矩形型腔侧壁和底板厚度的计算时, 组合式矩形型腔结构有很多种,典型结构如图5-3-20所示:

图5-3-20 组合式矩形型腔结构
1、按刚度条件计算 图5-3-20a表示组合式矩形型腔工作变形情况,在熔体压力作用下,侧壁向外膨胀产生弯曲变形,使侧壁与底间出现间隙,间隙过大将发生溢料或影响塑件尺寸精度。将侧壁每一边都看成是受均匀载荷的端部固定梁,边的最大挠度在梁的中间,其值是:
(5-3-22)
设允许最大变形量为δmax≤[δ],其壁厚按刚度条件的计算式为:
(5-3-23)
式中 s——矩形型腔侧壁厚度(mm);
p——型腔内熔体的压力(
1;所有标注为智造资料网zl.fbzzw.cn的内容均为本站所有,版权均属本站所有,若您需要引用、转载,必须注明来源及原文链接即可,如涉及大面积转载,请来信告知,获取《授权协议》。
2;本网站图片,文字之类版权申明,因为网站可以由注册用户自行上传图片或文字,本网站无法鉴别所上传图片或文字的知识版权,如果侵犯,请及时通知我们,本网站将在第一时间及时删除,相关侵权责任均由相应上传用户自行承担。
[complaint:内容投诉]
智造资料网打造智能制造3D图纸下载,在线视频,软件下载,在线问答综合平台 » 塑料模具设计教程_5-3成型零件的设计(图文教程)

