机械设计基础-公差与配合(图文教程)

一、公差与配合、形状和位置公差

1、互换性

    同一批规格大小相同的零件,任取其中一件,不经选择和再加工,就能顺利地装配成符合使用要求的产品,这种性质称为互换性。在现代化的大量或成批生产中,互换性是工业产品必备的基本性质,日常生活中使用的自行车、钟表等它们所用的零件都有互换性。零件具有互换性,有利于生产分工协作,也有利于采用先进工艺和专用设备进行高效率的专业化生产。这不仅可以缩短生产周期、降低成本和保证质量,还可以为产品提供备件,以利维修。

    公差配合制度是实现互换性的必要条件。国家标准《公差与配合》(GB1800~1804-79)适用于圆柱面及其他由单一尺寸确定的表面或结构的尺寸公差,以及由它们组成的配合。在实际生产中要严格遵守,在图样上必须正确标注。

2、公差与配合的定义及有关术语

1)公差

    在零件的加工过程中,由于受到机床、刀具、夹具、量具和操作者技术水平等方面的影响,加工出来的零件尺寸必然存在一定的误差,一批零件的尺寸也不可能绝对相等。因此,在设计时,为了保证零件的互换性,应根据零件的使用要求和加工条件,合理地给零件的某种尺寸规定一个允许的变动量,这个允许尺寸的变动量就是尺寸公差,简称公差。

由4-1(a)表示孔和轴的配合尺寸为φ50机械设计基础-公差与配合(图文教程),机械设计基础-公差与配合,公差,配合,基础,教程,第1张图4-1(b)、(c)分别注出了孔和轴直径的允许变动量。图4-2是说明图4-1所注尺寸公差与配合的示意图。

   现以轴的尺寸机械设计基础-公差与配合(图文教程),机械设计基础-公差与配合,公差,配合,基础,教程,第2张为例[图4-1(c)](图4-2),介绍有关尺寸公差的术语和定义。

机械设计基础-公差与配合(图文教程),机械设计基础-公差与配合,公差,配合,基础,教程,第3张

(1)基本尺寸 设计给定的尺寸。例如图中φ50。

(2)实际尺寸 通过测量所得的尺寸(存在测量误差)。

(3)极限尺寸 允许尺寸变化的两个界限值,它以基本尺寸为基数来确定。

    最大极限尺寸 两个极限尺寸中较大的一个。例如图中轴的尺寸φ49.991。

    最小极限尺寸 两个极限尺寸中较小的一个。例如图中轴的尺寸φ49.975。

    实际尺寸在两个极限尺寸所决定的区间内算合格。

(4) 尺寸偏差(简称偏差)某一尺寸减去基本尺寸所得的代数差。尺寸偏差有上偏差、下偏差和实际偏差。国家标准规定用代号ES和es分别表示孔和轴的上偏差,用EI和ei分别表示孔和轴的下偏差。上、下偏差统算极限偏差。

    上偏差=最大极限尺寸-基本尺寸。例如图中轴的上偏差es=49.991-50=-0.009。

    下偏差=最小极限尺寸-基本尺寸。例如图中轴的下偏差ei=49.975-50=-0.025。

    偏差可以为正值、负值或零。图4-2(b)中,孔的下偏差EI即为零。

实际尺寸减去基本尺寸所得的代数差称为实际偏差。实际偏差在上、下偏差所决定的区间内算合格。

(5) 尺寸公差(简称公差)允许尺寸的变动量,即

    公差=最大极限尺寸-最小极限尺寸=上偏差-下偏差。例如图4-2中。

    轴的公差=49.991-49.975=-0.009-(-0.025)=0.016。

    公差没有正、负号,它是绝对值,也不能为零。

机械设计基础-公差与配合(图文教程),机械设计基础-公差与配合,公差,配合,基础,教程,第4张

(6) 零线  在公差与配合的图解(简称公差带图)中,确定偏差的一条基准线,即零偏差线。图4-3为公差带图。通常,零偏差线表示基本尺寸。

(7) 尺寸公差带(简称公差带)在公差带图中,由代表上、下偏差的两条直线所规定的一个区域。孔的公差带用向左下方倾斜的45°平行细实线表示,轴的公差带涂黑(一般画点)。

(8) 标准公差  国家标准表列的用以确定公差带相对于零线位置的上偏差或下偏差,一般为靠近零线的那个偏差。例如,图4-2中确定轴公差带位置的基本偏差是上偏差-0.009。

2)配合

    配合是指基本尺寸相同的、相互结合的孔和轴公差带之间的关系。这里的孔和轴主要指圆柱形的内、外表面,也包括内外平面组成的结构。孔和轴配合时,由于它们的实际尺寸不同,将产生间隙或过盈。

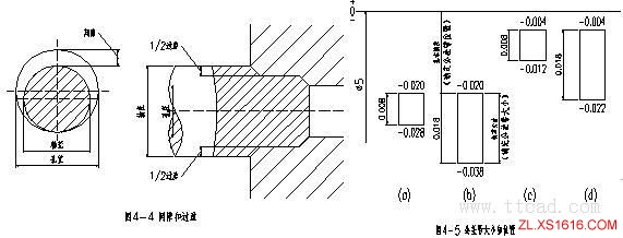
    间隙或过盈  孔的尺寸减去相配合的轴的尺寸所得的代数差。此差值为正时是间隙,为负时是过盈,如图4-4所示。

机械设计基础-公差与配合(图文教程),机械设计基础-公差与配合,公差,配合,基础,教程,第5张

3、标准公差与基本偏差

    在公差与配合中,公差带是个很重要的概念,图4-5是表示公差带大小和公差带位置的示意图。

    例如图4-5中(a)与(b)的上偏差数值相同,说明公差带相对于零线的最近位置相同。下偏差的数值不相同,是因为(a)的公差为0.008mm,(b)的公差为0.018mm,即公差带大小不同。(a)与(c)的公差带位置不同,但公差带大小相同。而(a)与(b)的公差带位置和大小都不同。

由此可见,公差带是由“公差带大小”和“公差带位置”两个要素组成的。公差带大小由“标准公差”确定,公差带位置由“基本偏差”确定,形成标准公差和基本偏差两个系列。从图4-5中可以进一步看出,(a)与(b)基本偏差相等,标准公差不等。(a)与(c)标准公差相等,基本偏差不等,(a)与(d)则标准公差与基本偏差都不等。国家标准对公差带的两个要素分别进行标准化,是为了得到多种不同大小和不同位置的公差带。这样即满足不同的使用要求,又达到简化统一、便于生产的目的。

二、标准公差和公差等级

    标准公差是国家标准表列的公差。标准公差数值与基本尺寸分段和公差等级有关,它不随配合改变,对孔和轴都一样,基本尺寸至500毫米标准公差数值见附录表51。

    公差等级是确定尺寸精确程度的等级。国家标准将公差等级分为20级,即IT01、IT0、IT1、IT2……IT18。IT表示标准公差,它是国际公差(ISO TOLERANCE)的缩写,公差等级的代号用阿拉伯数字表示,二者用同样字号。从IT01至IT18,公差等级依次降低即尺寸精确度依次降低,而相应的标准公差数值则依次增大。这里所说的标准公差随公差等级降低而增大的关系是对同一基本尺寸而言,即在同一基本尺寸分段。

机械设计基础-公差与配合(图文教程),机械设计基础-公差与配合,公差,配合,基础,教程,第6张

    例如,基本尺寸>30~50毫米时,IT6是0.016毫米,IT7是0.025毫米。

    还要注意,属于同一公差等级的公差,对所有基本尺寸,虽数值不同,但被认为具有同等的精确程度。例如,基本尺寸>30~50毫米尺寸分段时,IT7是0.025毫米,而基本尺寸在>400~500毫米尺寸分段时,IT7是0.063毫米,虽然这两个不同尺寸分段的标准公差数值不同,但是它们的公差等级都是7级,则认为它们在使用和制造上具有同等的精确程度。

    选择公差等级时要正确、合理地处理零件使用要求与制造工艺、加工成本之间的关系,在满足使用要求的前提下尽可能选择较低的公差等级。一般配合尺寸中,孔用IT6~IT12,轴用IT5~IT12。机械设计基础-公差与配合(图文教程),机械设计基础-公差与配合,公差,配合,基础,教程,第7张

1、基本偏差

    基本偏差一般是指尺寸的两个极限偏差(上偏差和下偏差)中靠近零线的那个极限偏差,如图4-6所示,根据它的大小和正、负号就决定了公差带对零线的相对位置。当公差带位于零线上方时,基本偏差为下偏差,当公差带位于零线下方时,基本偏差为上偏差。

    为了满足各种配合要求,国家标准根据不同的基本尺寸和基本偏差代号规定了基本偏差系列,如图4-7所示。

    基本偏差代号用拉丁字母及其顺序表示,大写的为孔、小写的为轴。在26个字母中,除去I、L、O、Q、W(i、l、o、q、w)5个字母因为容易与其它含义混淆而不用外,使用21个字母,再增加用2个字母表示的7个,共有28个代号,即孔和轴各有28个基本偏差,如表4-1所示。

尺寸到500毫米的轴的基本偏差数值见附录表52,孔的基本偏差数值见附录表53。

                          孔、轴基本偏差代号                  表4-1

孔和轴

 

基  本  偏  差

下偏差

A  B  C  CD  D  E  EF  F  FG  G  H

上偏差或下偏差

Js=±1T/2

上偏差

J K M N P R S T U V X Y Z ZA ZB ZC

上偏差

a  b  c  cd  d  e  ef  f  fg  g  h

上偏差或下偏差

Js=±1T/2

下偏差

j k m n p s t u v x y z za  zb  ac

    从图4-7和表4-1以及附录表52看出,轴的基本偏差中,从a~h为上偏差es,而且是负值,其绝对值依次减小,其中h的上偏差es=0。js为上偏差(es=+机械设计基础-公差与配合(图文教程),机械设计基础-公差与配合,公差,配合,基础,教程,第8张)或下偏差 (ei=+机械设计基础-公差与配合(图文教程),机械设计基础-公差与配合,公差,配合,基础,教程,第8张)即js与各级标准公差组成的公差带完全对称地分布在零线两侧,所以js的基本偏差认为是上偏差或下偏差都可以,因而在图8-7中画成两端都开口,从j~zc为下偏差ei,基中j是负值,其他都是正值,其绝对值依次增大。J的上、下偏差近似对称于零线。从附表52看到j只有5~8级公差,其他将逐渐被js取代。

原则上,基本偏差与公差等级无关,但有少数基本偏差对不同的公差等级使用不同的数值,如j即是,又如k在4~7级使用一种数值,而其他公差等级内全部是零。所以,在图4-7中,k表示了二种位置,其基本偏差分成高低不同的两个部分。

机械设计基础-公差与配合(图文教程),机械设计基础-公差与配合,公差,配合,基础,教程,第10张

 

    从图4-7和附录表53对照看出,孔的基本偏差中,从A~H,下偏差E1为基本偏差,而且是正值,其绝对值依次减小,其中H的下偏差E1=0。从J~ZC,上偏差ES为基本偏差,其中J是正值,K~ZC都是负值,其绝对值依次增大。孔、轴对照,同一字母表示的孔和轴的基本偏差,其绝对值相等,而正负号相反,相对于零线成反射关系,但应注意,从J~ZC,只有在公差等级较低时才有这种反射关系。

基本偏差系列图只表示公差带属于基本偏差的一端,另一端是开口的,如图4-7所示,公差带在图中画成半封闭形式,公差带的另一端取决于各级标准公差的大小。因此,根据孔、轴的基本偏差和标准公差,就可以计算孔、轴的另一个偏差。

对于孔的另一个偏差(上偏差或下偏差)为:

ES=E1+1T    或    E1=ES-1T

对于轴的另一个偏差(上偏差或下偏差)为:

es=ei+1T     或     ei=es-1T

2、配合类别和基准制

1)配合类别

    根据孔和轴公差带的关系,或者说按配合零件结合面形成间隙或过盈的情况,配合分三类,即间隙配合、过盈配合和过渡配合。

    间隙配合  具有间隙(包括最小间隙等于零)的配合。这时,孔的公差带在轴的公差带之上。如图4-8所示。

机械设计基础-公差与配合(图文教程),机械设计基础-公差与配合,公差,配合,基础,教程,第11张

(1)     

最大间隙=孔的最大极限尺寸-轴的最小极限尺寸

最小间隙=孔的最小极限尺寸-轴的最大极限尺寸

机械设计基础-公差与配合(图文教程),机械设计基础-公差与配合,公差,配合,基础,教程,第12张

(1)过盈配合  具有过盈(包括最小过盈等于零)的配合。这时,孔的公差带在轴的公差带之下,如图4-9所示。

最大过盈=孔的最小极限尺寸-轴的最大极限尺寸

最小过盈=孔的最大极限尺寸-轴的最小极限尺寸

(2)过渡配合  可能具有间隙,也可能具有过盈的配合。这时,孔的公差带和轴的公差带相互交叠,可以有各种情况,如图4-10、图4-11所示。

机械设计基础-公差与配合(图文教程),机械设计基础-公差与配合,公差,配合,基础,教程,第13张

(3)     

过渡配合一般只计算最大间隙和最大过盈。

最大间隙=孔的最大极限尺寸-轴的最小极限尺寸

最大过盈=孔的最大极限尺寸-轴的最大极限尺寸

在规定具有过渡配合性质的一批零件的公差时,允许得到间隙或过盈的配合。但对装配好的一对零件,则只得到一种结果。

2)基准制

    为实现配合标准化,国家标准规定两种基准制,即基孔制和基轴制。

(1)基孔制  基本偏差为一定的孔的公差带与不同基本偏差的轴的公差带形成各种配合的制度。基孔制的配合中,孔为基准件,国家标准规定基准孔的代号为H,其下偏差EI=0。

(2)基轴制  基本偏差为一定的轴的公差带与不同基本偏差的孔的公差带形成各种配合的制度。基轴制配合中,轴为基准件,国家标准规定基准轴的代号为h,其上偏差es=0。

基孔制和其轴制各有三种类型的配合,如图4-11和图4-12所示。

    基准制是规定配合系列的基础。采用基准制是为了统一基准件的极限偏差以获得最大的技术经济效果。选择时,应从结构、工艺和经济性等方面分析确定。一般情况下,优先使用基孔制,因为加工相同公差等级的孔和轴,加工孔比加工轴要困难此。基轴制仅用于有明显经济效益的场合。例如,直接用冷拉棒料作轴,外圆不需加工,或者同一基本尺寸的各个部分需要安装不同配合的零件,如图4-13所示的活塞销,与连杆衬套采用间隙配合,而与活塞上的孔则采用过渡配合。机械设计基础-公差与配合(图文教程),机械设计基础-公差与配合,公差,配合,基础,教程,第14张

    与标准件配合时,基准制的选择依标准件而定,例如,与滚动轴承配合的轴用基孔制,与滚动轴承外圈配合的轴孔则采用基轴制,图4-14所示。

机械设计基础-公差与配合(图文教程),机械设计基础-公差与配合,公差,配合,基础,教程,第15张

    尺寸至500毫米基孔制优先、常用配合      表4-2

a    b    c    d    e    f    g    h

js     k     m

n    p    r    s    i    u    v    x    y    z

 

间  隙   配  合

过 渡 配 合

过  盈  配  合

H6

机械设计基础-公差与配合(图文教程),机械设计基础-公差与配合,公差,配合,基础,教程,第16张   机械设计基础-公差与配合(图文教程),机械设计基础-公差与配合,公差,配合,基础,教程,第17张   机械设计基础-公差与配合(图文教程),机械设计基础-公差与配合,公差,配合,基础,教程,第18张

机械设计基础-公差与配合(图文教程),机械设计基础-公差与配合,公差,配合,基础,教程,第19张  机械设计基础-公差与配合(图文教程),机械设计基础-公差与配合,公差,配合,基础,教程,第20张  机械设计基础-公差与配合(图文教程),机械设计基础-公差与配合,公差,配合,基础,教程,第21张

机械设计基础-公差与配合(图文教程),机械设计基础-公差与配合,公差,配合,基础,教程,第22张  机械设计基础-公差与配合(图文教程),机械设计基础-公差与配合,公差,配合,基础,教程,第23张  机械设计基础-公差与配合(图文教程),机械设计基础-公差与配合,公差,配合,基础,教程,第24张 机械设计基础-公差与配合(图文教程),机械设计基础-公差与配合,公差,配合,基础,教程,第25张  机械设计基础-公差与配合(图文教程),机械设计基础-公差与配合,公差,配合,基础,教程,第26张

H7

机械设计基础-公差与配合(图文教程),机械设计基础-公差与配合,公差,配合,基础,教程,第27张  机械设计基础-公差与配合(图文教程),机械设计基础-公差与配合,公差,配合,基础,教程,第28张机械设计基础-公差与配合(图文教程),机械设计基础-公差与配合,公差,配合,基础,教程,第29张机械设计基础-公差与配合(图文教程),机械设计基础-公差与配合,公差,配合,基础,教程,第30张机械设计基础-公差与配合(图文教程),机械设计基础-公差与配合,公差,配合,基础,教程,第29张

机械设计基础-公差与配合(图文教程),机械设计基础-公差与配合,公差,配合,基础,教程,第32张 机械设计基础-公差与配合(图文教程),机械设计基础-公差与配合,公差,配合,基础,教程,第33张机械设计基础-公差与配合(图文教程),机械设计基础-公差与配合,公差,配合,基础,教程,第29张 机械设计基础-公差与配合(图文教程),机械设计基础-公差与配合,公差,配合,基础,教程,第35张 机械设计基础-公差与配合(图文教程),机械设计基础-公差与配合,公差,配合,基础,教程,第36张机械设计基础-公差与配合(图文教程),机械设计基础-公差与配合,公差,配合,基础,教程,第29张

机械设计基础-公差与配合(图文教程),机械设计基础-公差与配合,公差,配合,基础,教程,第38张机械设计基础-公差与配合(图文教程),机械设计基础-公差与配合,公差,配合,基础,教程,第29张 机械设计基础-公差与配合(图文教程),机械设计基础-公差与配合,公差,配合,基础,教程,第40张 机械设计基础-公差与配合(图文教程),机械设计基础-公差与配合,公差,配合,基础,教程,第41张机械设计基础-公差与配合(图文教程),机械设计基础-公差与配合,公差,配合,基础,教程,第29张 机械设计基础-公差与配合(图文教程),机械设计基础-公差与配合,公差,配合,基础,教程,第43张 机械设计基础-公差与配合(图文教程),机械设计基础-公差与配合,公差,配合,基础,教程,第44张机械设计基础-公差与配合(图文教程),机械设计基础-公差与配合,公差,配合,基础,教程,第29张 机械设计基础-公差与配合(图文教程),机械设计基础-公差与配合,公差,配合,基础,教程,第46张 机械设计基础-公差与配合(图文教程),机械设计基础-公差与配合,公差,配合,基础,教程,第47张 机械设计基础-公差与配合(图文教程),机械设计基础-公差与配合,公差,配合,基础,教程,第48张 机械设计基础-公差与配合(图文教程),机械设计基础-公差与配合,公差,配合,基础,教程,第49张

H8

机械设计基础-公差与配合(图文教程),机械设计基础-公差与配合,公差,配合,基础,教程,第50张 机械设计基础-公差与配合(图文教程),机械设计基础-公差与配合,公差,配合,基础,教程,第51张机械设计基础-公差与配合(图文教程),机械设计基础-公差与配合,公差,配合,基础,教程,第29张机械设计基础-公差与配合(图文教程),机械设计基础-公差与配合,公差,配合,基础,教程,第53张   机械设计基础-公差与配合(图文教程),机械设计基础-公差与配合,公差,配合,基础,教程,第54张机械设计基础-公差与配合(图文教程),机械设计基础-公差与配合,公差,配合,基础,教程,第29张

机械设计基础-公差与配合(图文教程),机械设计基础-公差与配合,公差,配合,基础,教程,第56张  机械设计基础-公差与配合(图文教程),机械设计基础-公差与配合,公差,配合,基础,教程,第57张  机械设计基础-公差与配合(图文教程),机械设计基础-公差与配合,公差,配合,基础,教程,第58张 机械设计基础-公差与配合(图文教程),机械设计基础-公差与配合,公差,配合,基础,教程,第59张  机械设计基础-公差与配合(图文教程),机械设计基础-公差与配合,公差,配合,基础,教程,第60张

机械设计基础-公差与配合(图文教程),机械设计基础-公差与配合,公差,配合,基础,教程,第61张  机械设计基础-公差与配合(图文教程),机械设计基础-公差与配合,公差,配合,基础,教程,第62张  机械设计基础-公差与配合(图文教程),机械设计基础-公差与配合,公差,配合,基础,教程,第63张  机械设计基础-公差与配合(图文教程),机械设计基础-公差与配合,公差,配合,基础,教程,第64张

机械设计基础-公差与配合(图文教程),机械设计基础-公差与配合,公差,配合,基础,教程,第65张  机械设计基础-公差与配合(图文教程),机械设计基础-公差与配合,公差,配合,基础,教程,第66张  机械设计基础-公差与配合(图文教程),机械设计基础-公差与配合,公差,配合,基础,教程,第67张      机械设计基础-公差与配合(图文教程),机械设计基础-公差与配合,公差,配合,基础,教程,第68张

 

H9

机械设计基础-公差与配合(图文教程),机械设计基础-公差与配合,公差,配合,基础,教程,第69张  机械设计基础-公差与配合(图文教程),机械设计基础-公差与配合,公差,配合,基础,教程,第70张机械设计基础-公差与配合(图文教程),机械设计基础-公差与配合,公差,配合,基础,教程,第29张  机械设计基础-公差与配合(图文教程),机械设计基础-公差与配合,公差,配合,基础,教程,第72张  机械设计基础-公差与配合(图文教程),机械设计基础-公差与配合,公差,配合,基础,教程,第73张 机械设计基础-公差与配合(图文教程),机械设计基础-公差与配合,公差,配合,基础,教程,第74张机械设计基础-公差与配合(图文教程),机械设计基础-公差与配合,公差,配合,基础,教程,第29张

 

H10

机械设计基础-公差与配合(图文教程),机械设计基础-公差与配合,公差,配合,基础,教程,第76张  机械设计基础-公差与配合(图文教程),机械设计基础-公差与配合,公差,配合,基础,教程,第77张              机械设计基础-公差与配合(图文教程),机械设计基础-公差与配合,公差,配合,基础,教程,第78张

 

H11

机械设计基础-公差与配合(图文教程),机械设计基础-公差与配合,公差,配合,基础,教程,第79张 机械设计基础-公差与配合(图文教程),机械设计基础-公差与配合,公差,配合,基础,教程,第80张 机械设计基础-公差与配合(图文教程),机械设计基础-公差与配合,公差,配合,基础,教程,第81张机械设计基础-公差与配合(图文教程),机械设计基础-公差与配合,公差,配合,基础,教程,第29张 机械设计基础-公差与配合(图文教程),机械设计基础-公差与配合,公差,配合,基础,教程,第83张      机械设计基础-公差与配合(图文教程),机械设计基础-公差与配合,公差,配合,基础,教程,第80张机械设计基础-公差与配合(图文教程),机械设计基础-公差与配合,公差,配合,基础,教程,第29张

 

H12

机械设计基础-公差与配合(图文教程),机械设计基础-公差与配合,公差,配合,基础,教程,第86张               机械设计基础-公差与配合(图文教程),机械设计基础-公差与配合,公差,配合,基础,教程,第87张

优先:13

常用:59

          尺寸至500毫米基轴基轴制优先、常用配合            表4-3

A  B  C  D  E  F  G  H

Js  K  M

N   P   R   S   T   U

 

间隙配合

过渡配合

过盈配合

h5

机械设计基础-公差与配合(图文教程),机械设计基础-公差与配合,公差,配合,基础,教程,第88张  机械设计基础-公差与配合(图文教程),机械设计基础-公差与配合,公差,配合,基础,教程,第89张  机械设计基础-公差与配合(图文教程),机械设计基础-公差与配合,公差,配合,基础,教程,第18张

机械设计基础-公差与配合(图文教程),机械设计基础-公差与配合,公差,配合,基础,教程,第91张机械设计基础-公差与配合(图文教程),机械设计基础-公差与配合,公差,配合,基础,教程,第92张机械设计基础-公差与配合(图文教程),机械设计基础-公差与配合,公差,配合,基础,教程,第93张

机械设计基础-公差与配合(图文教程),机械设计基础-公差与配合,公差,配合,基础,教程,第94张 机械设计基础-公差与配合(图文教程),机械设计基础-公差与配合,公差,配合,基础,教程,第95张  机械设计基础-公差与配合(图文教程),机械设计基础-公差与配合,公差,配合,基础,教程,第96张 机械设计基础-公差与配合(图文教程),机械设计基础-公差与配合,公差,配合,基础,教程,第97张 机械设计基础-公差与配合(图文教程),机械设计基础-公差与配合,公差,配合,基础,教程,第98张

h6

机械设计基础-公差与配合(图文教程),机械设计基础-公差与配合,公差,配合,基础,教程,第99张 机械设计基础-公差与配合(图文教程),机械设计基础-公差与配合,公差,配合,基础,教程,第100张机械设计基础-公差与配合(图文教程),机械设计基础-公差与配合,公差,配合,基础,教程,第101张 机械设计基础-公差与配合(图文教程),机械设计基础-公差与配合,公差,配合,基础,教程,第30张机械设计基础-公差与配合(图文教程),机械设计基础-公差与配合,公差,配合,基础,教程,第101张

机械设计基础-公差与配合(图文教程),机械设计基础-公差与配合,公差,配合,基础,教程,第104张机械设计基础-公差与配合(图文教程),机械设计基础-公差与配合,公差,配合,基础,教程,第62张机械设计基础-公差与配合(图文教程),机械设计基础-公差与配合,公差,配合,基础,教程,第101张机械设计基础-公差与配合(图文教程),机械设计基础-公差与配合,公差,配合,基础,教程,第107张机械设计基础-公差与配合(图文教程),机械设计基础-公差与配合,公差,配合,基础,教程,第108张机械设计基础-公差与配合(图文教程),机械设计基础-公差与配合,公差,配合,基础,教程,第101张

机械设计基础-公差与配合(图文教程),机械设计基础-公差与配合,公差,配合,基础,教程,第110张机械设计基础-公差与配合(图文教程),机械设计基础-公差与配合,公差,配合,基础,教程,第101张机械设计基础-公差与配合(图文教程),机械设计基础-公差与配合,公差,配合,基础,教程,第112张机械设计基础-公差与配合(图文教程),机械设计基础-公差与配合,公差,配合,基础,教程,第113张机械设计基础-公差与配合(图文教程),机械设计基础-公差与配合,公差,配合,基础,教程,第101张机械设计基础-公差与配合(图文教程),机械设计基础-公差与配合,公差,配合,基础,教程,第115张机械设计基础-公差与配合(图文教程),机械设计基础-公差与配合,公差,配合,基础,教程,第116张机械设计基础-公差与配合(图文教程),机械设计基础-公差与配合,公差,配合,基础,教程,第101张

h7

机械设计基础-公差与配合(图文教程),机械设计基础-公差与配合,公差,配合,基础,教程,第118张 机械设计基础-公差与配合(图文教程),机械设计基础-公差与配合,公差,配合,基础,教程,第119张机械设计基础-公差与配合(图文教程),机械设计基础-公差与配合,公差,配合,基础,教程,第101张 机械设计基础-公差与配合(图文教程),机械设计基础-公差与配合,公差,配合,基础,教程,第54张机械设计基础-公差与配合(图文教程),机械设计基础-公差与配合,公差,配合,基础,教程,第101张

机械设计基础-公差与配合(图文教程),机械设计基础-公差与配合,公差,配合,基础,教程,第123张 机械设计基础-公差与配合(图文教程),机械设计基础-公差与配合,公差,配合,基础,教程,第124张 机械设计基础-公差与配合(图文教程),机械设计基础-公差与配合,公差,配合,基础,教程,第125张 机械设计基础-公差与配合(图文教程),机械设计基础-公差与配合,公差,配合,基础,教程,第126张

 

h8

机械设计基础-公差与配合(图文教程),机械设计基础-公差与配合,公差,配合,基础,教程,第127张  机械设计基础-公差与配合(图文教程),机械设计基础-公差与配合,公差,配合,基础,教程,第128张  机械设计基础-公差与配合(图文教程),机械设计基础-公差与配合,公差,配合,基础,教程,第129张   机械设计基础-公差与配合(图文教程),机械设计基础-公差与配合,公差,配合,基础,教程,第68张

 

h9

机械设计基础-公差与配合(图文教程),机械设计基础-公差与配合,公差,配合,基础,教程,第131张机械设计基础-公差与配合(图文教程),机械设计基础-公差与配合,公差,配合,基础,教程,第101张 机械设计基础-公差与配合(图文教程),机械设计基础-公差与配合,公差,配合,基础,教程,第133张 机械设计基础-公差与配合(图文教程),机械设计基础-公差与配合,公差,配合,基础,教程,第134张  机械设计基础-公差与配合(图文教程),机械设计基础-公差与配合,公差,配合,基础,教程,第135张机械设计基础-公差与配合(图文教程),机械设计基础-公差与配合,公差,配合,基础,教程,第101张

 

h10

机械设计基础-公差与配合(图文教程),机械设计基础-公差与配合,公差,配合,基础,教程,第137张           机械设计基础-公差与配合(图文教程),机械设计基础-公差与配合,公差,配合,基础,教程,第138张

 

h11

机械设计基础-公差与配合(图文教程),机械设计基础-公差与配合,公差,配合,基础,教程,第139张机械设计基础-公差与配合(图文教程),机械设计基础-公差与配合,公差,配合,基础,教程,第140张机械设计基础-公差与配合(图文教程),机械设计基础-公差与配合,公差,配合,基础,教程,第141张机械设计基础-公差与配合(图文教程),机械设计基础-公差与配合,公差,配合,基础,教程,第101张机械设计基础-公差与配合(图文教程),机械设计基础-公差与配合,公差,配合,基础,教程,第143张 机械设计基础-公差与配合(图文教程),机械设计基础-公差与配合,公差,配合,基础,教程,第144张机械设计基础-公差与配合(图文教程),机械设计基础-公差与配合,公差,配合,基础,教程,第101张

 

h12

机械设计基础-公差与配合(图文教程),机械设计基础-公差与配合,公差,配合,基础,教程,第146张           机械设计基础-公差与配合(图文教程),机械设计基础-公差与配合,公差,配合,基础,教程,第147张

优先:13

常用:47

    有特殊需要时,允许采用任一孔、轴公差带组成配合。

3、常用和优先选用的公差带与配合

    按照配合定义,只要把基本尺寸相同的孔、轴公差带组合起来就可以组成不同的配合。因为标准公差有20个公差等级,基本偏差有28个代号,所以能得到大量不同大小和位置的公差带,也就可以组成大量的配合。使用过多的公差带,既发挥不了标准化应有的作用,不利于生产,而且公差等级差别较大的孔、轴公差带配合也不合理。因此,国家标准规定了一般、常用和优先选用的孔、轴公差带和与之相应的常用和优先选用的配合。基孔制的常用配合有59种,其中包括优先的13种,见表4-2。基轴制的常用配合有47种,其中优先的也是13种,见表4-3。在表4-2和4-3中,右上角有符合“机械设计基础-公差与配合(图文教程),机械设计基础-公差与配合,公差,配合,基础,教程,第101张”者为优先选用的配合。

从表4-2和表4-3规定的配合中看出,以1T8为界,孔、轴公差等级有如下关系:

(1)1T8的孔可与同级的或高一级的轴配合,如机械设计基础-公差与配合(图文教程),机械设计基础-公差与配合,公差,配合,基础,教程,第149张机械设计基础-公差与配合(图文教程),机械设计基础-公差与配合,公差,配合,基础,教程,第150张机械设计基础-公差与配合(图文教程),机械设计基础-公差与配合,公差,配合,基础,教程,第129张机械设计基础-公差与配合(图文教程),机械设计基础-公差与配合,公差,配合,基础,教程,第119张

(2)高于1T8的孔均采用与高一级的轴配合,如机械设计基础-公差与配合(图文教程),机械设计基础-公差与配合,公差,配合,基础,教程,第153张机械设计基础-公差与配合(图文教程),机械设计基础-公差与配合,公差,配合,基础,教程,第99张

(3)低于1T8的孔均采用与同级轴配合,如机械设计基础-公差与配合(图文教程),机械设计基础-公差与配合,公差,配合,基础,教程,第155张机械设计基础-公差与配合(图文教程),机械设计基础-公差与配合,公差,配合,基础,教程,第134张

    为了使用方便,国家标准对规定的孔、轴公差带列有极限偏差表。本书附录列有优先选用和常用的公差带极限偏差,见附录表54和附录表55。

三、公差与配合的标准和查表

    在图样上标注公差与配合时,应遵守国家标准(GB1800~1804-79)和GB4458.5—84公差带代号和配合代号的标注规定。

机械设计基础-公差与配合(图文教程),机械设计基础-公差与配合,公差,配合,基础,教程,第157张

1、在装配图上的注法

    在装配图上标注基本尺寸相同的两个零件结合在一起的公差与配合时,国家标准规定在基本尺寸后面标注配合代号。配合代号用孔、轴公差带组成的分数形式表示,分子为孔的公差带代号,分母为轴的公差带代号,见图4-15(a)所示。必要时也允许用(b)、(c)的形式标注,公差带代号由基本偏差代号和公差等级代号组成,孔的基本偏差代号用大写,轴的基本偏差代号用小写,且代号字体大小均相同。

机械设计基础-公差与配合(图文教程),机械设计基础-公差与配合,公差,配合,基础,教程,第158张

    在装配图上上标注相配合零件的极限偏差时,一般按图4-16(a)的形式标注,孔的基本尺寸和极限偏差注写在尺寸线的上方,轴的基本尺寸和极限偏差注写在尺寸线的下方。也可以用图4-16(b)的形式标注。若需要明确指出装配件的代号时,则可按图4-16(b)的形式标注。

机械设计基础-公差与配合(图文教程),机械设计基础-公差与配合,公差,配合,基础,教程,第159张

    标注标准件、外购件与零件(孔或轴)的配合代号时,可以仅标注相配零件的公差带代号,图4-17为与标准件滚动轴承相配时的配合代号注法。

    孔和轴主要指圆柱形的内、外表面,也包括其他内、外表面中由单一尺寸决定的部分,其在装配图上的注法如图4-18所示。

    凡分子中含有H的为基孔制配合的基准孔,凡分母中含有h的为基轴制配合的基准轴,如果分子中含有H而分母中含有h的配合,如机械设计基础-公差与配合(图文教程),机械设计基础-公差与配合,公差,配合,基础,教程,第54张,一般认为是基孔制配合,但也可认为是基轴制配合,这是最小间隙为零的一种间隙配合。

机械设计基础-公差与配合(图文教程),机械设计基础-公差与配合,公差,配合,基础,教程,第161张

2、在零件图上的注法

   在零件图上标注孔或轴的公差有三种形式:

(1)在孔或轴的基本尺寸后面标注公差带代号,如图4-19(a)所示。

(2)在孔或轴的基本尺寸后面标注该公差带的极限偏差,如图4-19(b)所示。

(3)在孔或轴的基本尺寸后面同时注出公差代号和极限偏差数值,这时,极限偏差数值必须加括号,如图4-19(c)所示。

机械设计基础-公差与配合(图文教程),机械设计基础-公差与配合,公差,配合,基础,教程,第162张

    当标注极限偏差时,上偏差注在基本尺寸的右上方,下偏差位于上偏差的下方,且应与基本尺寸注在同一底线上。上、下偏差的小数点必须对齐,小数点后的位数也必须相同,偏差数值前必须注出正负号。偏差数值的字号比基本尺寸数字的字号小一号。当上偏差或下偏差为零时,用数字“0”标出,并与另一偏差小数点前的个位数对齐,如图4-19(b)所示。偏差数值表所列的单位是微米,标注时必须换算成毫米标出。

机械设计基础-公差与配合(图文教程),机械设计基础-公差与配合,公差,配合,基础,教程,第163张

    当上、下偏差数值相同而符合相反时,则在基本尺寸后面注上“±”,再填写一个偏差数值,其数字高度与基本尺寸数字相同,如图4-20所示。

    当同一基本尺寸的表面各段配合要求不同时,可用细实线分开,并在各段上分别注出基本尺寸和相应的公差带代号或者偏差数值,如图4-21。

图4-22是角度公差的注法。

机械设计基础-公差与配合(图文教程),机械设计基础-公差与配合,公差,配合,基础,教程,第164张

3、查表举列

[例1]确定φ50H8的上、下偏差

解  H8为孔的公差带代号,查孔的极限偏差表(附录表55),在基本尺寸>40~50分段和公表带H8的行列中找到+390,即得孔的尺寸机械设计基础-公差与配合(图文教程),机械设计基础-公差与配合,公差,配合,基础,教程,第165张

[例2]确定φ50h6的上、下偏差。

解  h6为轴的公差带代号、查轴的极限偏差表(附录表54),在基本尺寸>40~50分段和公差带h6的行列中换到-16,即得轴的尺寸机械设计基础-公差与配合(图文教程),机械设计基础-公差与配合,公差,配合,基础,教程,第166张

[例3]确定φ30机械设计基础-公差与配合(图文教程),机械设计基础-公差与配合,公差,配合,基础,教程,第57张中孔和轴的上、下偏差,并说明其基准制和配合类别。

解  从表4-2可知,这是基孔制常用过渡配合。由孔、轴极限偏差表(附表54和附表55)查得极限偏差,得孔和轴的尺寸,孔为机械设计基础-公差与配合(图文教程),机械设计基础-公差与配合,公差,配合,基础,教程,第168张,轴为机械设计基础-公差与配合(图文教程),机械设计基础-公差与配合,公差,配合,基础,教程,第169张,孔的公差为33微米,轴的公差为21微米,其值与附表52、53标准公差表查得的数值相同。图4-23是公差带图,从图中孔、轴公差带的关系就表明是过渡配合,其最大间隙=0.033-0.002=0.031mm;最大过盈=0-0.023=-0.023mm(见图4-23)。

[例4]确定机械设计基础-公差与配合(图文教程),机械设计基础-公差与配合,公差,配合,基础,教程,第170张φ20中孔、轴的上、下偏差,并说明其基准制和配合类别

解  从表4-3可知,这是基轴制优先间隙配合。由孔、轴极限偏差表查得极限偏差,得孔的尺寸机械设计基础-公差与配合(图文教程),机械设计基础-公差与配合,公差,配合,基础,教程,第171张和轴的尺寸机械设计基础-公差与配合(图文教程),机械设计基础-公差与配合,公差,配合,基础,教程,第172张,孔的公差33微米,轴的公差21微米,和标准公差表查得的公差数值相同。图4-24是公差带图,其中孔、轴公差带的关系表明是间隙配合,其最大间隙=+0.053-(-0.021)=0.074mm;最小间隙=+0.20-0=0.020mm(见图4-24)。

机械设计基础-公差与配合(图文教程),机械设计基础-公差与配合,公差,配合,基础,教程,第173张

四、形状和位置公差

1、概念

    零件经过加工后,不仅产生尺寸误差,也会产生表面形状和位置误差。形状误差指加工后实际表面形状对理想表面形状的误差。如图4-25的小轴,加工后符合的尺寸公差要求,但由于它产生严重的直线度误差,如图中双点划线所示的情况,就使小轴无法装配使用。

机械设计基础-公差与配合(图文教程),机械设计基础-公差与配合,公差,配合,基础,教程,第174张

 

机械设计基础-公差与配合(图文教程),机械设计基础-公差与配合,公差,配合,基础,教程,第175张

    位置误差指零件的各表面之间、轴线之间或表面与轴线之间的实际相对位置对理想相对位置的误差,如图4-26的轴套,其左端面对轴线产生了垂直度误差,这样,就使轴套无法与其他零件的端面紧密结合。因此,对一些零件的重要工作面和轴线常规定出形状和位置所允许的变动全量即形状和位置公差(简称形位公差)。检测时,只要实际形状和位置在给定的公差范围内就算合格。形位公差也是满足零件使用要求、保证互换性、评定产品质量的一项措施。

    形位公差的术语、定义、代号注法及检测规定等内容详见国家标准《形状和位置公差》(GB1182~1184—80、GB1958—80),下面仅作简单介绍。

机械设计基础-公差与配合(图文教程),机械设计基础-公差与配合,公差,配合,基础,教程,第176张

2、形位公差的代号

    在图样上,形位公差应采用代号标注,当无法采用代号标注时,允许在技术要求中用文字说明。

形位公差代号由形位公差有关项目的符号、框格和指引线、

免责声明:
1;所有标注为智造资料网zl.fbzzw.cn的内容均为本站所有,版权均属本站所有,若您需要引用、转载,必须注明来源及原文链接即可,如涉及大面积转载,请来信告知,获取《授权协议》。
2;本网站图片,文字之类版权申明,因为网站可以由注册用户自行上传图片或文字,本网站无法鉴别所上传图片或文字的知识版权,如果侵犯,请及时通知我们,本网站将在第一时间及时删除,相关侵权责任均由相应上传用户自行承担。
[complaint:内容投诉]
智造资料网打造智能制造3D图纸下载,在线视频,软件下载,在线问答综合平台 » 机械设计基础-公差与配合(图文教程)