用视图表达机件时,机件不可见的机构(内部或背面)形状都用虚线表示,如图8-9所示。不可见的结构形状愈复杂,视图中虚线就愈多,这样,就会使图形不够清晰,既不利于看图,又不便于标注尺寸。为此,机件不可见的内部结构形状常采用剖视图(GB/T17452-1998)表达。

一、 剖视图的概念
1.剖视图的形成
剖切被表达物体的假想平面或曲面,称为剖切面。

假想用剖切面剖开机件,将处在观察者与剖切面之间的部分移去,而将其余部分向投影面投射,所得的图形,称为剖视图(简称剖视)。剖视图主要用于表达机件的内部结构形状。
如图8-10b所示机件,其主视图是沿前、后对称平面剖切后画出的剖视图。
2. 剖面符号
假想用剖切面剖开物体,剖切面与物体的接触部分,称为剖切区域(GB/T17452-1998)。
根据国家标准《技术制图》(GB/T17452-1998)中规定,剖面区域要画出剖面符号,并且规定不同材料要用不同的剖面符号。各种材料的剖面符号,如图8-1所示。
画金属材料的剖面符号时,应遵守下述规定:

(1)金属材料的剖面符号(也称剖面线)为与水平方向成45°(向左、右倾斜均可)且间隔相等的细实线。
(2)同一机件所有各剖视图和断面图中的剖面线的方向应相同,其间隙也应相等。
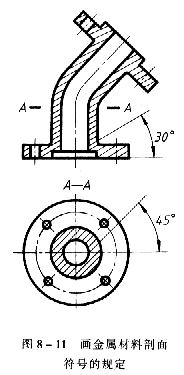
(3)当图形的主要轮廓线与水平线成45°或接近45°时,则该图形的剖面线应改画成与水平方向成30°或60°的平行线,但倾斜方向和间隙仍应与同一机件其他图形的剖面线一致,如图8-11所示。
3. 画剖视图注意事项
(1) 剖切平面应通过机件的对称平面和孔、糟的轴线(在图上应沿对称线、轴线、对称中心线),以便反映结构的真形,应避免剖切出不完整要素或不反映真形的剖面区域。
(2)剖切是假想的,实际上并没有把机件切去一部分,因此,当机件的某一个视图画成剖视图以后,其他视图仍应按机件完整时的情形画出,图8-12中的俯视图只画一半是错误的。
(3)剖切屏面后方的可见轮廓线应全部画出,不能遗漏,如图8-12中的主视图上漏画了圆柱孔的阶台面。剖切平面前方在已剖去部分上的可见轮廓线不应画出,如图8-12中的主视图上多画了已剖去部分。


(4)剖视图中一般不画不可见轮廓线。只有当需要在剖视图上表达这些结构,否则会增加视图数量时,才画出必要的虚线,如图8-13b中相互垂直的两条虚线应画出。
(5)根据需要可同时将几个视图画成剖视图,它们之间相互独立,各有所用,互不影响,如图8-11中主、俯视图都画成剖视图。
4. 剖视图的标注(GB/T17452-1998)
剖视图一般应标注剖视图的名称、剖切位置、投射方向,因此,剖视图的标注是用剖切符号、剖切线和剖切部位名称的组合,剖切线也可省略不画。
剖切符号 指示剖切面起讫和转折位置(用粗短画表示)及投射方向(用箭头表示)。
剖切线 指示剖切面位置的线(用细线画线表示),也可省略不画。
剖切部位名称 指示剖视图的名称(用大写拉丁字母表示)。
剖视图的具体标注方法如下:
(1)用线宽(1~1.5)b、长5~10mm断开的粗实线(粗短画)表示剖切面的起讫和转折位置,为了不影响图形清晰,剖切符号中的粗短画应避免与图形轮廓线相交或重合。
(2)在表示剖切平面起讫的粗短画外侧画出与其相垂直的箭头,表示剖切后的投射方向。
(3)在表示剖切平面起讫和转折位置的粗短画外侧写上相同的大写拉丁字母“Χ”,并在相应剖视图的上方正中位置用同样字母标注出剖视图的名称“Χ-Χ”,字母一律按水平位置书写,字头朝上
剖视图省略标注有以下两种情况:
(1)当剖视图按投影关系配置,而中间又没有其他图形隔开时,可省略剖切符号中的箭头,如图8-15所示的俯视图上画成半剖视图A-A的剖切符号中省略了箭头。
(2)用单一剖切平面通过机件的对称平面或基本上对称的平面,且剖视图按投影关系配置,而中间又没有其他图形隔开时,可省略标注,如图8-14c所示的主视图上画成的全剖视图省略了标注。
该文章所属专题:机械制图教程
二、剖视图的种类
按机件内部结构的表达需要及其剖切范围,剖视图可分为全剖视图、半剖视图、局部剖视图。
a) 全剖视图
用剖切平面完全地剖开机件所得的剖视图,称为全剖视图。
当不对称的机件的外形比较简单,或外形已在其他视图上表达清楚,内部结构比较复杂时,常采用全剖视图表达机件的内部结构形状,如图8-14c所示。
全剖视图当剖切平面通过机件的对称平面且按投影关系配置。中间又无其他图形隔开时,可省略标注,如图8-14c所示的主视图上画成的全剖视图。而左视图上的全剖视图不具备省略标注的条件,则必须按规定方法标注。
b) 半剖视图
当机件具有对称平面时,向垂直于机件的对称平面投影面上投射所得的图形。以对称线(细点画线)为界,一半画成剖视图,另一般画成视图,这样组合的图形,称为半剖视图。如图8-15所示机件的主、俯、左视图都是画成半剖视图。
半剖视图主要用于内、外形状需在同一图上兼顾表达的对称机件,如图8-15所示。当机件形状接近对称,且不对称部分已另有视图表达清楚时,也可画成半剖视图,如图8-16a所示。但当机件外形简单或已在其他视图中表达清楚的对称机件也可画成全剖视图,如图8-14c中的左视图上画成全剖视图。

半剖视图的标注方法及省略标注的情况与全剖视图完全相同,如图8-15的主视图和左视图上的半剖视图完全省略了标注,而俯视图上的半剖视图只省略了箭头的标注。
画半剖视图应注意:

(1)半个剖视图与半个视图的分界线应是对称线、回转轴线(用点画线表示)
(2)在表示机件外部结构形状的半个视图上,一般不需要再画虚线。
(3)半剖视图多半画在主、俯视图的右半边,俯、左视图的前半边,主、左视图的上半个。
c) 局部剖视图
用剖切平面局部地剖开机件,所得的剖视图,称为局部剖视图,如图8-17所示。
局部剖视图主要用于当不对称机件的内、外形均需要在同一视图上兼顾表达(如图8-17a )或对称机件不宜作半剖视(分界线是粗实线时)(如图8-18),可采用局部剖视图表达当实心零件上有孔、凹坑和键槽等局部结构时,也常用局部剖视图表达。


局部剖视图中,剖视图部分与视图部分之间应以波浪线为界,此时的波浪线也可当作机件断裂处的边界线。波浪线的画法应注意以下几点:
(1)波浪线不能与图形中其他图线重合,也不要画在其他图线的延长线上。
(2)波浪线不能超出图形轮廓线。
(3)波浪线不能穿空而过,如遇到孔、槽等结构时,波浪线必须断开。图8-19a中
波浪线的画法是错误的。
(4)当被剖切部位的局部结构为回转体时,允许将该结构的回转轴线作为局部剖视
图与视图的分界线,如图8-19b所示。
单一剖切平面的剖切位置明显时,局部剖视图可省略标注,但当剖切位置不明显或局部剖切视图未按投影关系配置时,则必须加以标注,如图8-17a所示。
局部剖视图的剖切范围可大可小,非常灵活,如运用恰当可使表达重点突出,简明清晰。但同一机件的同一视图上局部剖视图的剖切处数不宜过多,否则,会使表达过于凌乱,且会割断它们之间内部结构的联系。

该文章所属专题:机械制图教程
三、 剖切面的种类
由于机件内部结构形状多种多样,故剖切面的种类也不尽相同。为此,国家标准(GB/T17452--1998)规定根据机件的结构特点哭选择以下剖切面剖开机件:
(一) 单一剖切面
用一个剖切面(平面或柱面)剖开机件的方法,称为单一剖切,一般用平行(或垂直)于基本投影面的单一剖切平面剖切。前面介绍的全剖视图、半剖视图和局部剖视图都是用平行于基本投影面的单一剖切平面剖切得到的剖视图。可见用单一剖切平面剖切的方法应用之多,也可用柱面剖切机件,并将其剖视图展开绘制。
(二) 几个平行的剖切平面

用几个平行的剖切平面剖开机件的方法,称为阶梯剖。如图8-20所示的机件,其主视图是用了两个相互平行的且平行于基本投影面(正立投影面)的剖切平面呈阶梯状的剖切。

阶梯剖适用于表达外形简单,内形较复杂,且难以用单一剖切平面剖切表达的机件。
采用阶梯剖的方法画剖视图,必须注意以下几点:
(1)个剖切平面剖切后所得的剖视图是一个图形,不应在剖视图中画出个剖切平面的界线,即转折处不应在剖视图中画出轮廓线,如图8-21d所示的画法是错误的。
(2)剖切平面转折处的剖切符号中的粗短画不应与视图中的轮廓线重合,如图8-21e所示的画法是错误的。
(3)要恰当地选择剖切位置,避免在视图上出现不完整的要素,如图8-21f的剖切位置是错误的。

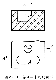
(4)只有当机件在视图上的两个要素具有公共对称线或回转轴线时,可以各剖一半,合并成一个剖视图,此时应以对称线或回转轴线为分界线,如图8-22所示。
采用阶梯剖画剖视图必须标注,其标注方法与单一剖切基本相同。当剖视图按投影关系配置,而中间又无其他图形隔开时,可省略箭头,如图8-21c所示;当转折处的位置有限且不会引起误解时,其转折处允许省略字母,如图8-22所示。
(三) 几个相交的剖切平面
用两个相交的剖切平面(交线垂直于某一基本投影面)剖开机件的方法,称为旋转剖,
如图8-23、图8-24。
当机件内部结构形状用单一剖切平面剖切不能完全表达,而这个机件在整体上又具有垂直于某一基本投影面的回转轴线时,则可用旋转剖表达。

采用旋转剖画剖视图,应注意以下几点:
(1)两相交的剖切平面的交线应与机件上垂直于某一基本投影面的回转轴线重合。
(2) 先假想按剖切位置剖开机件,然后,将被剖切平面剖开的结构及其有关部分旋转到与选定的投影面平行后,再投射画出,以反映被剖切结构的真形,但在剖切平面以后的其他结构一般仍按原来位置投射画出,如图8-23b中的小油孔。
(3)当两相交的剖切平面剖到机件上的结构产生不完整要素时,应将此部分结构按不剖绘制,如图8-25a所示。
图8-26是采用旋转剖画成的局部剖视图。



采用旋转剖画剖视图必须标注,其标注方法与阶梯剖基本相同,但特别要注意的是标注中的箭头所指的方向是与剖切平面垂直的投射方向,而不是旋转方向。有时也可省略箭头,如图8-24a所示。注写字母一律按水平位置书写,字头朝上。
(四) 组合的剖切平面
当机件的内部结构形状较多且复杂,单用阶梯剖和旋转剖仍不能表达清楚时,可以用组合的剖切平面剖开机件,这种方法,称为复合剖,如图8-27所示。
图8-28就是用几个相交的剖切平面剖切机件,采用这种剖切方法画剖视图时,可用展开画法。

采用复合剖画剖视图必须标注,其画法与标注方法与阶梯剖、旋转剖基本相同。

(五) 用不平行与任何基本投影面的剖切平面
用不平行与任何基本投影面的剖切平面剖开机件的方法,称为斜剖,如图8-29中的“B-B”剖视图。
斜剖视图主要用于表达机件上倾斜部位的内部结构。
采用斜剖画剖视图,应注意以下几点:
(1) 剖切平面应与机件倾斜的内部结构平行(或垂直),同时,又必须垂直于某一基本投影面,剖开后向剖切平面的垂直方向投射,并将其旋转到与它所垂直的基本投影面重合后画出,以反映其内部被剖切到的倾斜结构的真形。
(2)斜剖视图最好配置在箭头所指的一侧,以保持直接的投影关系。必要时,可配置在图纸的其他适当位置。在不致于引起误解时,也可将图形旋转放正画出,但这时应在斜剖视图上方正中位置注成“Χ-Χ←”或“→Χ-Χ”形式,以示其名称,如图8-29b中的“B-B←”。
采用斜剖切画剖视图必须标注,其标注方法与以上几种剖切面的标注基本相同,但应特别注意的是注写字母一律按水平位置书写,字头朝上。其中旋转符号的尺寸和比例与斜视图相同,如图8-7所示。
应当指出:采用上述各种剖切面及其组合剖切面画剖视图时,也均可画成全剖视图、半剖视图和局部剖视图,图8-26就是旋转剖画成的局部剖视图。
该文章所属专题:机械制图教程
四、剖视图上的尺寸标注
除前面已讲过的尺寸标注要做到准确、齐全、清晰的要求外,在剖视图上标注尺寸还应注意以下几点:
(1)在半剖视图或局部剖视图上注内部尺寸(如直径)时。其一端不能画出箭头的尺寸线应略过对称线、回转轴线、波浪线(均为图上的分界线),并只在尺寸线的另一端画出箭头,如图8-30、图8-31所注出的尺寸。
(2) 在剖视图上内、外尺寸应分开注,如图8-32的画成全剖视图的主视图中的内、外形尺寸分别注在图的左右两侧,这样,比较清晰,便于看图。

(3)机件上同一轴线的回转体,其直径的大小尺寸应尽量配置在非圆的剖视图上,如图8-32的画成全剖视图的主视图上的各个直径尺寸,应避免在投影为圆的视图上注成放射状尺寸。

该文章所属专题:机械制图教程
1;所有标注为智造资料网zl.fbzzw.cn的内容均为本站所有,版权均属本站所有,若您需要引用、转载,必须注明来源及原文链接即可,如涉及大面积转载,请来信告知,获取《授权协议》。
2;本网站图片,文字之类版权申明,因为网站可以由注册用户自行上传图片或文字,本网站无法鉴别所上传图片或文字的知识版权,如果侵犯,请及时通知我们,本网站将在第一时间及时删除,相关侵权责任均由相应上传用户自行承担。
[complaint:内容投诉]
智造资料网打造智能制造3D图纸下载,在线视频,软件下载,在线问答综合平台 » 机械制图教程—8-2剖视图(图文教程)

