2 图样画法
图样画法—视图应符合GB/T 4458.1-1984、GB/T17451-1998 、GB/T 4458.1-2002的规定。
2.1 图样画法视图的基本要求
a 技术图样应采用正投影法绘制,并优先采用第一角画法。
b 绘制技术图样时,应首先考虑看图方便。根据物体的结构特点,选用适当的表示方法。在完整、清晰地表示物体形状的前提下,力求制图简便(见GB/T 16675. 1)。
c 绘制视图的图线应符合GB/T17450和GB/T4457.4的规定。
d 需进行缩微复制的视图应按照GB/T10609.4的要求绘制。
2.2 视图选择
(1)表示物体信息量最多的那个视图应作为主视图,通常是物体的工作位置或加工位置或安装位置。
(2)当需要其他视图(包括剖视图和断面图)时,应按下述原则选取:
a)在明确表示物体的前提下,使视图(包括剖视图和断面图)的数量为最少;
b)尽量避免使用虚线表达物体的轮廓及棱线;
c)避免不必要的细节重复。
2.3 视图
视图通常有基本视图、向视图、局部视图和斜视图。
2.3.1 基本视图
基本视图是物体向基本投影面投射所得的视图。六个基本视图的配置关系如图所示:

注:在同一张图纸内按上图配置视图时,可不标注视图的名称。
如不能按上图配置视图时,应在视图的上方标出视图的名称“x向” *,在相应的视图附近用箭头指明投影方向,并注上同样的字母。(如向视图)
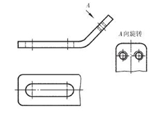
2.3.2 斜视图
斜视图是物体向不平行于基本投影面的平面投射所得的视图。
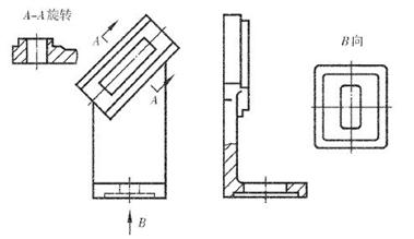
(1)画斜视图时,必须在视图上方标出视图的名称“x向”,在相应的视图附近用箭头指明投影方向, 并注上同样的字母,斜视图通常按向视图的配置形式配置并标注。如图所示:

(2)斜视图一般按投影关系配置,必要时也可配置在其它适当位置。在不致引起误解时,允许将图形旋转,标注形式为“x向旋转”(A向旋转)。也允许将旋转角度标注在字母之后。

2.3.3 局部视图
局部视图是将物体的某一部分向基本投影面投射所得的视图。
局部视图可按基本视图的配置形式配置(如上图中的俯视图);也可按向视图的配置形式配置并标注。画局部视图时,一般在局部视图上方标出视图的名称“x向” ,在相应的视图附近用箭头指明投影方向,并注上同样的字母。

按向视图配置的局部视图
注:①当局部视图按投影关系配置,中间又没有其它图形隔开时,可省略标注。
②局部视图和局部的斜视图的断裂边界应以波浪线表示。当所表示的局部结构是完整的,且轮廓线又成封闭时,波浪线可省略不画。
2.3.4 旋转视图
假想将机件的倾斜部分旋转到与某一选定的基本投影面平行后再向该投影面投影所得的视图。

2.4 剖视
2.4.1 剖视图
假想用剖切面剖开机件,将处在观察者和剖切面之间的部分移去,而将其余部分向投影面投影所得的图形。

2.4.2 剖切面
注:各种剖切面亦适用于画剖面图
(1)单一剖切面
一般用平面剖切机件,也可用柱面剖切机件。采用柱面剖切机件时,剖视图应按展开绘制。

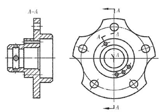
(2)两相交的剖切平面(交线垂直于某一基本投影面)
a)用两相交的剖切平面(交线垂直于某一基本投影面)剖开机件的方法称为旋转剖。

b)采用这种方法画剖视图时,先假想按剖切位置剖开机件,然后将被剖切平面剖开的结构及其有关部分旋转到与选定的投影面平行再进行投影。在剖切平面后的其它结构一般仍按原来位置投影。当剖切后产生不完整要素时,应将此部分按不剖绘制,如图中的臂。

(3)几个平行的剖切平面
用几个平行的剖切平面剖开机件的方法称为阶梯剖。采用这种方法画剖视图时,在图形内不应出现不完整的要素,仅当两个要素在图形上具有公共对称中心线或轴线时,可以各画一半,此时应以对称中心线或轴线为界。

(4)组合的剖切平面
除旋转、阶梯剖以外,用组合的剖切平面剖开机件的方法称为复合剖。

采用这种方法画剖视图时,可采用展开画法,此时应标注“x-x展开”。

(5)不平行于任何基本投影面的剖切平面
用不平行于任何基本投影面的剖切平面剖开机件的方法称为斜剖。采用这种方法画剖视图,在不致引起误解时,允许将图形旋转,标注形式为“x-x旋转”。

该文章所属专题:机械制图标准学习
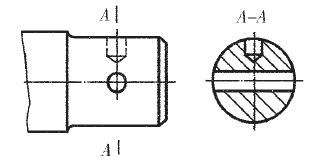
2.4.3 全剖视图
用剖切面完全地剖开机件所得的剖视图。
2.4.4 半剖视图
当机件具有对称平面时,在垂直于对称平面的投影面上投影所得的图形,可以对称中心线为界,一半画成剖视,另一半画成视图。机件的形状接近于对称,且不对称部分巳另有图形表达清楚时,也可以画成半剖视。

2.4.5 局部剖视图
用剖切面局部地剖开机件所得的剖视图。局部剖视图用波浪线分界,波浪线不应和图样上其它图线重合。当被剖结构为回转体时,允许将该结构的中心线作为局部剖视与视图的分界线。
2.4.6 剖切符号
剖切符号(线宽1~1.5b,断开的粗实线)尽可能不与图形的轮廓线相交,在它的起、迄和转折处 应用相同的字母标出,但当转折处地位有限又不致引起误解时允许省略标注。两组或两组以上相交的剖切平面,其剖切符号相交处用大写字母“O”标注。
2.4.7 剖视图的配置
基本视图配置的规定同样适用于剖视图。剖视图也可按投影关系配置在与剖切符号相对应的位置,必要时允许配置在其它适当位置。

2.4.8 剖切位置与剖视图的标注
(1)一般应在剖视图的上方用字母标出剖视图的名称“x-x”。在相应的视图上用剖切符号表示剖切位置,用箭头表示投影方向,并注上同样的字母。
(2)当剖视图按投影关系配置,中间又没有其它图形隔开时,可省略箭头。
(3)当单一剖切平面通过机件的对称平面或基本对称的平面,且剖视图按投影关系配置,中间又没有其它图形隔开时,可省略标注。
(4)当单一剖切平面的剖切位置明显时,局部剖视图的标注可省略。
(5)用几个剖切平面分别剖开机件,得到的剖视图为相同的图形时,可按图33的形式标注。
(6)用一个公共剖切平面剖开机件,按不同方向投影得到的两个剖视图,应按图所示的形式标注。

(7)可将投影方向一致的几个对称图形各取一半(或四分之一)合并成一个图形。此时应在剖视图 附近标出相应的剖视图名称“x-x”。

2.5 剖面
2.5.1 剖面图
假想用剖切面将机件的某处切断,仅画出断面的图形。剖面分为移出剖面和重合剖面。

(1)移出剖面的轮廓线用粗买线绘制。重合剖面的轮廓线用细实线绘制。当视图中的轮廓线与重合剖面的图形重迭时,视图中的轮廓线仍应连续画出,不可间断。
(2)移出剖面应尽量配置在剖切符号或剖切平面迹线的延长线上。剖切平面迹线是剖切平面与投影面的交线,用细点划线表示。剖面图形对称时也可画在视图的中断处。必要时可将移出剖面配置在其它适当的位置。在不致引起误解时,允许将图形旋转,其标注形式如图所示:

(3)由两个或多个相交的剖切平面剖切得出的移出剖面,中间一般应断开。

(4)a)当剖切平面通过回转面形成的孔或凹坑的轴线时,这些结构按剖视绘制。

b)当剖切平面通过非圆孔,会导致出现完全分离的两个剖面时,则这些结构应按剖视绘制。

2.5.2 剖切位置与剖面图的标注
(1)移出剖面一般应用剖切符号表示剖切位置,用箭头表示投影方向,并注上字母,在剖面图的上方应用同样的字母标出相应的名称“X-X”。
(2)配置在剖切符号延长线上的不对称移出剖面,可省略字母。配置在剖切符号上的不对称重合剖面,不必标注字母。不配置在剖切符号延长线上的对称移出剖面,,以及按投影关系配置不对称移出剖面,均可省略箭头。
(3)对称的重合剖面、配置在剖切平面迹线延长线上的对称移出剖面以及配置在视图中断处的对称移出剖面均不必标注。

2.6 局部放大图
将机件的部分结构,用大于原图形所采用的比例画出的图形。局部放大图可画成视图、剖视、剖面,它与被放大部分的表达方式无关。局部放大图应尽量配置在被放大部位的附近。
2.6.1 局部放大图的绘制
(1)绘制局部放大图时,除螺纹牙型、齿轮和链轮的齿形外,应用细实线圈出被放大的部位。当同一机件上有几个被放大的部分时,必须用罗马数字依次标明被放大的部位,并在局部放大图的上方标注出相应的罗马数字和所采用的比例。当机件上被放大的部分仅一个时,在局部放大图的上方只需注明所采用的比例。
(2)同一机件上不同部位的局部放大图,当图形相同或对称时,只需画出一个。

(3)必要时可用几个图形来表达同一个被放大部分的结构。

该文章所属专题:机械制图标准学习
2.7 简化画法
(1)在不致引起误解时,零件图中的移出剖面,允许省略剖面符号,但剖切位置和剖面图的标注必须遵照2.5.2条的规定。

(2)当机件具有若干相同结构(齿、槽等),并按一定规律分布时,只需画出几个完整的结构,其余用细实线连接,在零件图中则必须注明该结构的总数。

(3)若干直径相同且成规律分布的孔(圆孔、螺孔、沉孔等)可以仅画出一个或几个,其余只需用点划线表示其中心位置。在零件图中应注明孔的总数。

(4)对于机件的筋、轮辐及薄壁等,如按纵向剖切,这些结构都不画剖面符号,而用粗实线将它与其邻接部分分开。当零件迥转体上均匀分布的筋、轮辐、孔等结构不处于剖切平面上时,可将这些结构旋转到剖切平面上画出。

(5)在不致引起误解时,对于对称机件的视图可只画一半或四分之一,并在对称中心线的两端画出两条与其垂直的平行细实线。

(6)较长的机件(轴、杆、型材、连杆等)沿长度方向的形状一致或按一定规律变化时,可断开后缩短绘制。

(7)与投影面倾斜角度小于或等于30°的圆或圆弧,其投影可用圆或圆弧代替。
类似如图所示机件上较小的结构,如在一个图形中巳表示清楚时,其它图形可简化或省略。

(8)在不致引起误解时,零件图中的小圆角、锐边的小倒圆或45°小倒角允许省略不画,但必须注明尺寸或在技术要求中加以说明。机件上斜度不大的结构,如在一个图形中巳表达清楚时,其它图形可按小端画出。

(9)在装配图中,对于紧固件以及轴、连杆、球、钩子、键、销等实心零件,若按纵向剖切,且剖切平面通过其对称平面或轴线时,则这些零件均按不剖绘制。如需要特别表明零件的构造,如凹槽、键槽、销孔等则可用局部剖视表示。
(10)在装配图中,可用细实线表示带传动中的带;用点划线表示链传动中的链条。

(11)在装配图中,零件的工艺结构如小圆角、倒角、退刀槽等可不画出。
(12)对于装配图中若干相同的零件组如螺栓连接等,可仅详细地画出一组或几组,其余只需表示装配位置。
(13)在装配图中可以单独画出某一零件的视图。但必须在所画视图的上方注出该零件的视图名称, 在相应视图的附近用箭头指明投影方向,并注上同样的字母。

(14)在装配图中,当剖切平面通过的某些部件为标准产品或该部件巳由其它图形表示清楚时,可按不剖绘制。
(15)在剖视图的剖面中可再作一次局部剖,采用这种表达方法时,两个剖面的剖面线应同方向、同间隔,但要互相错开,并用引出线标注其名称。当剖切位置明显时,也可省略标注。

该文章所属专题:机械制图标准学习
1;所有标注为智造资料网zl.fbzzw.cn的内容均为本站所有,版权均属本站所有,若您需要引用、转载,必须注明来源及原文链接即可,如涉及大面积转载,请来信告知,获取《授权协议》。
2;本网站图片,文字之类版权申明,因为网站可以由注册用户自行上传图片或文字,本网站无法鉴别所上传图片或文字的知识版权,如果侵犯,请及时通知我们,本网站将在第一时间及时删除,相关侵权责任均由相应上传用户自行承担。
[complaint:内容投诉]
智造资料网打造智能制造3D图纸下载,在线视频,软件下载,在线问答综合平台 » 机械制图标准学习-图样画法(图文教程)

