五金模具设计之端子模设计案例
一. 零件工艺分析
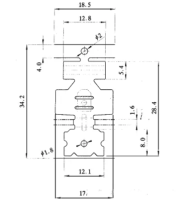
图1 所示为背包式端子, 要求在高速自动冲床上冲压成形, 零件材料为H62 半硬态0. 4mm ×34.2mm 黄铜带料, 同时用户要求在1 副模具上采用更换镶块的办法完成卷圆部分尺寸G 分别为ф4. 5mm、ф3. 3mm、ф2. 8mm 的3 种规格零件的冲压成形。从零件形状分析,零件成形主要由冲裁、弯曲、卷圆、压印和起伏成形等多道工序完成, 可分为3 部分:
① I 处端头倒角、压印和卷圆;
② Ⅱ处R 1. 2mm 双边卷半圆、宽7. 5mmU 形弯曲成形、底部起伏成形和压鼓包;
③ Ⅲ处ф1. 8mm 冲孔、6. 3mm 处叠压弯曲。

图1 端子
经过对零件进行工艺分析, 决定载体设置在零件上, 并在载体上设置了ф2mm 工艺导正孔,同时为增强条料的强度, 在零件的中间设置了桥接式载体。为防止载体在冲制过程中有微小变形, 影响步距精度, 借用了零件本身ф1.8mm 孔进行导正, 以提高送进精度。以下就各部分成形的特点作进一步分析。
Ⅰ处的卷圆采用预弯、U 形弯曲、卷圆成形、整形等成形工艺, 见图1 , 其中前3 道工序如图2所示。由于卷圆直径不同,Ⅰ处和Ⅱ处之间的过渡部分也不同,设计和加工时应注意。Ⅱ处成形需双边卷2 个半圆, 因此采用了预弯、U 形弯曲、双边卷半圆成形、整形4 道工序,前3 道工序见图3。预弯时,θ角应小于60°, 并在凹模上设置相应台阶作为导向,以保证零件在弯曲时对称。预弯的同时进行底部的起伏和鼓包成形, 起伏和鼓包凸模是镶在预弯凹模里的, 主要是考虑到加工方便。在U 形弯曲工步中应尽量把材料形状立起来,此时应注意压紧底部,保证底部的起伏成形不会因此变形而影响材料的立起和形状, 故在U 形弯曲凹模里镶有压紧凸台。Ⅲ处的叠压成形采用了压印、U 形弯曲、弯三角形、压平等工艺,见图4。由于考虑到叠片上的<1.8mm 孔要求不是很高,而如果在叠压后一次冲成, 容易造成废料上跳,在冲压过程中产生不利影响,故在叠压成形之前就先冲好此孔, 叠片两侧在冲外形时亦冲好两半圆。Ⅲ处的双面10°倒角是在完成叠压后倒出。展开尺寸根据冲压手册求得, 并根据实践经验作了适当调整,零件展开图见图5。

图2 卷圆成形工艺
a ——预弯 b ——U 形弯曲 c ——卷圆成形

图3 双边卷半圆成形工艺
a ——预弯 b ——U 形弯曲 c ——双边卷半圆成形

图4 叠压成形工艺
a ——压印 b ——U 形弯曲 c ——弯三角形 d ——压平

图5 零件展开图
二. 排样设计
在排样设计中, 总的原则是先分离后成形, 考虑到模具强度、刚度及结构的合理, 适当增加了空工位。排样图见图6 ,各工步的安排是:
1. 冲导正孔、Ф1. 8mm 孔及两长孔;
2. 导正、压字;
3、4. 落外形;
5、6. 检测、导正、落外形、倒角、压印;
7. 压印、导正;
8. 预弯、底部起伏成形、压凸台、U 形弯曲;
9. 导正、压筋;
10. 空工位(进入第2 组模块) ;
11. 导正、U形弯曲、弯三角形;
12. 导正;
13. 成形, 压平;
14. 整形、倒角;
15、16. 导正、切断中间载体、检测;
16. 导正、预弯;
18. 导正、弯曲成形36°;
19. 导正;
20. 切断;
21. 导正。
为了保证模具安全使用,在第5、16 工位设置了安全检测钉, 送料不到位时, 相应机构会紧急停车, 从而达到保护设备与模具的目的。

图6 排样图
三. 模具设计
1.模具结构
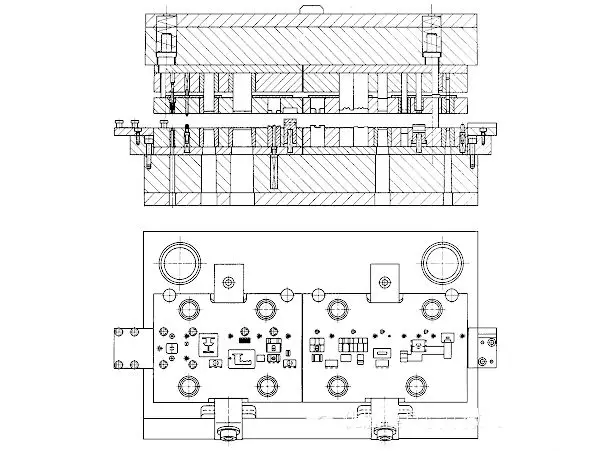
模具结构见图7 , 采用后侧滚珠导柱导套模架。模具由两组子模组成,每组子模有5 块板,并设有4 个内导柱导向,内导柱固定在卸料板上,每组模块还设有4 个卸料螺钉。两组子模靠4个Ф16mm的圆柱销定位, 侧面用压块压住。模具总长为425mm ,两组子模的规格为: 189mm ×136mm、210mm×136mm , 两组模块之间的距离为1mm。
2.凸模设计
为了使条料在成形时始终保持在同一水平, 并保证冲压零件整体变形的协调性, 凸模安装位置有所不同, 分别安装在凸模固定板或卸料板上, 以保证上模下行过程中坯料保持在同一平面,否则会产生二次折弯。凸模的固定一般采用从侧面用螺钉压紧的方法, 也可用键固定和台阶固定的方法。
3.镶块设计
本模具采用了镶拼结构, 相应模板孔用坐标磨床和慢走丝线切割加工, 表面粗糙度值Ra =0. 8μm。根据客户要求,采用了更换镶块完成同类产品不同规格零件加工的方法,因此在凹模板、卸料板和凸模固定板上同时采用了镶拼结构。由于采用了弹性卸料板结构,在冲孔落料工位,卸料板始终压紧凹模镶块,因此在此工位凹模上浮力较小, 故采用了直孔压入方式固定凹模镶块。对于弯曲或其它受上拔力的凹模镶块应考虑采用较牢固的固定方法,如侧向螺钉压紧、台阶固定和压板固定等。对于卸料板上的镶块的固定一定要牢固, 因此采用了部分台阶加后盖板固定的方法。凸模固定板上的镶块采用了台阶及侧销固定。
工位1 处需冲两长孔, 由于孔的尺寸太小, 采用了镶拼结构,以便于线切割加工。此处应注意拼块与模板孔的配合, 取微量的过盈配合, 过盈量为0. 005~0. 01mm, 以保证拼缝密合, 避免冲裁时产生毛刺。

图7 模具结构
工位3、4 是落外形。由于异形凸、凹模形状较复杂,线切割加工过程中小R 角部( R ≤1/ 2 料厚) 容易形成塌角, 造成间隙不均匀, 而且小R 角部在高速冲压时刃口较其它部分磨损更快, 故在加工过程中应注意避免塌角的出现,设计时小R 处的冲裁间隙一般取平直部分冲裁间隙的1. 4 倍。
卸料镶块对凸模起导向保护作用, 对于较复杂的异形孔, 由于存在线切割加工时角部处理不当产生形状误差及配合面较长易产生干涉等问题, 故对于卸料镶块的异形孔应作清根处理。对于非主要的配合面应让开,并减少配合面的高度到合适的位置,即异形孔可由两部分组成, 上面为斜壁部分, 角度取0. 5°~1°,下面为直壁部分。
凹模镶块的异形孔也设计成由两部分组成, 即切刃高度为2~3mm ,以下部分加工出漏料斜度,斜角取1°~2°。
4.抬料装置
工作时条料始终是浮动送进, 以使送料平稳和成形顺利。抬料高度为4mm ,设置的抬料装置有两类:
(1) 抬料钉,共设有12 个,其中1 个在冲导正孔之前,另外11 个安装在导正钉下。
(2) 抬料块,共设有4 个抬料块,这4 个抬料块兼有导料的作用。此外在工位8、18 还设有抬料机构。
5.导正机构
本模具采用锥面导正,导正锥面角度θ取20°~30°。导正方式为弹性导正钉与抬料钉同时使用, 采用此结构在导正时不容易将载体带上卸料板, 而且锥面导正对导正孔的损坏较小。本模具共设有导正钉11 个。
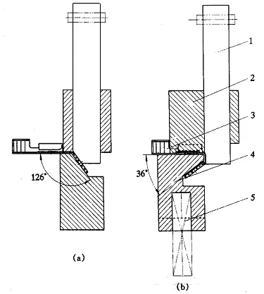
6.弯曲机构设计
工位17、18 的弯曲成形设计是本模具设计的重点, 按常规通常是采用90°弯曲后再用滑块压弯的成形工艺,这种工艺虽成形尺寸能保证,但模具结构复杂,本模具设计了2 道连续弯曲的成形工序,其结构见图8。工位17 是利用凸模和凹模的倾斜角度及凸模的下降高度来弯曲成形,见图8a 。工位18(见图8b) 工作时, 卸料镶块2 先压住工件, 凹模4下行到达底部, 工件被压紧, 凸模1 开始下行, 将工件弯曲成形。凸模上行,凹模在弹簧5 的作用下随卸料板将工件抬离到一定高度,卸料板离开工件,成形完成,条料被顺利送到下一工位。

图8 弯曲装置的结构
四.模具制造注意事项
(1) 凸模固定板、卸料板及凹模板采用Cr12 钢制造,淬火硬度58HRC ; 冲裁工位凸、凹模采用SKD11 钢制造, 淬火硬度62~64HRC ; 弯曲成形工位的凸、凹模选用Cr12MoV , 淬火硬度58 ~62HRC。
(2) 凸模固定板、卸料板及凹模板等关键部件中的异
东莞潇洒职业培训学校目前开设课程有:学历提升、积分入户、数控编程培训、塑胶模具设计培训,压铸模具设计培训、冲压模具设计培训,精雕、ZBrush圆雕培训、Solidworks产品设计培训、pro/E产品设计培训、AutoformR7工艺分析培训,非标自动化设计、PLC编程、工业机器人、CNC电脑锣操机、平面设计等培训课程,潇洒职业培训学校线下、线上等网络学习方式,随到随学,上班学习两不误,欢迎免费试学!
联系电话:13018636633(微信同号) QQ:1740467385
1;所有标注为智造资料网zl.fbzzw.cn的内容均为本站所有,版权均属本站所有,若您需要引用、转载,必须注明来源及原文链接即可,如涉及大面积转载,请来信告知,获取《授权协议》。
2;本网站图片,文字之类版权申明,因为网站可以由注册用户自行上传图片或文字,本网站无法鉴别所上传图片或文字的知识版权,如果侵犯,请及时通知我们,本网站将在第一时间及时删除,相关侵权责任均由相应上传用户自行承担。
[complaint:内容投诉]
智造资料网打造智能制造3D图纸下载,在线视频,软件下载,在线问答综合平台 » 五金模具设计之端子模设计案例

