等高套筒(等高螺丝)
一. 规格系列
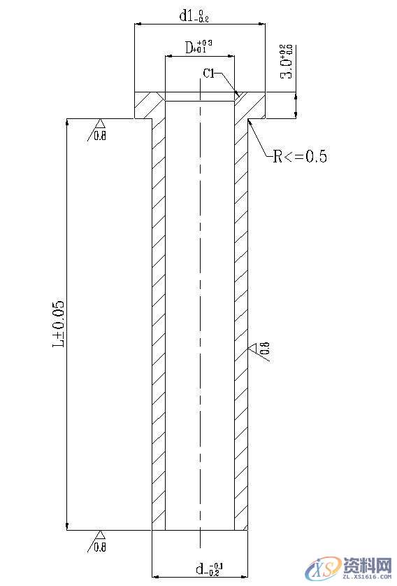
1. 等高套筒之规格详见附件:五金零件规格参考图纸等高套筒
2. 等高螺丝之规格如下所示:

备注:
1.L≦100MM时,长度以5MM为一阶;L>100MM时,长度以10MM为一阶;
2.订购代号:等高螺丝 D*L

二. 选用原则
1. 综合考量活动板的大小以及受力状况,一般优先选用M8或M10的等高套筒;如果空间不够,选用M6的等高套筒;
2. 优先考量活动板行程,相关模板厚度以及标准冲子之长度,再选用套筒长度与之相配;
3. 如果相关长度不是套筒之标准长度,则选用稍长的最接近长度之套筒,此时必须在备注栏里注明套筒之工作长度,由组立现场自行加工;
4. 选用等高螺丝时要请示上级.相关长度不是标准长度时,不宜选用等高螺丝.
三. 排配原则
1. 一般排完其他五金件之后,再排等高套筒;
2. 优先考虑受力重点部位,其次考虑活动板受力均衡平稳;
3. 活动板较大时,套筒孔间距可参照螺丝孔间距;
注:除特别注明外,上述各原则亦适用于等高螺丝.


联系电话:13018636633(微信同号) QQ:1740467385
免责声明:
1;所有标注为智造资料网zl.fbzzw.cn的内容均为本站所有,版权均属本站所有,若您需要引用、转载,必须注明来源及原文链接即可,如涉及大面积转载,请来信告知,获取《授权协议》。
2;本网站图片,文字之类版权申明,因为网站可以由注册用户自行上传图片或文字,本网站无法鉴别所上传图片或文字的知识版权,如果侵犯,请及时通知我们,本网站将在第一时间及时删除,相关侵权责任均由相应上传用户自行承担。
[complaint:内容投诉]
智造资料网打造智能制造3D图纸下载,在线视频,软件下载,在线问答综合平台 » CAD软件五金模具设计标准规范:等高套筒(等高螺丝)使用规范! ...五金模具设计标准规范:等高套筒(等高螺丝)使用规范释义!等高套筒(等高螺丝)一. 规格系列
1;所有标注为智造资料网zl.fbzzw.cn的内容均为本站所有,版权均属本站所有,若您需要引用、转载,必须注明来源及原文链接即可,如涉及大面积转载,请来信告知,获取《授权协议》。
2;本网站图片,文字之类版权申明,因为网站可以由注册用户自行上传图片或文字,本网站无法鉴别所上传图片或文字的知识版权,如果侵犯,请及时通知我们,本网站将在第一时间及时删除,相关侵权责任均由相应上传用户自行承担。
[complaint:内容投诉]
智造资料网打造智能制造3D图纸下载,在线视频,软件下载,在线问答综合平台 » CAD软件五金模具设计标准规范:等高套筒(等高螺丝)使用规范! ...五金模具设计标准规范:等高套筒(等高螺丝)使用规范释义!等高套筒(等高螺丝)一. 规格系列

