最为详细的五金冲压模具设计标准二

一、压线入子设计标准

最为详细的五金冲压模具设计标准二,最为详细的五金冲压模具设计标准(第二更)记得收藏转发!,冲头,第1张

最为详细的五金冲压模具设计标准二,最为详细的五金冲压模具设计标准(第二更)记得收藏转发!,冲头,第2张

二、压线入子设计标准

1.压筋目的

a.减小折弯时的回弹,使折弯尺寸更准确。

b.减小折弯时所产生的拉料变形

2.压筋入子的尺寸要求

压线入子截面形状如图所示。压筋工作部份宽度为0.8~1.2。高度为0.2。当料厚T<0.8时,压筋宽度取0.8mm;当料厚0.8≦T<1.2时,压筋宽度取1.0mm﹔当料厚T≧1.2时,压筋宽度取1.2mm。

最为详细的五金冲压模具设计标准二,最为详细的五金冲压模具设计标准(第二更)记得收藏转发!,冲头,第3张

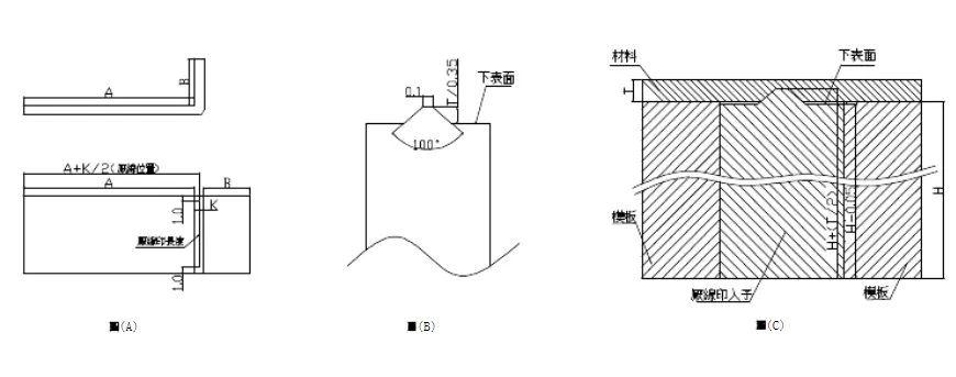
三、压毛边入子设计标准

1.压毛边作用

在产品要求剪切边无毛刺时,压毛边可以倒去冲切时所产生的毛刺。


压毛边可分为两种方式﹕内孔压毛边,如图(A);外形压毛边,如图(B)。其具体尺寸如图(A),(B)所示;产品外形向料内一侧偏移30°即为入子外形。入子高度为模板厚度70%。入子材质用SKD11,热处理HRC60°

最为详细的五金冲压模具设计标准二,最为详细的五金冲压模具设计标准(第二更)记得收藏转发!,冲头,第4张

3.压毛边入子加工方法及工作示意图

A.加工方法

入子外形割好后﹐将入子装入模板孔内﹐周边外形加工﹐具体尺寸如图(C)所示。材料与压毛边配合图(D)

最为详细的五金冲压模具设计标准二,最为详细的五金冲压模具设计标准(第二更)记得收藏转发!,冲头,第5张

B.工作示意图

最为详细的五金冲压模具设计标准二,最为详细的五金冲压模具设计标准(第二更)记得收藏转发!,冲头,第6张

最为详细的五金冲压模具设计标准二,最为详细的五金冲压模具设计标准(第二更)记得收藏转发!,冲头,第7张

最为详细的五金冲压模具设计标准二,最为详细的五金冲压模具设计标准(第二更)记得收藏转发!,冲头,第8张

最为详细的五金冲压模具设计标准二,最为详细的五金冲压模具设计标准(第二更)记得收藏转发!,冲头,第9张

五.弹簧设计标准

一.选用原则:

1.弹簧长度选择一般保証:在开模状态时弹簧的预缩量一般取值2~4mm(如遇特殊情况需加大预压时,视需要来确定压缩值);闭模状态弹簧压缩时小于或等于最大压缩量(最大压缩量LA=弹簧自由长L*最大压缩比取值%).2.复合模外脱板用红(蓝)色簧,内脱板用录(棕)色弹簧。3.冲孔模和成形模用录色或棕色弹簧。

4.卸料,顶料优先选录色或棕色弹簧;如果顶料销所需的顶料力不很大时,可选用红色弹簧或蓝色弹簧。

5.活动定位销一般选用Φ8.0顶料销,配Φ10.0黄色弹簧和M12.0*1.5止付螺丝。

6.弹簧规格优先选用Φ30.0;在空间较小区域考虑选用其它规格(如Φ25.0,Φ20.0,Φ18.0….)。

二.分布原则:

1.弹簧分布排列时,应保証弹簧过孔中心到模板边缘距离大于外径D,与其它过孔距离

保持有5mm以上实体壁厚。

2.弹簧排列首先考虑受力重点部位,然后再考虑整个模具受力均衡平稳。受力重点部

位是指:复合模的内脱料板外形和冲头的周围;冲孔模的冲头周围;成形模的折弯边及有抽牙成形的地方。

3.在内导柱的周围也应均匀的分布弹簧,以保模具运动正常。

三.模板加工孔:

1.弹簧在模板上的过孔,根据弹簧外径不同取值不一样。

直径≧Φ25.0时,过孔取单边大1.0mm,如Φ30.0的弹簧,在模板的过孔为Φ32.0;直径<Φ25.0时,过孔取单边大0.5mm,如Φ20.0的弹簧,在模板的过孔为Φ21.0。2.弹簧过(沉)孔位置尺寸可不用标注;直径尺寸则在注解处说明,精确到小数点后一位

六.预剪装置设计标准

内容

连续模带料部分在最后一站剪切或剪断成形﹐产品要求外观或手可触摸处均无毛边﹐因此要求模具在剪切的前一站进行预剪(即预压毛边)

设计时﹐先要判定毛边的方向﹐确定预剪在上模还是在下模﹐其结构及具体设计尺寸如下﹕

最为详细的五金冲压模具设计标准二,最为详细的五金冲压模具设计标准(第二更)记得收藏转发!,冲头,第10张

七.弯刀固定槽设计标准

弯刀固定槽尺寸要求﹕

1.铣槽深度根据其产品折弯高度而定﹐一般情况夹板槽深(5~8mm)。2.让位槽用Φ10.0的铣刀精铣加工。

3.让位槽清角处理﹐以让位槽的四角点为圆心﹐钻8.0深10.0的孔。

4.为使折弯刀和让位槽有良好的接触﹐在距让位槽边8mm(图示W区域)比让位槽加铣深1.0mm.

5.折弯刀与让位槽各边之间的间隙﹐直接加在图元上。让位槽的工作面不加间隙;非工作面单+0.30mm;

6.让位槽尺寸的标注每边均标注两位小数。

最为详细的五金冲压模具设计标准二,最为详细的五金冲压模具设计标准(第二更)记得收藏转发!,冲头,第11张

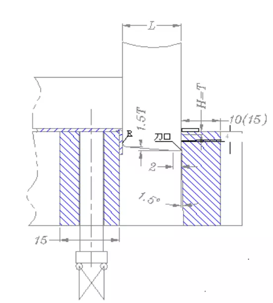
八、切断成型设计标准

最为详细的五金冲压模具设计标准二,最为详细的五金冲压模具设计标准(第二更)记得收藏转发!,冲头,第12张

作业说明:

1.先剪后折刀口高度为一个料厚,斜1.5度,目的是减少冲头同切口之间的接触面,以便减少摩擦。

2.冲头切口底部直2mm,是为了保証刀口强度,防止崩刃。冲头折弯边高度为1.5T,这样可保証先剪断后折边。

我们是知识搬运工,我们是技术传播者!

东莞潇洒职业培训学校开设课程有:CNC数控编程、塑胶模具设计,压铸模具设计、冲压模具设计, Solidworks/pro/E产品设计、AutoformR7工艺分析,非标自动化设计、PLC编程、文职、电商、平面设计、新媒体等培训课程,潇洒职业培训学校线下、线上、随到随学等学习方式,上班学习两不误,欢迎预约免费试学! 

联系电话:18029183455(微信同号)QQ:2799669782

线上免费试学: xsmj.ke.qq.com

免责声明:
1;所有标注为智造资料网zl.fbzzw.cn的内容均为本站所有,版权均属本站所有,若您需要引用、转载,必须注明来源及原文链接即可,如涉及大面积转载,请来信告知,获取《授权协议》。
2;本网站图片,文字之类版权申明,因为网站可以由注册用户自行上传图片或文字,本网站无法鉴别所上传图片或文字的知识版权,如果侵犯,请及时通知我们,本网站将在第一时间及时删除,相关侵权责任均由相应上传用户自行承担。
[complaint:内容投诉]
智造资料网打造智能制造3D图纸下载,在线视频,软件下载,在线问答综合平台 » 最为详细的五金冲压模具设计标准二