我们都知道,模具素有“工业之母”的称号,没有模具就没有强大的装备制造业,更谈不上制造业强国。
今天,小编就带大家了解一下初入模具行业,你应该知道的常识,本文注重讲解注塑模相关知识。
一、模具的分类
- 按成型工艺分:热作模具和冷作模具
- 按成型材料分:金属模具和非金属模具
- 按生产量来分:样件模(简易模)和量产模
- 按模具材料分:软模和硬模
这里介绍以下按成型材料来分的模具类型:
金属材料模分为:铸造模,压铸模,冲压模(折弯,冲孔,落料,拉伸,整形,翻边等),锻造模(热锻,冷镦,滚轧,拉丝,挤压等),粉末冶金模(等静压成型粉末冶金 、金属喷射成型粉末冶金 、粉末锻造粉末冶金 、压力烧结粉末冶金 )等;
非金属材料模分为:塑料成型模(挤塑,吹塑,注塑,压塑,气辅,真空吸塑等),橡胶模,玻璃模,陶瓷模,粉末冶金模(聚四氟乙烯)等。
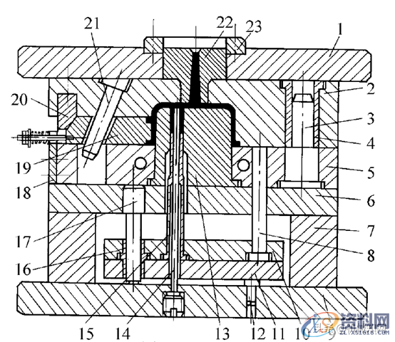
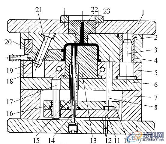
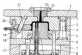
二、注塑模结构:

注塑模结构示意图
注塑模七大系统:浇注系统,导向系统,成型系统,抽芯系统,顶出系统,冷却系统,排气系统。
(1)浇注系统:主流道,分流道,浇口,冷料井。
(2)导向系统:导柱,导套,定位块等。
(3)成型系统:模仁,镶块等。
(4)抽芯系统:滑块,斜销等。
(5)顶出系统:顶针,顶块等。
(6)冷却系统:模具本身的散热,水路冷却。
(7)排气系统:模具各镶件的配合间隙,顶针配合间隙,外加的排气槽。
1、浇注系统:

主流道:塑料从成型机最开始进入到模具流经的地方。
分流道:塑料分别向不同型腔流动所经过的地方。
浇口:塑料在流到型腔前最后流经的地方。
冷料井:塑料在流经主流道,分流道时会和模具传热凝固,在进入型腔前将凝固料储存的地方。
2、导向系统:

导向系统:在模具开、合模过程,由于模具制造的公差,安装的公差,将会使模具有一定的位移,合模时,需要模具能够运行到最原始的位置,就需要导向,定位,也就是模具的导向系统。
3、成型系统:

成型系统:通过公母模仁,入子等形成的封闭的空间。
4、抽芯系统:

滑块抽芯机构

斜销抽芯机构

斜销运动

滑块运动
5、顶出系统:

顶出系统:成型机顶棍顶在模具的顶出板上,顶出版带动顶针,顶块,斜销等将产品从公模或者是母模模仁上推开,使产品脱离模具。
6、冷却系统:

冷却系统:模具本身就是一个大的冷却系统。为了更好的冷却,通常在模具上加工出一组或者几组水路。冷却水路距离产品一般两倍的水路直径。冷却水不一定都是冷水,看模温来定,也可以是100度的水,有的时候需要用热油冷却。
7、排气系统:

排气系统:各个零件之间的配合间隙就是模具的排气系统,当这些间隙不能满足要求时,就需要额外加排气槽排气,如上图所示排气槽。有时,需要在模具的特殊位置用烧结金属(蜂窝煤式金属合金)制作排气入子。
8、其他辅助系统
运输板:在模具的运输、吊装过程中连接公母模,不至于公母模分开的一个小板。

铭牌:标识模具所有权,模具成型零件,模具制造时间,模具厂信息等。

吊模孔:架模时需要起重设备将模具吊起,为此在模板上加工的螺丝孔。单个模板都必须有吊模孔。

吊模孔位置图
三、注塑模成型原理:

成型机示意图
- 烘干的塑料颗粒通过成型机料斗进入成型机料筒;
- 在加热片加热和螺杆旋转产生的剪切热的共同作用下塑料颗粒成为熔融状态;
- 熔融塑胶在成型机机头部分聚集,计量;
- 螺杆停止转动,改为向前平动,挤压塑料熔体;
- 塑胶进入模具浇注系统,然后流到模具成型型腔;
- 通过模具本身热传导以及模具外加的冷却系统使塑胶冷却凝固;
- 冷却完全后,打开模具,成型机的顶出系统将产品顶出,同时成型机螺杆后退开始下一次塑胶熔融计量。
四、常见注塑模具类型
1、两板模

两板模装配图
两板模一般是指在开模的过程中只分成了动模侧和定模侧两半的模具。
两板模的变形,如加弹跳板,控制开模顺序,实现滑块等抽芯机构的延迟开模等。如上图中的5和6之间增加弹簧,在开模过程中,5和6先分开。
两板模的变形,产品需要脱料板从模芯上推出。如上图中,4和5之间增加一块脱料板,将产品从型芯上推出。

2、三板模

三板模装配图

三板模就是在开模的过程中公母模先不分开,而是拨料板(上图2)先和母模板分开,拨料板将料头从产品上脱开,然后公母模分开,顶出产品的模具。
两板模的一些变形,在三板模中也能够应用,不过模具相对比较复杂。
三板模的一个变形就是和两板模的流道结合起来应用。
3、热流道

热流道模具
热流道模具,不看流道系统和两板模基本一样,但是从流道系统来说,热流道算是另一类注塑模具。
热流道分为绝热热流道系统,和加热热流道系统。
(1)绝热热流道,是在流道的周围使用热传导率很低的材料制作,周围用熔融的塑胶保温。
(2)加热热流道,在流道总体上通过感温片,加热片控制流道的温度。
4、双色模
双色模是在一台成型机上通过旋转,平移公模部分,与不同的母模部分合模成型,成型机分别注射同一材质不同颜色或者不同材质的塑料,从而成型出多样性的产品。
双色模具也可以看成是一套普通模具外加一套嵌件模。
两种颜色模具一般都是两套母模仁,一套公模仁。
5、橡胶模
橡胶成型一般有两种形式:注塑和模压成型。
注塑和一般塑料模具相似。
模压成型,多用粉料(直接使用橡胶粉)或块料(预先压制成橡胶垫)。
6、模压成型
模压成型一般分为溢料式和半溢料式,不溢料式。
溢料式不需要进行精确的计量,只需要大概,成型产品密度低,不溢料式需要精确计算用料,成型密度高。半溢料式需要大致计量,一开始溢料,到一定阶段时不再溢料,产品密度较好把握。
我们是知识搬运工,我们是技术传播者!
东莞潇洒职业培训学校开设课程有:CNC数控编程、塑胶模具设计,压铸模具设计、冲压模具设计, Solidworks/pro/E产品设计、AutoformR7工艺分析,非标自动化设计、PLC编程、文职、电商、平面设计、新媒体等培训课程,潇洒职业培训学校线下、线上、随到随学等学习方式,上班学习两不误,欢迎预约免费试学!
联系电话:18029183455(微信同号)QQ:2799669782
线上免费试学: xsmj.ke.qq.com
1;所有标注为智造资料网zl.fbzzw.cn的内容均为本站所有,版权均属本站所有,若您需要引用、转载,必须注明来源及原文链接即可,如涉及大面积转载,请来信告知,获取《授权协议》。
2;本网站图片,文字之类版权申明,因为网站可以由注册用户自行上传图片或文字,本网站无法鉴别所上传图片或文字的知识版权,如果侵犯,请及时通知我们,本网站将在第一时间及时删除,相关侵权责任均由相应上传用户自行承担。
[complaint:内容投诉]
智造资料网打造智能制造3D图纸下载,在线视频,软件下载,在线问答综合平台 » 初入模具行业,需要具备哪些基础知识呢?这篇文章分析得很全面 ...一、模具的分类二、注塑模结构:三、注塑模成型原理:四、常见注塑模具类型

