153型机械密封(图文教程)

    153型机械密封主要尺寸         (mm)

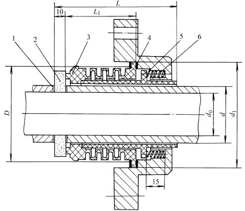
153型机械密封(图文教程),153型机械密封,尺寸,第1张

1、4—辅助密封圈   2—旋转环   3—波纹管静止密封环   5—推套   6—弹簧

规 格

公 称 尺 寸

d0

d

d1

D

L

L1

153-35

25

35

70

60

88

48

153-40

30

40

75

65

91

51

153-45

35

45

80

70

91

51

153-50

40

50

85

75

91

51

153-55

45

55

90

80

91

51

免责声明:
1;所有标注为智造资料网zl.fbzzw.cn的内容均为本站所有,版权均属本站所有,若您需要引用、转载,必须注明来源及原文链接即可,如涉及大面积转载,请来信告知,获取《授权协议》。
2;本网站图片,文字之类版权申明,因为网站可以由注册用户自行上传图片或文字,本网站无法鉴别所上传图片或文字的知识版权,如果侵犯,请及时通知我们,本网站将在第一时间及时删除,相关侵权责任均由相应上传用户自行承担。
[complaint:内容投诉]
智造资料网打造智能制造3D图纸下载,在线视频,软件下载,在线问答综合平台 » 153型机械密封(图文教程)