塑料模具设计教程_8-3管材挤出成型机头(图文教程)

    在挤出成型中,管材挤出的应用最为广泛。管材挤出机头是成型管材的挤出模,适用于聚乙烯、聚丙烯、聚碳酸酯、尼龙、软硬聚氯乙烯等塑料的挤出成型。

8-3-1 管材机头的分类

    管材机头常称为挤管机头或管机头,按机头的结构形式可分为直通式挤管机头、直角式挤管机头、旁侧式挤管机头和微孔流道挤管机头等多种形式。

1. 直通式挤管机头

    直通式挤管机头如图8-1所示,其特点是熔料在机头内的流动方向与挤出方向一致,机头结构比较简单,但熔体经过分流器及分流器支架时易产生熔接痕迹且不容易消除,管材的力学性能较差,机头的长度较大、结构笨重。直通式挤管机头主要用于成型软硬聚氯乙烯、聚乙烯、尼龙、聚碳酸酯等塑料管材。

2. 直角式挤管机头

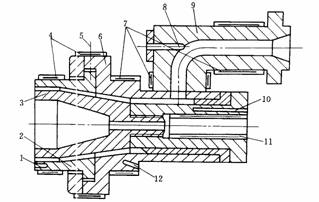
    直角式挤管机头又称弯管机头,机头轴线与挤出机螺杆的轴线成直角,如图8-7所示。直角式挤管机头内无分流器及分流器支架,塑料熔体流动成型时不会产生分流痕迹,管材的力学性能提高,成型的塑件尺寸精度高,成型质量好,缺点是机头的结构比较复杂,制造困难。直角式挤管机头适用于成型聚乙烯、聚丙烯等塑料管材。

塑料模具设计教程_8-3管材挤出成型机头(图文教程),塑料模具设计教程_8-3管材挤出成型机头,塑料模具,第1张

图8-7  直角式挤管机头

1-口模;2-调节螺钉;3-芯棒;4-机头体;5-连接管

3. 旁侧式挤管机头

    如图8-8所示,挤出机的供料方向与出管方向平行,机头位于挤出机的下方。旁侧式挤管机头的体积较小,结构复杂,熔体的流动阻力大,适用于直径大、管壁较厚的管材挤出成型。

塑料模具设计教程_8-3管材挤出成型机头(图文教程),塑料模具设计教程_8-3管材挤出成型机头,塑料模具,第2张

图8-8  旁侧式挤管机头

1、12-温度计插孔;2-口模;3-芯棒;4、7-电热器;5-调节螺钉;6-机头体;8、10-熔料测温孔;9-机头体;11-芯棒加热器

4. 微孔流道挤管机头

    如图8-9所示,微孔流道挤管机头内无芯棒,熔料的流动方向与挤出机螺杆的轴线方向一致,熔体通过微孔管上的微孔进入口模而成型,特别适合于成型直径大,流动性差的塑料(如聚烯烃)。微孔流道挤管机头体积小,结构紧凑,但由于管材直径大,管壁厚容易发生偏心,所以口模与芯棒的间隙下面比上面要小10%~18%,用以克服因管材自重而引起的壁厚不均匀。

塑料模具设计教程_8-3管材挤出成型机头(图文教程),塑料模具设计教程_8-3管材挤出成型机头,塑料模具,第3张

图8-9  微孔流道挤管机头

该文章所属专题:塑料模具设计教程

8-3-2 管材机头的结构设计

    管材机头结构主要由口模和芯棒两部分组成,下面以直通式挤管机头(如图8-1所示)为例介绍机头零件的结构设计。

1. 口模的设计

    口模主要成型塑件的外部表面,主要尺寸分为口模的内径尺寸和定型段的长度尺寸两部分,在设计前,必须的已知条件是所用的挤出机型号、塑料制品的内、外直径及精度要求。

(1)口模的内径D

    口模的内径可按以下公式计算:

D = k ds                                            (8-1)

式中    D——口模的内径,mm;

ds——塑料管材的外径,mm;

k——补偿系数,k的取值可参考表8-5。

由于管材从机头中挤出时,处于被压缩和被拉伸的弹性恢复阶段,发生了离模膨胀和冷却收缩现象,所以k值是经验数据,用以补偿管材外径的变化。

表8-5  补偿系数k取值

塑  料  品  种

内  径  定  径

外  径  定  径

聚氯乙烯(PVC)

0.95~1.05

聚酰胺(PA)

1.05~1.10

聚乙烯(PE)  聚丙烯(PP)

1.20~1.30

0.90~1.05

(2)定型段长度L1

    定型段长度L1一般按经验公式计算,即:

L1 =(0.5~3.0) ds                             (8-2)

或            L1 = nt                                 (8-3)

式中    L1——口模定型段长度,mm;

ds——管材的外径,mm;

t——管材的壁厚,mm;

n——系数,具体数值见表8-6,一般对于外径较大的管材取小值,反之则取大值。

表8-6  定型段长度L1计算系数n

塑料品种

硬聚氯乙烯

(HPVC)

软聚氯乙烯

(SPVC)

聚乙烯(PE)

聚丙烯(PP)

聚酰胺(PA)

系数n

18~33

15~25

14~22

14~22

13~23

2. 芯棒的设计    芯棒成型管材的内表面形状,结构如图13.4中的件4所示,芯棒的主要尺寸有芯棒外径d、压缩段长度L2和压缩角β。

(1)芯棒的外径d    芯棒的外径就是定型段的直径,管材的内径由芯棒的外径决定。考虑到管材的离模膨胀和冷却收缩效应的影响,芯棒的外径可按下列经验公式汁算。

采用外定径时:      d = D-2δ                               (13.4)

式中    d——芯棒的外径,mm;

D——口模的内径,mm;

δ——口模与芯棒的单边间隙,通常取 (0.83~0.94)×管材壁厚,mm。

采用内定径时:           d = d0                                 (13.5)

式中    d0——管材的内径,mm。

(2)压缩段长度L2

    芯棒的长度分为定型段长度和压缩段长度两部分,定型段长度与口模定型段长度L1取值相同,压缩段长度L2与口模中相应的锥面部分构成压缩区域,其作用是消除塑料熔体经过分流器时所产生的分流痕迹,L2值按下列经验公式计算:

L2 = (1.5~2.5) D0                                (13.6)

式中    L2——芯棒的压缩段长度,mm;

D0——过滤板出口处直径,mm。

(3)压缩角β

    压缩区的锥角β称为压缩角,一般在30o~60o范围内选取。压缩角过大会使管材表面粗糙,失去光泽.对于粘度低的塑料,β取较大值,一般为45o~60o;对于粘度高的塑料,β取较小值,一般为30o~50o。

3. 分流器及分流器支架的设计

    分流器的结构如图13.4中的件6所示,熔体经过过滤网后,经过分流器初步形成管状。分流器的作用是对塑料熔体进行分层减薄,进一步加热和塑化。分流器的主要设计尺寸有扩张角α、分流锥面长度L3及分流器顶部圆角R三部分。

(1)分流器扩张角α

    分流器扩张角α的选取与塑料粘度有关,通常取30o~90o。塑料粘度较低时,可取30o~80o;塑料粘度较高时,可取30o~60o。α过大时,熔体的流动阻力大,容易产生过热分解;α过小时,不利于熔体均匀的加热,机头体积也会增大。分流器的扩张角α应大于芯棒压缩段的压缩角β。

(2)分流锥长度L3

    分流锥长度L3按下式计算:

L3 = (0.6~1.5) D0                        (13.7)

式中    L3——分流锥长度,mm;

D0——过滤板出口处直径,mm。

(3)分流器顶部圆角R

    分流器顶部圆角R一般取0.5~2.0mm。

    分流器及芯棒由分流器支架支承,同时对熔料起搅拌作用。分流器的三个部分一般分开加工,然后再装配而成。中小型管材机头芯棒、分流器与分流器支架可制成整体结构,支架上的分流肋应做成流线型,在满足强度要求的前提下,宽度和长度尽可能小些,分流肋的数量应尽可能少。为减少过多的分流痕迹,一般小型机头用3根分流肋,中型的用4根,大型的用6~8根。由于在挤出成型过程中,机头内挤出压力可以达到15MPa,巨大的压力作用在几根分流肋上,如果分流肋的强度不足,很容易发生剪切破坏。

4. 拉伸比和压缩比

(1)拉伸比

    拉伸比是指口模和芯棒在成型区的环隙截面积与管材截面积之比,它反映了在牵引力的作用下,管材从高温型坯到冷却定型后的截面变形情况及纵向取向程度和拉伸强度。影响拉伸比的因素很多,拉伸比因塑料品种不同而异,一般通过实验确定,其值可参考表8-7选取,也可以按式(8-8)计算。

拉伸比的计算公式为:

塑料模具设计教程_8-3管材挤出成型机头(图文教程),塑料模具设计教程_8-3管材挤出成型机头,塑料模具,第4张                           (8-8)

式中    I ——拉伸比;

D、d——分别为口模内径、芯棒外径;

Ds、ds——分别为塑料管材的内径和外径,mm。

表8-7  常用塑料的许用拉伸比

塑料品种

硬聚氯乙烯

(HPVC)

软聚氯乙烯

(SPVC)

聚碳酸酯(PC)

ABS

高压聚乙烯(PE)

低压聚乙烯(PE)

聚酰胺(PA)

拉深比

1.00~1.08

1.10~1.35

0.90~1.05

1.00~1.10

1.20~1.50

1.10~1.20

0.90~1.05

 

(2)压缩比

    压缩比是指机头和多孔板相接处最大料流截面积与口模和芯模间成型区的环形间隙面积之比。机头模腔内应有足够的压缩比,它反映了挤出成型过程中塑料熔体的压实程度。压缩比值随物料的特性而异,对于低粘度塑料,压缩比取4~10,对于高粘度塑料,压缩比取2.5~6.0。

 8-3-3 定径套的设计

    管材从口模中挤出后,温度仍然较高,由于自重及离模膨胀效应的结果,会产生变形,因此必须采取冷却定型措施,以保证管材的尺寸和形状精度及良好的表面质量。定径套的作用是保证管材冷却后其外径或内径应达到规定的尺寸公差范围及获得良好的表面质量。

     定径法有内径定径和外径定径两种方法,我国塑料管材标准常采用外径定径法。

1. 外径定径法

    外径定径法适用于直通式机头和微孔流道式机头,可分为内压法定径和真空吸附法定径。

塑料模具设计教程_8-3管材挤出成型机头(图文教程),塑料模具设计教程_8-3管材挤出成型机头,塑料模具,第5张

图8-10  外径定径原理

(1)内压法定径

    如图8-10a所示,工作时在塑料管内部通人压缩空气(0.02~0.28MPa),形成一定的内压,使热的塑料管在压缩空气的作用下紧贴定径套的内壁而定型。为防止压缩空气泄漏,可用堵塞密封防止漏气。这种定径方法的特点是定径效果好,适用于直径较大的管材。

(2)真空吸附法定径

    如图8-10b所示,工作时将管坯与定径套间抽成真空,造成塑料管在负压作用下紧贴定径套的内壁而定型。真空度通常取50~70kPa,抽真空孔孔径取0.6~1.2 mm,塑料粘度大或管材壁厚较厚时取大值,反之取小值。真空定径套与机头口模不能连接在一起,应留有30~100mm的间距。这种定径方法的特点是管材表面质量高,粗糙度低,尺寸精度高,壁厚均匀性好,产品的内应力小。

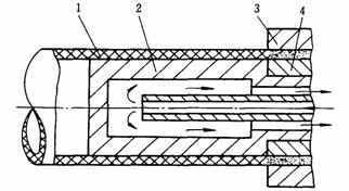
2. 内径定径法

    内径定径法适用于直角式机头和旁侧式机头,定径形式如图8-11所示。由于管材与定径套直接接触而冷却定型,因此该定径方法的特点是能够保证管材内孔的圆度,内径尺寸准确,而且模具结构简单,操作方便,多用于聚乙烯、聚丙烯、聚酰胺等塑料的挤出成型。

塑料模具设计教程_8-3管材挤出成型机头(图文教程),塑料模具设计教程_8-3管材挤出成型机头,塑料模具,第6张

图8-11 内径定径原理

l-管材;2-定径套;3-机头;4-芯棒

3. 定径套的结构尺寸

    定径套是定型装置中的关键部件,直接影响管材的定型质量。定径套的尺寸包括内径和长度两部分,定径方法不同,其计算方法也不同。

    定径套内径应比管材外径放大0.8~1.2%,或比机头口模内径大2~4%。定径套的长度取决于塑料的品种、管材的尺寸、挤出速度、冷却效果及热传导性能。定型长度过长,会使挤出机辅机的牵引功率增大,同时,管材的内应力增大,表面质量降低;定型长度过短,会造成冷却不充分,管材容易发生变形或破裂。内径定径法的定径长度通常取80~300mm;外径定径法的定径长度通常小于管材外径尺寸的10倍,如果管材直径大于100mm时,定径套的长度还应再短些,通常可取管材外径尺寸的3~5倍。

该文章所属专题:塑料模具设计教程

免责声明:
1;所有标注为智造资料网zl.fbzzw.cn的内容均为本站所有,版权均属本站所有,若您需要引用、转载,必须注明来源及原文链接即可,如涉及大面积转载,请来信告知,获取《授权协议》。
2;本网站图片,文字之类版权申明,因为网站可以由注册用户自行上传图片或文字,本网站无法鉴别所上传图片或文字的知识版权,如果侵犯,请及时通知我们,本网站将在第一时间及时删除,相关侵权责任均由相应上传用户自行承担。
[complaint:内容投诉]
智造资料网打造智能制造3D图纸下载,在线视频,软件下载,在线问答综合平台 » 塑料模具设计教程_8-3管材挤出成型机头(图文教程)