挤出成型模具必须安装在与其相适应的挤出机上才能进行生产。进行挤出模具结构设计时,必须要考虑挤出机的技术参数、机头与挤出机的连接形式等,这样所选用的挤出机才能满足模具设计和成型工艺的要求。
8-2-11 挤出机的分类及结构组成
1.挤出机的分类
挤出成型的塑料品种及塑件形状的不断变化和发展,对挤出机的性能要求越来越高,挤出机的类型也日益增多,其分类方法主要有以下几种:
(1)按螺杆数目分类
可分为单头螺杆挤出机(如图8-2所示)和双头螺杆挤出机(如图8-3所示)等。
(2)按挤出机中是否有螺杆存在
可分为螺杆式挤出机和柱塞式挤出机(如图8-4所示)。
(3)按螺杆的转动速度
可分为普通型挤出机(转速在100r/min以下)、高速挤出机(转速在100~300r/min)和超高速挤出机(转速在300~1500r/min)。
(4)按挤出机中螺杆所处的空间位置
可分为卧式挤出机(如图8-2和8-3所示)和立式挤出机(如图8-4所示)。
(5)按在加工过程中是否排气
可分为排气式挤出机(可排除物料中的水分、溶剂及不凝气体等)和非排气式挤出机。
目前,应用最广泛的是卧式单螺杆非排气式挤出机。
2. 挤出机的结构组成
挤出机由主机、辅机及控制系统三部分组成。
(1)主机
主机由以下几部分组成:
1)挤出系统
主要由螺杆和料筒组成,是挤出机的心脏,完成对塑料的塑化和挤出工作。塑料经过挤出系统塑化成均匀的熔体,并在挤出过程中所建立的压力下,连续、定量、定压、定温通过挤出机头。
2)传动系统
传动系统的作用是驱动螺杆旋转,保证螺杆在工作过程中所需要的扭矩和转速,它由各种大小齿轮、传动轴、轴承及电动机组成。
3)加热冷却系统
其作用是对料筒(或螺杆)进行加热和冷却,以保证挤出成型过程在工艺要求的温度范围内进行。

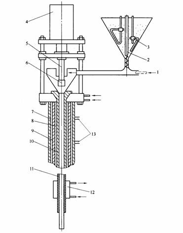
图8-2 单螺杆挤出机示意图
1-机头连接法兰;2-过滤板;3-冷却水管;4-加热装置;5-螺杆;6-料筒;
7-液压泵;8-测速电机;9-轴承;10-料斗;11-变速箱;12-螺杆冷却装置

图8-3 双螺杆挤出机示意图
1-挤出机法兰;2-过滤板;3-料筒;4-加热装置;5-螺杆;6-视窗;7-料斗; 8-调节臂;
9-轴承;10-变速箱;11-电机

图8-4 柱塞式立式挤出机示意图
1-压缩空气;2-加料螺杆;3-搅拌器;4-液压缸;5-柱赛杆;6-柱赛头;7-绝热层;
8-加热器;9-加热器支承管;10-模管;11-制件;12-冷却水;13-热电偶
(2)辅机
成型塑件的形状不同,挤出机辅机的组成也不同,辅机一般由以下几个部分组成:
1)冷却装置
由定型装置出来的塑料在此得到充分的冷却,获得最终的形状和尺寸。
2)牵引装置
牵引装置的作用是均匀地牵引制件,保证挤出过程连续,并对制件的截面尺寸进行控制,使挤出过程稳定地进行。
3)切割装置
其作用是将连续挤出的制件切成一定的长度或宽度。
4)卷取装置
其作用是将软制件(如软管、单丝等)卷绕成卷。
(3)控制系统
挤出机的控制系统是由各种电器、仪表和执行机构组成,它控制挤出机组的主机、辅机、驱动液压缸(或气缸)和其它各种执行机构,以满足挤出工艺所要求的转速和功率;保证主、辅机能协调地运行;检测和控制主、辅机的温度、压力、流量和制件的质量,实现整个挤出机组的自动控制。
8-2-2 挤出机工艺参数的校核
设计挤出机头时必须对以下项目进行校核:
1. 校核机头与挤出机的连接形式
机头与挤出机的连接形式如图8-5所示。机头用螺纹连接安装在机头法兰上,而机头法兰与机筒法兰是用铰链螺钉固定的。挤出机的型号不同,安装机头部位的法兰盘结构尺寸也不相同,因此必须校核挤出机法兰盘的结构形式与尺寸、铰链螺钉长度、连接螺钉(栓)直径及分布数量等。

图8-5 机头与设备的连接形式
l-机头法兰;2-铰链螺钉;3-挤出机法兰;4-过滤板;5-螺杆;6-机筒;7-螺钉;8-定位销
图8-6所示为快速更换机头的一种连接形式。更换机头时,液压动力推动锁紧环2旋转,使螺纹部分松开,当旋转到开槽部位与右卡紧环的凸起部对准时,右卡紧环可绕铰链座上的铰链轴转动,退出锁紧环,这时可将机头移到右侧去清洗,然后换上已清洗好的左卡紧环(使左卡紧环的凸起对正锁紧环的开槽后,左卡紧环即可装入锁紧环中),液压动力转动锁紧环2,使左卡紧环锁紧,即可连续供料。

图8-6 快速更换机头的连接形式
1-铰链座;2-锁紧环;3-固定套;4-过滤板;5-口模;6-测温器;7-手柄
2. 校核过滤板和过滤网的安装配合尺寸
为了安装过滤板和过滤网,必须校核过滤板和过滤网的安装配合尺寸。安装时,过滤板的端部必须压紧,否则会漏料。
表8-4为部分国产挤出机的主要技术参数
表8-4 部分国产挤出机的技术参数
序号 | 螺杆直径/mm | 长径比 (L/D) | 产量/(kg/h) | 电机功率/kw | 加热功率(机身) /kw | 中心高/mm | |
HPVC | SPVC | ||||||
1 | 30 | 15 20 25 | 2~6 | 2~6 | 3/1 | 3 4 5 | 1000 |
2 | 45 | 15 20 25 | 7~18 | 7~18 | 5/1.67 | 5 6 7 | 1000 |
3 | 65 | 15 20 25 | 15~33 | 16~50 | 15/5 | 10 12 16 | 1000 |
4 | 90 | 15 20 25 | 35~70 | 40~100 | 22/7.3 | 18 24 30 | 1000 |
5 | 120 | 15 20 25 | 56~112 | 70~160 | 55/18.3 | 30 40 45 | 1100 |
6 | 150 | 15 20 25 | 95~190 | 120~280 | 75/25 | 45 60 72 | 1100 |
7 | 200 | 15 20 25 | 160~320 | 200~480 | 100/33.3 | 75 100 125 | 1100 |
该文章所属专题:塑料模具设计教程
1;所有标注为智造资料网zl.fbzzw.cn的内容均为本站所有,版权均属本站所有,若您需要引用、转载,必须注明来源及原文链接即可,如涉及大面积转载,请来信告知,获取《授权协议》。
2;本网站图片,文字之类版权申明,因为网站可以由注册用户自行上传图片或文字,本网站无法鉴别所上传图片或文字的知识版权,如果侵犯,请及时通知我们,本网站将在第一时间及时删除,相关侵权责任均由相应上传用户自行承担。
[complaint:内容投诉]
智造资料网打造智能制造3D图纸下载,在线视频,软件下载,在线问答综合平台 » 塑料模具设计教程_8-2挤出模与挤出机的关系(图文教程)

